Maxhub UCS10 Integrated Video Conference Terminal
Note: The product images are for illustrative purposes only and may slightly differ in appearance, color, size, etc. from the actual product.
Safety Warning and Precautions
Before using and operating this device, please read thoroughly and comply with the following precautions in order to prevent accidents or abnormal operations.
Operating Environment
- Do not place the product in dusty and humid environments in case of an internal short circuit.
- Do not place the product near heating devices(such as electrical heaters).
- The operating temperature is 0-40℃, operating humidity is
10%-90%RH. Please use the product accordingly.
Children Safety
The product and accessories may contain some small parts. Please keep them from children to avoid accidental swallowing or danger.
Power supply
Please use the standard power adapter.
Keep Dry
The product is NOT waterproof. Please keep it dry.
Maintenance
- Please contact technical support for maintenance services.
- Do NOT insert any sharp or pointed object into the device.
- Prevent the device from falls and collisions with other objects, which may cause damage.
Statement
- Intellectual property right statement: The patents cover the hardware design and software of this product. Anyone reproduces the product or the contents of this instruction without prior written permission from the Company shall be liable to legal prosecutions.
- The description, illustrations, etc. in this document may subject to change per the latest product specification and performance.
- The product images are for illustrative purposes only and may slightly differ in appearance, colour, size, etc. from the actual product.
- The Company reserves the rights to improve and change the appearance and design of the product without notice.
NOTE: Users may find the type approval code of this product on the product’s nameplate.
Accessories introduction
Please check the following items in the product box:
- HDMI cable x1
- USB cable ×1
- Battery ×2
- Peeping cover x1
- Wall-mounted components x1
- Power adapter ×1
- Remote control x1
- Warranty card ×1
- User Manual ×1
- Quick Use Guide ×1
Product Function
Please familiarize yourself with the interface and buttons of the device before using this device. 
- HDMI OUT: Connect to the devices with the HDMI input function
- POWER : Tap to enter energy-saving, press and hold for at least 2 seconds to enter standby mode
- AUX IN/OUT: Used for external audio equipment
- 3.0:USB 3.0, used for upgrading and connecting with external mouse/keyboard
- LAN: Connect RJ45 terminals
- 2.0:Device can be connected to a computer through a USB Type-A to Type-C data cable, providing the computer with camera, microphone and speaker
- DC:Used for 12V power input power supply
- Camera:Shooting performance
- Hanging components
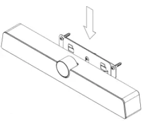
Mounting
- Placed directly on the desktop.
- Wall-mounted: Fix the bracket onto the wall with screws, then place the integrated video conferencing terminal onto the bracket.

- Use with tablet:Fix the bracket onto the supporting bracket with screws, then place the integrated video conferencing terminal onto the bracket.
Note: The connection of different samples may slightly differ. Please refer to the actual product.
Quick Start
- Please use HDMI cable to connect this product to the monitor.
- To turn on the device, press the power button on the back of the product or use remote control.
- For the first use, please complete the network connection and device activation during device boot.
- After successful activation, this product function would be fully functional.
Federal Communication Commission Interference Statement
This equipment has been tested and found to comply with the limits for a Class B digital device, pursuant to Part 15 of the FCC Rules. These limits are designed to provide reasonable protection against harmful interference in a residential installation. This equipment generates, uses, and can radiate radio frequency energy and, if not installed and used in accordance with the instructions, may cause harmful interference to radio communications. However, there is no guarantee that interference will not occur in a particular installation. If this equipment does cause harmful interference to radio or television reception, which can be determined by turning the equipment off and on, the user is encouraged to try to correct the interference by one or more of the following measures:
- Reorient or relocate the receiving antenna.
- Increase the separation between the equipment and receiver.
- Connect the equipment into an outlet on a circuit different from that to which the receiver is connected.
- Consult the dealer or an experienced radio/TV technician for help.
FCC Caution:
This device complies with Part 15 of the FCC Rules. Operation is subject to the following two conditions:
- This device may not cause harmful interference, and
- This device must accept any interference received, including interference that may cause undesired operation.
Caution: The user is cautioned that changes or modifications not expressly approved by the party responsible for compliance could void the user’s authority to operate the equipment.
This equipment complies with FCC radiation exposure limits set forth for an uncontrolled environment. This equipment should be installed and operated with a minimum distance of 20cm between the radiator and any part of your body.
Non-modification Statement:
Changes or modifications not expressly approved by the party responsible for compliance could void the user’s authority to operate the equipment.
IC Radiation Exposure Statement for Canada
This device contains licence-exempt transmitter(s)/receiver(s) that comply with Innovation, Science and Economic Development Canada’s licence-exempt RSS(s). Operation is subject to the following two conditions:
- This device may not cause interference.
- This device must accept any interference, including interference that may cause undesired operation of the device.
This equipment complies with ISED RSS-102 radiation exposure limits set forth for an uncontrolled environment. This equipment should be installed and operated with a minimum distance of 20cm between the radiator and any part of your body.
The device for operation in the band 5150–5250 MHz is only for indoor use to reduce the potential for harmful interference to co-channel mobile satellite systems



Note: The connection of different samples may slightly differ. Please refer to the actual product.


















