Sino can Technologies S5VB1 Integrated Video Conference Terminal

Note: The product images are for illustrative purposes only and may slightly differ in appearance, colour, size, etc. from the actual product.
Safety Warning and Precautions
Before using and operating this device, please read thoroughly and comply with the following precautions in order to prevent accidents or abnormal operations.
- Operating Environment
- DO NOT place the product in dusty and humid environments in case of internal short circuit.
- DO NOT place the product near heating devices(such as electrical heater).
- Operating temperature is 0-40℃, operating humidity is 10%-90%RH. Please use the product accordingly
- Children Safety
The product and accessories may contain some small parts. Please keep them from children to avoid accidental swallowing or danger. - Power supply
Please use the standard power adapter. - Keep Dry
The product is NOT waterproof.Please keep it dry. - Maintenance
- Please contact technical support for maintenance services.
- DO NOT insert any sharp or pointed object into the device.
- Prevent the device from falls and collisions with other objects,which may cause damages.
Statement
- Intellectual property right statement: The patents cover the hardware design and software of this product. Anyone reproduces the product or the contents of this instruction without prior written permission from the Company shall be liable to legal prosecutions.
- The description, illustrations, etc. in this document may subject to change per the latest product specification and performance.
- The product images are for illustrative purposes only and may slightly differ in appearance, colour, size, etc. from the actual product.
- The company reserves the rights to improve and change the appearance and design of the product without notice.
Note: Users may find the type approval code of this product on the product’s nameplate.
Product function
Please familiarize yourself with the interface and buttons of the device before using this device.
- HDMI OUT: Connect to the devices with HDMI input function.
- POWER: Press the button to turn it on, press and hold for at least 2 seconds to enter standby mode.
- AUX IN/OUT: Used for external audio equipment.
- 3.0:USB 3.0, used for upgrading and connecting with external mouse/keyboard.
- LAN: Connect RJ45 terminals.
- 2.0:Can be connected to a computer through a USB Type-A to Type-C data cable, providing the computer with camera, microphone and speaker.
- DC: Used for 12V power input power supply.
- Camera: High-performance camera.
- Wall-mounted components.
Mounting
- Place on the desktop.
- Wall-mounted: Fix the bracket onto the wall with screws,
then place the integrated video conference terminal onto the bracket.
Note: The connection of different samples may slightly differ. Please refer to the actual product.
Quick Start
- Please use HDMI cable to connect this product to the monitor.
- To turn on the device, press the power button on the back of the product or use remote control.
- After successful startup, the product functions can be used.
Accessories introduction
Please check the following items in the product box.
| HDMI cable x1 | Wall-mounted components x1 |
| Peeping cover x1 | Power adapter×1 |
| Battery×2 | Remote control x1 |
| User manual x1 | *USB cable×1 |
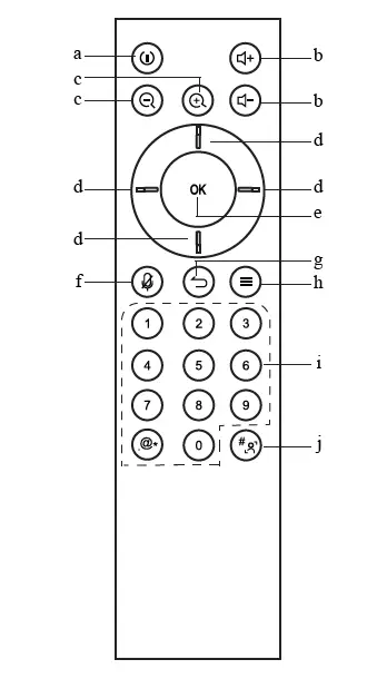
Remote Control
- Power Button, press to start the power off countdown. Press and hold for 2 seconds to power off.
- Volume Button, press to adjust the system volume.
- Digital Zooming, press to digitally zoom the camera.(Available only when auto framing is disabled.) After zooming in, the direction button may move the camera image.
- Direction Button: Press the direction buttons for selection.
- OK Button: Confirm the selection. During digital zooming, press this button would restore the default view.
- Mute Button, press the turn on or off the microphone.
- Return Button: Press to return to the previous menu or quit an app.
- Menu Button, press to invoke the menu in different interfaces.
- Number keys and: Number Buttons, press to input the numerals.
- # & Auto Framing Button, press to type in “#”.
In the video conference interface or when the camera is turned on, press and hold to enable/disable the auto framing feature. (” ” means open, ” ” Means off.)
Presets
- In the video conference interface or when the camera is turned on, can set and switch the presets in settings. (Available only when auto framing is disabled).
- Press and hold the number button “1/2/3” for 2 seconds to save the current view as a preset.
- Each preset may including zooming level, viewing angle information. Up to three presets are supported.
- Press 1/2/3 to switch amongst the presets.
FCC WARNING
This device complies with Part 15 of the FCC Rules. Operation is subject to the following two conditions:
- this device may not cause harmful interference, and
- this device must accept any interference received, including interference that may cause undesired operation. Changes or modifications not expressly approved by the party responsible for compliance could void the user’s authority to operate the equipment.
NOTE: This equipment has been tested and found to comply with the limits for a Class B digital device, pursuant to Part 15 of the FCC Rules. These limits are designed to provide reasonable protection against harmful interference in a residential installation. This equipment generates, uses and can radiate radio frequency energy and, if not installed and used in accordance with the instructions, may cause harmful interference to radio communications. However, there is no guarantee that interference will not occur in a particular installation.If this equipment does cause harmful interference to radio or television reception, which can be determined by turning the equipment off and on, the user is encouraged to try to correct the interference by one or more of the following measures:
- Reorient or relocate the receiving antenna.
- Increase the separation between the equipment and receiver.
- Connect the equipment into an outlet on a circuit different from that to which the receiver is connected.
- Consult the dealer or an experienced radio/TV technician for help.
FCC RF warning statement:
This equipment must be installed and operated in accordance with provided instructions and the antenna(s) used for
this transmitter must be installed to provide a separation distance of at least 20 cm from all persons and must not be co-located or operating in conjunction with any other antenna or transmitter. End-users and installers must be provided with antenna installation instructions and transmitter operating conditions for satisfying RF exposure compliance.

Note: The connection of different samples may slightly differ. Please refer to the actual product.

















