RigPix
Instruction Manual
FLOB
FL-50B SSB TRANSMITTER
The model FL-50B SSB Transmitter is a compact, high-performance desktop amateur transmitter with CW, AM and SSB modes. On all modes, except AM, this transmitter works at an input of 50 watts PEP on all bands from 80 to 10 meters. AM consists of a transmitted carrier and one sideband. The SSB signal is generated by a crystal filter.
SPECIFICATIONS
| Emission type | SSB (A3J) (A3A) PHONE (A3H) CW (A1) |
| Input power | 50W PEP |
| Frequency range | 3.5-4.0, 7-7.5, 14-14.5, 21-21.5, 28-30 MHz |
| Antenna impedance | 50 – 75 ohms |
| Carrier suppression | -40 dB |
| Sideband subpression | -40 dB (1500 CPS) |
| Spurious radiation | -40 dB |
| Audio bandwidth | 300 – 2700 CPS 4-3 dB |
| Operation | Manual, P.T.T., Break-in keying |
| Microphone | High impedance (50K ohms) |
| Power requirement | 220V AC 50/60 CPS 130VA |
| Dimension | 334 m/m Wide, 153 m/m High, 262 m/m Deep |
| Weight | 7 kg |
BLOCK DIAGRAM

CIRUIT DESCRIPTION
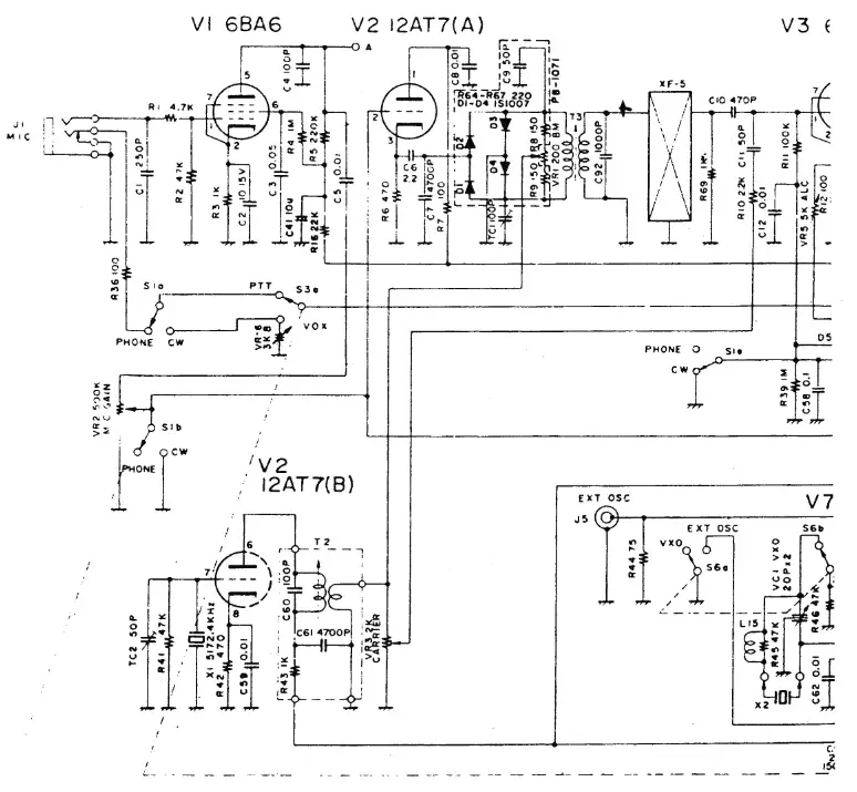
The output of carrier oscillator V2, 12AT7 is injected to the balanced modulator, and audio signal from microphone amplifier Vl, 6BA6 is applied to the balanced modulator through cathode follower V2, 12AT7.
This signal then passes through a crystal filter which eliminates lower sideband thus resulting in a USB signal at a carrier frequency of 5172.4 ke.
The 5 Me signal after passing through the filter is amplified by IF amplifier tube V3, 6BA6, thence to grid of mixer tube V4, 6CB6 together with local oscillator signal. The resultant mixed fre- quencies appear at plate tuned circuit of the mixer and is the transmitting output signal frequency.
The local signal from V7, deve is subtractively mixed with the US3 the signal from IF amplifier stage to result in LSB operation on 40 and 80 meters, and the frequencies are additively mixed resulting in output on the opposite sideband on 20, 15 and 10 meters.
Determination of local crystal frequencies:-
For 40 and 80 meters
Transmitting frequency + 5172.4 = Crystal frequency in xe For 20, 15 and 10 meters
Transmitting frequency — 5172.4 = Crystal frequency in Ke
Use fundamental crystal for 80 and 20 meters, 3 for 40 and 5 for 15 and 10 meters.
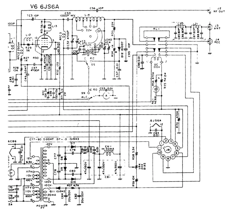
For AM and CW operation, the carrier signal is injected to the grid circuit of the mixer tube through carrier control potentiometer. This signal is amplified by V5, 12BY7 tuned driver and finally to power amplifier tube V6, 6JS6A, and antenna. The power amplifier tube operates in class AB2 for maximum power output.
The AC audio component of PA grid current, when overdriven by signal peaks, is rectified by diodes D5/D6 to provide an ALC (automatic level control) voltage into the IF amplifier stage thus reducing its gain and maintaining low distortion.
The PA PI network plate circuit provides attenuation to the higher order harmonics and enables easy, flexible adjustment of impedance matching to the antenna feedline.
On CW, manual or break-in keying methods are available. On phone, Push-To-Talk control is available. VOX control can be installed me §*3t1ywetratan tr #tAte manual

OPERATION
Function of Goerating Controls
- OPEC …………. Selects functions of calibration, receiving and transmitting operation.
- MID ………..Microphone jack. 3 contact 7.P.S. type.
- PULL LC IC SAIN Potentiometer controls microphone gain and switch selects meter to ALC indication.
- UXO 1… ace. esses. Knob Shifts crystal frequency few kilocycles.
- BAND …………. Band switch.
- CRYSTAL SOCKET … For crystal control, use HC-6U type crystal and frequency calculation is given on page 2.
- EXT. O8C ……… Selects crystal or external VFO control.
- GRID …………. Tunes driver, mixer, and local oscillator plate circuit.
- PA TUNE ………. P.A. plate tuning.
- LOADING ………. BA. plate loading.
- METER
- POWER ……0002.. AC Dower switch
- VOX-PTT ………. Select push-to-talk or break-in CW keying. VOX is optional.
- PO-IC ………… Switches meter function.
- CARRIER becseeeees Carrier level control for CW and AM,
- MODE ………..-. Select operation modes.
- ON AIP ……….. Indicates transmission.
- GND ………….. Earth terminal.
- RF OUT ……….. 3V RF output.
- PEC …..-…….. Connector for receiver.
- ANT ………….. Antenna terminal.
- EXT. OSC ……… Terminal for external VFO
- REMOTE ………. Accessory socket.
- BIAS ………… Adjusts Bias on PA tube.
- ALC …………. Adjusts ALC meter zero setting.
- KEY ……2…2.. Key jack for CW operation.
- SUSE ………2.. 2A.
Initial Adjustment
Set controls as shown below:-
POWER 3 OFF
OPER: STAY
MIC GAIN: Fully counter-clockwise and push down
BAND: Desired band
GRID: 12 o’clock position
PA TUNE: Desired band
LOADING: Minimum loading
METER SWITCH: IC
PTT-VOX: PTT
CARRIER: SSB
MODE : PHONE
Insert the crystal given from the formula into the crystal socket and place the crystal switch toward the crystal socket. When external VEO or receiver VFO is used instead of crystal, the crystal switch should be placed toward EXT.OSC.
The accessory slug must be in its socket to supply heater voltage to final tube.
Connect a dummy load tthe o antenna terminal on the rear apron of the chassis. .
- Turn on power switch and wait for warm-up.
- Set OPER switch OPER position. The meter shows approximately 60mA. If not, adjust BIAS control at rear.
- Advance CARRIER control to obtain a small increase in meter reading.
- Tune GRID for maximum IC reading.
- Adjust PLATE for a minimum dip in IC. Switch the meter to P.O. and adjust PLATE and LOAD controls in turn for maximum RF output. Ic should dip to about 70 – 80% of the off-tune current for best loading condition. At maximum input the IC is about 160 mA, but refrain from using this high current for longer than few seconds, therefore make all adjustments quickly. During a tune-up, switch OPFR-STBY switch off periodically to reduce the time transmitter is on with high IC. Meter can be left in IC position for constant monitoring of PA current. Any abnormal rise in IC can then be noted and quickly corrected.
SS5 (A3J)
After initial adjustment, insert the microphone plug of the PTT microphone. If the microphone does not have a PTT switch, then short out FIT terminals on plug as illustrated and control transmitter with OPER canel switch. Set CARRIER control to SSB vosition. Advance MIC GAIN for correct IC meter “kick-up” for normal speaking. Indicated Ic will be about half the tuning IC, i.e. about 80 mA. Pull ALC switch on MIC GAIN control. Meter will indicate full scale for no modulation. if not, adjust ALC control on rear. Check that needle does rot kick down below limit of the green section of scale on speach peaks,
AM (A38)
At First adjust the transmitter in SSB mode. Then increase CARRIER control until IC shows 80 mA. Adjust MIC GAIN control until meter kicks up about 5 mA, i.e. 85 MA aon sneak peeks.
cw {Al)
After initial adjustment, set MODE switch to CW position. Insert key plug. Set OPER switch to OPER position and key down, Advance CARRIER control until IC saturates. Do not increase CARRIER control from this point.
For break-in keying, wire the key plug as illustrated and place the PTT-VOX switch VOX position.
To calibrate the transmitter to the receiving signal, switch OPER switch down SPOT position, and increase until zero beat is heard. At SPOT position, weak signal is transmitted for calibration,
Flug Connection

INTERCONNECTION DIAGRAM
![]() | ![]() |
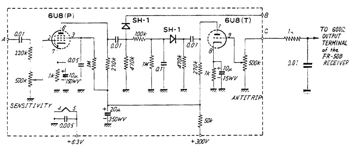
VOX CIRCUIT
In this transmitter, the VOX circuit is not built-in but can be easily built on the chassis. The recommended circuit diagram is shown below. A, B and C shall be wired to the point marked A, B, C on main circuit diagram.
TROUBLESHOOTING
Most cases of trouble can be traced to defective tubes. Substitution of new tubes will sometimes clear the obscure case. Intermittent fault in tubes can be discovered by lightly tapping the tube. Occasionally, tube socket terminals will become dirty or corroded causing an intermittent condition. The table shows typical voltage readings at each tube socket terminal. The value listed are nominal and vary slightly due to the line voltage fluctuation and to normal tolerances in components. Followings are typical cases of the trouble and trouble shooting guides.
| PERFECT | POSSIBLE CAUSE |
| Fuse blow | Defective transformer, silicon diode or electrolytic capacitor |
| Relay does not work | Defective relay or V7, 6U8 |
| Insufficient output | Defective tube V5, V7, V3, V4, V2, V6. PA grid improperly tuned. Antenna not resonant at frequency. Defective transmission lineCarrier crystal or local crystal defective. . |
| Insufficient carrier suppression | Carrier balance control. improperly adjusted. Carrier frequency improperly set. Defective balanced modulator diodes. |
| Insufficient sideband suppression | Excessive mic gain, Carrier frequently incorrect. Crystal filter mistuned. |
VOLTAGE CHART
AC voltage
| TUBE | •S S B | PIN NUMBER | ||||||||
| MODE | 1 | 2 | 3 | *4 | 5 | 6 | 7 | lit 8 | 9 1 | |
| V 1 6 BA 6 | 0 PE R | 0 | 0.5 | w 6.3 | 0 | 60 | 2 | 0.5 | ||
| BY 0 PE R | 0 150 | 0.50 | I4′ 6.3 2.3 | 0 0 | 60 0 | 2 105 | 0.5 0 | 1 | ! * 6.3 | |
| V 2 1 2 A T 7 | ||||||||||
| STAY | 160 | 0 | 3. | 0 | 0 | 115 | 0 | 1. | * 6.3 | |
| V 3 6 B A 6 | 0 PE R | 0 | 1. | * 6.3 | 0 | 140 | 80 | 1. | I | |
| STAY | 0 | 1. | * 6.3 | 0 | 150 | 95 | 1. | |||
| V 4 6 C B 6 | OPER | 0 | 2. | I& 6.3 | 0 | 140 | 110 | 0 | ||
| STAY | -27 | 0 | ;IF 6.3 | 0 | 160 | 140 | 0 | |||
| V 5 1 2 BY 7 A | 0 PE R | 3. | 0 | 0 | % 6.3 | * 6.3 | 0 | 150 | 150 | 0 |
| BY | 0 | -27 | 0 | * 6.3 | 06.3 | 0 | 160 | 160 | 0 | |
| V6 6 JS 6A | OPER | 0 | 0.05 | 150 | *0 | -35 | 0 | (10) 0.1 | (12)*6.3 | (P)300 |
| STAY | 0 | 0 | 160 | 0 | -85 | r 0 | (10) 0 | (12)*6.3 | (P)330 | |
| V 7 6 U 8 | 0 PE R | 105 | 0 | 70 | WE 6.3 i | 0 | 145 | 0.5 | 2. | 0 |
| STAY | 330 | 0 | 75 | * 6.3 • | 0 | 160 | 0.5 | 17 | 0 Or | |
(10) Pin 10, (12) Pin 12, (P) Top cap
![]() | ![]() |
NOTES:
- ALL RESISTORS IN OHM 1/2W L10% UNLESS OTHERWISE NOTED
- MLL CAPACITOR IN UF UNLESS OTHERWISE NOTED
- B® VALUE IS NOMINAL
FL-508 Eee CIRCUIT DIAGRAM
Another PDF restoration brought to you by www.rigpix.com






















