
WSSE3A1 / WSSE3A2
Height-Adjustable Speaker Stand
For SONOS® Era 300™
INSTRUCTION MANUAL

We’ll Make It Stress-Free
If you have any questions along the way, just give us a call.
US: +1 (800) 359-5520 • EMEA: +31 (0) 495 580 852 • UK: +44 (0) 800 056 2853
We’re ready to help!
IMPORTANT SAFETY INSTRUCTIONS
— PLEASE READ ENTIRE MANUAL PRIOR TO USE — SAVE THESE INSTRUCTIONS
Before getting started, let’s make sure this product is perfect for you!
This stand is designed to support only Sonos® Era 300™ speakers.
CAUTION: Avoid potential personal injuries and property damage!
- Check your speaker owner’s manual to see if there are any special requirements for mounting your speaker.
- Please read through these instructions completely to be sure you’re comfortable with this easy install process.
- Do not use this product for any purpose not explicitly specified by manufacturer.
- Manufacturer is not responsible for damage or injury caused by incorrect assembly or use.
- If you do not understand these instructions or have doubts about the safety of the installation, assembly or use of this product, contact Customer Service at US: +1 (800) 359-5520 • EMEA: +31 (0) 495 580 852 • UK: +44 (0) 800 056 2853.
Speaker Weight Limit
DO NOT EXCEED
Tool Needed

Screwdriver
Dimensions
TOP VIEW 3-D

FRONT VIEW SIDE VIEW


Parts and Hardware
WARNING: This product contains small items that could be a choking hazard if swallowed.
Before starting assembly, verify all parts are included and undamaged. If any parts are missing or damaged, do not return the damaged item to your dealer; contact Customer Service. Never use damaged parts!
NOTE: Not all hardware included will be used.
Quantities shown are for one speaker stand.
STEP 2

Pillar
01 x1


Base Lock Washer
02 x1 03 x2

Pillar Screw
04 x2
STEP 3

Rubber Pad
05 x4
OPTIONAL

Carpet Spike Jam Nut
06 x4 07 x4
STEPS 4 and 5

Bracket Speaker Screw
08 x1 09 x3
STEP 6

Trigger
10 x1
STEP 7

Clip
11 x4
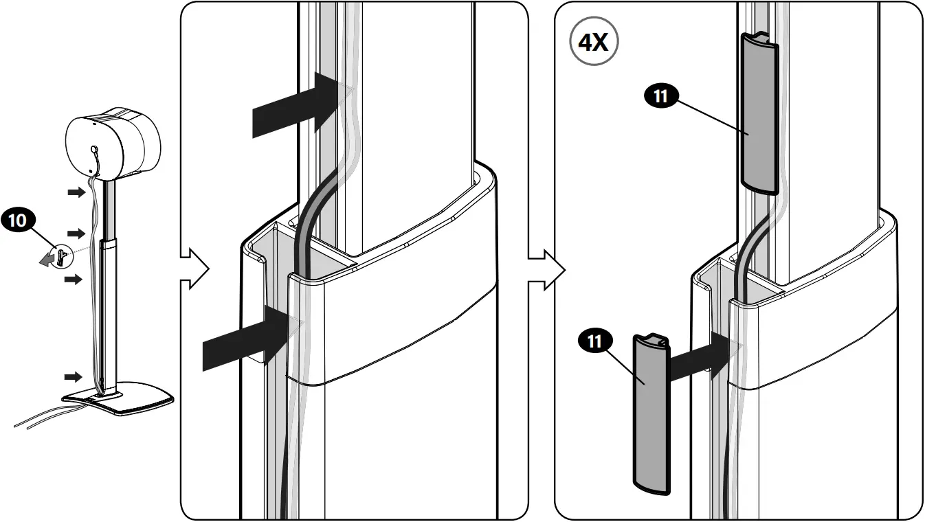
STEP 1 Route Cable(s)

STEP 2 Attach Base to Pillar

STEP 3 Install Rubber Pads -or- Carpet Spikes
Rubber Pads
Twist rubber pads 05 into the base 02 .

OR
Optional Carpet Spikes

WARNING: The ends of carpet spikes 06 are sharp and may scratch flooring, damage wiring, or be hazardous to children.

STEP 4 Attach Bracket to Pillar
CAUTION: Do not overtighten.

STEP 5 Install Speaker

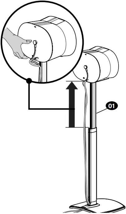
STEP 6 Height Adjustment
RAISE

LOWER
CAUTION: Avoid potential personal injuries and property damage!
Hold upper post 01 BEFORE pressing trigger button 10.
Trigger button 10 is removable to prevent accidental lowering, or to route cables into post 01 (STEP 7).


- HOLD
- PRESS
- LOWER
STEP 7 Secure Cable(s)

enjoy

Thank you for choosing SANUS! Please take a moment to let us know how we did:
Legrand AV Inc.
6436 City West Parkway
Eden Prairie, MN 55344 USA
US: +1 (800) 359-5520
Legrand AV Netherlands B.V.
Franklinstraat 14
6003 DK Weert Netherlands
UK: +44 (0) 800 056 2853
EMEA: +31 (0) 495 580 852
Authorized Representative for the UK
Starline Holding Technology Ltd.
Unit C Island Road
Reading RG2 0RP UK
Legrand AV Inc. and its affiliated corporations and subsidiaries (collectively, “Legrand”), intend to make this manual accurate and complete. However, Legrand AV makes no claim that the information contained herein covers all details, conditions, or variations. Nor does it provide for every possible contingency in connection with the installation or use of this product. The information contained in this document is subject to change without notice or obligation of any kind. Legrand AV makes no representation of warranty, expressed or implied, regarding the information contained herein. Legrand AV assumes no responsibility for accuracy, completeness or sufficiency of the information contained in this document.
©2022 Legrand AV Inc. All rights reserved. SANUS is a brand of Legrand. SANUS and the SANUS logo are registered trademarks of Legrand.
Sonos and Sonos product names are trademarks or registered trademarks of Sonos, Inc. All other brand names or marks are used for identification purposes and are trademarks of their respective owners.
Legrand AV Inc. • 6436 City West Parkway • Eden Prairie, MN 55344 USA
6901-603037 00













