HAGOR 3225 Rail Adapter for from Wall

Introduction
Caution!
Technical devices are of considerable value. You should therefore handle the components carefully during installation and protect them if necessary.
If necessary, the installation area should also be secured. Falling parts can cause injuries and material damage.
The materials included in the scope of delivery may not be suitable for the special conditions at the installation site. Please check this in advance and replace it with suitable materials if necessary.
If you are unsure about the installation of the product or have any questions, please contact us or other trained specialists
Scope of delivery


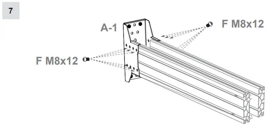
Installation instructions









Dimensions

Customer Support
HAGOR Products GmbH
Oberbecksener Straße 97
D-32547 Bad Oeynhausen
Telefon: +49(0)57 31-7 55 07-0
Mail: [email protected]




















