instruction manual
hanging lamp n°3
V9015030 I / R / Z
V9015030 Hanging Lamp
| protection class 1: the fitting must be earthed | |
| the maximum wattage indicated in each lighting unit, for example, must not be exceeded | |
| for indoor use only, where direct contact with water is impossible | |
| this luminaire was designed to work only with the indicated voltage | |
| observe the indicated minimum distance between the lamp and the illuminated materials/objects | |
| the armature can be used in combination with a dimmer. consult the sales outlet for the correct type | |
| not to be disposed with domestic waste in rubbish bin, bring it to a staging area for electrical waste |
Safety directions
Please study the instruction manual carefully before installing or using this product.
Keep this user manual for further reference / two persons needed for installation.
- The luminaires may only be installed by authorized and qual ed technicians according valid regulations for electrical istallation.
- Maintenance of the luminaires is limited to their surfaces. During maintenance no moisture can come into contact with any areas of the terminal connections or voltage control parts.
- Take account of the minimal separation distance from other objects and the room required around the fitting.
- If in any doubt, consult a professional, taking local installation requirements into account. Some countries stipulate that lighting may be installed only by registered installers.
- When replacing a lamp, wait for it to cool, for a minimum of 5 minutes.
- Clean with a clean, dry cloth or brush, use no solvents or abrasives. Avoid dampness on all electrical components.
- Take account of all available technical information.
- If the external exible cable or cord of this luminaire is damaged, it shall be exclusively replaced by the manufaturer or his service agent or a similar qual ed person in order to avoid a hazard.
| 1x hanging lamp (frame + power cord) | 2x set wall brackets + spacers (wall plugs included) |
![]() | |
| 1x lamp shade | 1x Led bulb silvered cap 4W – 350lm 2700 K (dimmable) energy class A+ |
![]() | ![]() |
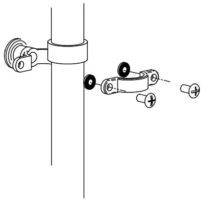
- assemble these two parts of the back part

- drill two holes with the requested diameter (ø 10 mm) for the appropriate wall plugs according your type of wall

- screw carefully the frontpart of the wall bracket on the back part (by hand) make sure the spacers are in between

- take care: do not screw the wall brackets tight, in order to turn the hanging lamp


























