colors J36002XY Ceiling Fan with Lights
IMPORTANT
This is a combined document. Please ensure that the instruction manual and safety manual are split out and printed separately, including blank pages.
INSTRUCTION
- All fittings must be installed by a competent person in accordance with local regulations (IET wiring regulation BS7671).
- Installation method please refer to the Installation section. Means of disconnection must be incorporated in the fixed wiring in accordance with the wiring rules.
- This appliance can be used by children aged 8 years and above and persons with reduced physical, sensory or mental capabilities or lack of experience and knowledge if they have been given supervision or instruction concerning the use of
the appliance in a safe way and understand the hazards involved. Children shall not play with the appliance. Cleaning
and user maintenance shall not be made by children without supervision. - The ceiling fan has to be fitted in rooms where the blades are more than 2.3 meters (7 6 1/2″) from the floor, please allow
500 mm (19 3/4″) distance between the tips of the blades and the walls or furnishings. - These instructions are for your safety. Please read through them thoroughly prior to installation and retain them for
future reference. - Check the pack and make sure you have all of the parts listed.
- Remove all packaging, wrap etc from the product
- Decide on the appropriate location for your product.
- This product is suitable for indoor use only and not for areas constantly subject to moisture such as bathroom
- Always refer to the installation drawing for the orientation of the product.
- Take care not to dill into any pipes or mains cables beneath the surface during mounting holes preparation.
- IMPORTANT: The fixing point(s) selected must be capable of supporting the full weight of the ceiling fan.
- The fixing means for attachment to the ceiling such as hooks or other devices shall be fixed with sufficient strength to withstand 4 times the weight of the ceiling fan.
- The mounting of the suspension system and the replacement of parts of the safety suspension system device shall be performed by suitably qualified persons.
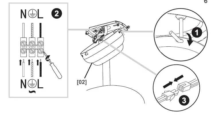
- A wiring diagram is for reference only. Always refer to the terminal marking for wiring. Ensure that all electrical connections are tight and that no loose strands are left out of the terminal block.
- Never put anything on the product or hang anything on any part of this product.
- Never use the terminal cables to bear the product’s weight.
- WARNING: If unusual oscillating movement is observed, immediately stop using the ceiling fan and contact suitably qualified persons.
SPECIFICATION

At OPP, we devote special attention to selecting high-quality materials and use manufacturing techniques that enable us to
create designer and durable product ranges.
That is why we offer a 2-year warranty against product manufacturing defects. This product is under warranty for 2 years as from the date of purchase, for normal, non-professional household use. The warranty shall only apply upon press proof of purchase in a safe place. the action of the till receipt or the invoice. Keep your
The warranty covers product breakdowns and malfunctions under the condition that the product is used in accordance with its intended use and subject to installation and maintenance in accordance with good practice and the information contained in the user’s manual.
This product must be installed so that it may be later removed without damaging it.
This contractual warranty does not cover defects and damage caused by the natural wear of parts, bad weather, flooding, heat releases, freezing, damage caused by water quality (hardness, aggressiveness, corrosion, etc.), by the presence of foreign bodies transported by water or otherwise (sand, filings, etc.) or the lack of room ventilation, and damages that could be the consequence of improper use, misuse, negligence, accident or maintenance that is defective or does not comply with good practice or the information in the user’s manual.
The following are also excluded from the warranty: harmful consequences due to the use of accessories and/or non-original equipment manufacturer or improper replacement parts, disassembly or product modification.
Guarantee-related queries should be addressed to a store affiliated with the distributor you purchased the product from. This guarantee is in addition to and does not affect your statutory rights.
TOOLS


INSTALLATION
CONCRETE CEILING
BLADE ADJUSTMENT
USE
MAINTENENCE
Manufacturer
Kingfisher International Products Limited, 3 Sheldon Square, London, W2 6PX, United Kingdom
EU Manufacturer:
Kingfisher International Products B.V. Rapenburgerstraat 175E 1011 VM Amsterdam The Netherlands
www.kingfisher.com/
productswww.diy.com
www.screwfix.com
www.screwfix.ie
References
Brico Depôt | Bricolaje, jardín, construcción y climatización
Brico Dépôt : Bricolage, construction, jardin, cuisine
Brico Depôt | Bricolage, construção, jardim e climatização
Каталог Castorama - купить товары для ремонта и обустройства дома и квартиры
Search Results | Search Results
Koçtaş | Evimi Çok Seviyorum
Screwfix | The UK's Leading Retailer of Trade Tools & Hardware | Screwfix
Power Tools, Electrical, Plumbing Supplies & More | Screwfix




































