
![]()
EAN: 3663602760580
SJ44-3-1L
Shek
V30621 BX220IM/B3
NO:1047B
IMPORTANT
This is a combined document. Please ensure that the instruction and safety manuals are split out and printed separately, including blank pages.
PLEASE DO NOT PRINT THIS PAGE.
Safety
- All fittings are in accordance with local regulations (IET wiring regulation BS7671).
- Installation method please refer to the Installation section.
- Means of disconnection must be incorporated in the fixed wiring in accordance with the wiring rules. 2 This appliance can be used by children aged 8 years and above and persons with reduced physical, sensory or mental capabilities or lack of experience and knowledge if they have been given supervision or instruction concerning use of the appliance in a safe way and understand the hazards involved. Children shall not play with the appliance. Cleaning and user maintenance shall not be made by children without supervision.
- The ceiling fan has to be fitted in rooms where the blades are more than 2.3 meters (7′ 6 1/2″) from the floor, please allow a 500 mm (19 3/4″) distance between the tips of the blades and the walls or furnishings.
- These instructions are for your safety. Please read through them thoroughly prior to installation and retain them for future reference.
- Check the pack and make sure you have all of the parts listed.
- Remove all packaging, wrap, etc from the product 2 Decide on the appropriate location for your product.
- This product is suitable for indoor use only and not for areas constantly subject to moisture such as bathroom 2 Always refer to the installation drawing for the orientation of the product.
- Take care not to drill into any pipes or mains cables beneath the surface during mounting holes preparation.
- IMPORTANT: The fixing point(s) selected must be capable of supporting the full weight of the ceiling fan.
- The fixing means for attachment to the ceiling such as hooks or other devices shall be fixed with sufficient strength to withstand 4 times the weight of the ceiling fan.
- The mounting of the suspension system and the replacement of parts of the safety suspension system device shall be performed by suitably qualified persons.
- a wiring diagram is for reference only. Always refer to the terminal marking for wiring. Ensure that all electrical connections are tight and that no loose strands are left out of the terminal block.
- Never put anything on the product or hang anything on any part of this product.
- Never use the terminal cables to bear the product’s weight.
- WARNING: If unusual oscillating movement is observed, immediately stop using the ceiling fan and contact suitably qualified persons.
- If you have any doubt about the installation/use of this product, consult a qualified electrician.
- Always disconnect the product from mains for at least 10 minutes allowing it to cool down before any maintenance or adjustment.
Technical Data
| Supply Voltage: | 220-240 V-, 50 Hz |
| Bulb Type: | 1 x Max. 60 W, E27 (check bulb dimensions in relation to space available) |
![]() | This product complies with the conformity requirements of the applicable European Regulations or Directives. |
![]() | This product complies with the conformity requirements of the applicable UK Regulations. |
| Class I product must be connected to the earth | |
| For indoor use only |
![]() | Waste electrical products should not be disposed of with household waste. Please recycle where facilities exist. Check with your Local Authority or local store for recycling advice. |
| This product is not suitable for dimming. | |
| Wattage: | 50 W |
| Standby wattage: | 0.382 W |
| Rotation speed: | 215 RPM |
| Noise level: | 47.9 dB(A) |
| Weight: | 5.1 kg |
| xxWyy | xx-year; yy-week of the year |
Warranty Period and Conditions
At Colours, we devote special attention to selecting high-quality materials and use manufacturing techniques that enable us to create designer and durable product ranges.
That is why we offer a 2-year warranty against product manufacturing defects. This product is under warranty for 2 years as from the date of purchase, for normal, nonprofessional household use. The warranty shall only apply upon presentation of the till receipt or the invoice. Keep your proof of purchase in a safe place.
The warranty covers product breakdowns and malfunctions under the condition that the product is used in accordance with its intended use and subject to installation and maintenance in accordance with good practice and the information contained in the user’s manual.
This product must be installed so that it may be later removed without damaging it.
This contractual warranty does not cover defects and damage caused by the natural wear of parts, bad weather, flooding, heat releases, freezing, damage caused by water quality (hardness, aggressiveness, corrosion, etc.), by the presence of foreign bodies transported by water or otherwise (sand, filings, etc.) or the lack of room ventilation, and damages that could be the consequence of improper use, misuse, negligence, accident or maintenance that is defective or does not comply with good practice or the information in the user’s manual.
The following are also excluded from the warranty: harmful consequences due to the use of accessories and/or non-original equipment manufacturer or improper replacement parts, disassembly, or product modification.
The warranty is limited to those parts recognized as defective. Under no circumstances shall it cover fringe expenses (travel, labor) and direct and consequential damage.
Guarantee-related queries should be addressed to a store affiliated with the distributor you purchased the product from.
This guarantee is in addition to and does not affect your statutory rights.
www.diy.com
www.screwfix.com
www.screwfix.ie
To view instruction manuals online,
visit www.kingfisher.com/products


EAN: 3663602760580
SJ44-3-1L
Shek
V30621 BX220IM/B3
NO1052
![]()
![]()
IMPORTANT –
Please read carefully the separate safety guide before use.
![]()



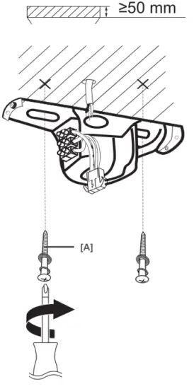
Installation
![]()
![]()

A.Concerte ceiling![]()

B. Wording ceiling![]()
A.Concerte ceiling
B. Wooden ceiling![]()

![]()

![]()


![]()



L= Brown or Red
N= Blue or Black
= Green / Yellow







Care

![]()
Use

Off

Maintenance 
Bulb Replacement
![]()

.
![]()
www.diy.com
www.screwfix.com
www.screwfix.ie
To view instruction manuals online,
visit www.kingfisher.com/products
3663602760580-Colours-A5-IM.indb
References
Brico Depôt | Bricolaje, jardín, construcción y climatización
Brico Dépôt : Bricolage, construction, jardin, cuisine
Brico Depôt | Bricolage, construção, jardim e climatização
Каталог Castorama - купить товары для ремонта и обустройства дома и квартиры
Search Results | Search Results
Koçtaş | Evimi Çok Seviyorum
Screwfix | The UK's Leading Retailer of Trade Tools & Hardware | Screwfix
Power Tools, Electrical, Plumbing Supplies & More | Screwfix





















![Loki Ceiling Fan With Led Light User Manual [51039 Matte Silver, 51040 Brushed Nickel, 51042 Antique Copper, 59385 Fresh White, 59386 Polished Nickel, 59387 Noble Bronze] Loki Ceiling Fan With Led Light User Manual [51039 Matte Silver, 51040 Brushed Nickel, 51042 Antique Copper, 59385 Fresh White, 59386 Polished Nickel, 59387 Noble Bronze]](https://static-data1.manualsee.com/1/img/364/52632/2021/01/Loki-Ceiling-Fan-With-LED-Light-User-Manual-51039-Matte-Silver-51040-Brushed-Nickel-51042-Antique-Copper-59385-Fresh-White-59386-Polished-Nickel-59387-Noble-Bronze.jpg)