
INSTALLATION INSTRUCTION FOR
P1808
P1808 Pontil Island Light
WARNING! SHUT POWER OFF AT FUSE OR CIRCUIT BREAKER .
AVERTISSEMENT! COUPER LE COURANT AU NIVEAU DES FUSIBLES OU DU DISJONCTEUR.
READ AND SAVE THESE INSTRUCTIONS
PREPATION
- Shut off the power at the fuse box or circuit breaker box. If necessary, remove the old fixture and all mounting hardware from junction box.
- Carefully unpack your new fixture and lay out all the parts on a clear area. Take care not to lose any parts necessary for installation.
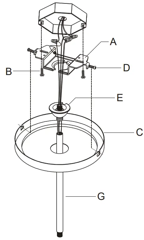
ASSEMBLING THE FIXTURE(Fig.1)
- Thread the decorative stems (L, M, N) into the main body (O). NOTE: Decorative stem L should align to L1, stem M to M1 and stem N to N1.
- Choose the suitable number of stems and install the stem (G, H, I, J) onto the nipple (K). Carefully pass the wires through each rod during assembly. Please remove the nipple when assemble 6’’ or 12’’ rod.
- Loosen screws (D) (Size: #5-32*0.4”L) to separate the canopy (C) from the mounting plate (A).
- Slip canopy (C) over rods (G, H, I, J) and allow it to rest on the fixture body. Thread nipple (F) into rod (G).
- Align glass shades (Q) followed by spacers (R) over sockets (P) and secure with socket rings (T) via the wrench provided (U).
MOUNTING THE FIXTURE (Fig.1) - Raise the mounting plate (A) to the junction box (not provided) and secure with junction box screws (B) (Size: #8-32*0.6”L).
- Install the fixture body into the mounting plate (A) by tilting at a slight angle so that the hanger ball (E) slips into the mounting plate (A) as shown. Align the notch in the hanger ball (E) to the tab on the mounting plate (A) to prevent the fixture from turning.
CONNECTING THE WIRES (Fig.2)
- At this point, connect the electrical wires as shown in figure 2, making sure that all wire connectors are secured. If your outlet has a ground wire (green or bare copper), connect the ground wires from the hanger ball and mounting plate to it. Otherwise, connect the ground wire from the hanger ball directly to the mounting plate ground wire and secure with the wire connectors provided. After wires are connected, tuck them carefully into the ceiling junction box.
COMPLETING THE INSTALLATION (Fig. 1) - Raise the canopy (C) to the mounting plate (A) and align the mounting screws (D) to the slots (V), then canopy (C) clockwise until mounting screws (D) are in narrow part of slots (V), tighten with screwdriver.
- Install the light bulbs (S) (Supplied) in accordance with the fixture’s specifications. (DO NOT EXCEED THE SPECIFIED WATTAGE!) (NE PAS DEPASSER LA PUISSANCE NOMINALE MAXIMALE!)
Your installation is now complete. Return power to the outlet box and test the fixture.

a. Hardware Bag:
A. Mounting Plate*1
C. Canopy*1
D. Screw*2
E. Hanger Ball*1

b. Hardware Bag:
G、H、I. Rod 12’’*3
J. Rod 6”*1

![]()




















