GEORGE KOVACS P1153 Tidalist LED Fixtures Light

INSTALLATION INSTRUCTIONS FOR P1153- 609-L
For LED Pendant
READ AND SAVE THESE INSTRUCTIONS
WARNING ! SHUT POWER OF FAT FUSE OR CIRCUIT BREAKER .
AVERTISSEMENT! COUPER LE COURANT AU NIVEAU DES FUSIBLES OU DU DISJONCTEUR.
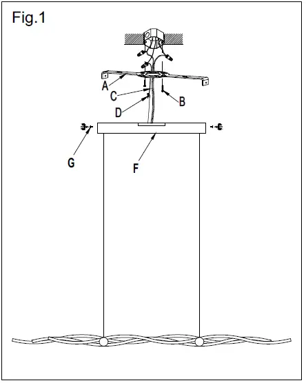
ASSEMBLING THE FIXTURE (Fig.1)

- Shut off power at the fuse box or circuit breaker.
If necessary, remove the old fixture including the mounting hardware. - Carefully remove the fixture from the carton and check that all parts are included as show in Figure 1.
- Attach the Mounting Plate (A) to the Junction box using screws (B,size:M1/8*L1 1/8 ”).
The side of the mounting back plate marked “GND” must face out.
CONNECTING THE WIRES (Fig. 2)

- Connect the electrical wire as shown in figure 2, making sure that all wire connectors are secured. If your outlet has a ground wire (green or bare copper), connect the ground wire from the hanger ball and mounting plate to it. Otherwise connect fixture ground wire (C) directly to the crossbar using the green screw (D)provided. Tuck the wire connections neatly into the ceiling junction box as you hold the canopy towards the ceiling.
FINISHING THE INSTALLATION (Fig.1)
- Fix the canopy(F) into the mounting plate (A) with screw(G).
Your installation is now complete. Return power to the junction box and test the fixture.
CAUTION/ATTENTION: When handling the fixture, do not apply pressure to the LEDs. Hold the fixture by the frame only.
IMPORTANT: Fixture should be installed by a qualified electrician to ensure proper wiring and installation. Dimmable with ELV and/or LED compatible wall dimmer switches.



















