BLACK WIDOW WIDOW ATV-TINE-2145 Steel Tines ATV Implement for use with 3 Pin Attachment

GENERAL GUIDELINES & SAFETY
- It is the user’s responsibility to read and follow all instructions.
- Keep these instructions with the product at all times and review before each use.
- It is the responsibility of this product’s owner to furnish the instructions to any person that borrows or purchases the product.
- Inspect the product before use to ensure it is assembled properly and all parts are in safe working order and free of defects.
- Never modify this product in any way.
- All circumstances cannot be addressed in these instructions. Please use common sense and practice general safety measures when using this product.
- Parts and/or instructions are subject to change without notice.
- ALWAYS read your ATV’s Owner’s Manual regarding the use of after market accessories and safe operation of your ATV.
- ALWAYS make sure you wear safety gear while operating your ATV/UTV .
- ALWAYS read and understand the manufacturer’s WARNINGS & INSTRUCTIONS before using the ATV/ UTV 3-Pin System.
- Maintain the WARNINGS & INSTRUCTIONS for later review as needed, for instructions on usage to anyone borrowing or using your ATV/ UTV 3-Pin System, or to pass on when selling the unit.
- Never exceed the manufacturer’s weight rating of your ATV/UTV hitch. If you are unsure, always refer to the ATV/UTV Owner’s Manual.
- Operating an ATV with accessories or additional implements secured to the ATV may effect the handling of the ATV, including braking, steering, stopping and turning.
- DO NOT exceed 5 MPH when operating or traveling with implements attached to your ATV. Ex-cessive speeds can result in loss of control and can cause serious personal injuries or death.
- Never operate your ATV/UTV on steep inclines while using the 3-Pin System, tipping or roll overs can occur.
- Never carry passengers on your ATV unless your ATV is designed to carry more than one person.
- ALWAYS keep hands and feet away from all implements while operating the ATV.
- Never get under or between any implement while operating the ATV.
- ALWAYS maintain proper balance and weight distribution of you ATV, you may need to add weight to the opposite end of the A TV to counter weight the load.
- ALWAYS be aware of pinch to prevent injury.
- ALWAYS inspect all nut and bolt assemblies, hardware, and components for damaged, missing,
or loose part. Inspect for any structural damage to product.(Return to factory for repair or discard product if any damage is found.) - Inspect entire product for any rust, corrosion, cracks, freezing, excessive heat or rotting damage that may affect the safety of your product. Discard any questionable product.
- Inspect entire product for any structural damage – pay close attention to all weld locations. (Return to factory for repair or discard product if any damage is found.
- Using correct wrenches inspect all nut & bolt assembly locations and snug up any that may be loose.
- Be careful not to crush tubing when tightening!
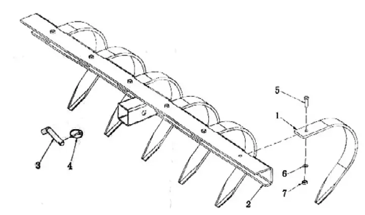
PARTS & ASSEMBLY
| Part | Description | Quantity |
| 1 | AU005-5001 – PLOW TINE | 6 |
| 2 | AU005-5100 – PLOW BAR | 1 |
| 3 | AU002-2006 – HITCH PIN | 1 |
| 4 | AL-5605 – QUICK CLIP | 1 |
| 5 | 10100305W – M10 x 30mm BOLT | 6 |
| 6 | 30100002W – M10 WASHER | 6 |
| 7 | 41100002W – M10 NUT | 6 |
USE/INSTALLATION
Using the Hitch Pin #3, hook the Landscape Rake to the 3-point hook up.
PRODUCT WARRANTY & LIABILITY
GENERAL PRODUCT WARRANTY: Products purchased from the Authorized Dealer (original place of purchase) or Merchant (“Dealer”) will be free of defects in material and workmanship at the time of receipt, and will meet the specifications stated at the place of purchase transaction or online at the Dealer’s website, under normal use and service when correctly installed, operated and maintained. This product warranty is effective for the period of time stated below, unless otherwise stated in the product instructions or depicted in the product advertisement. All Authorized Dealer warranties are NON-TRANSFERABLE and cover only the original end purchaser. This limited warranty does not cover products purchased through non-authorized dealers. Non-authorized dealer receipts are not accepted for warranty verification.
WARRANTY CLAIMS MUST BE MADE DIRECTLY TO THE ORIGINAL PLACE OF PURCHASE
WARRANTY PERIOD: This warranty remains in force for one year from the date of the product’s accepted delivery. The Authorized Dealer offers a one year manufacturer’s warranty for most products unless otherwise specified on the product advertisement.
WARRANTY SERVICE: The Authorized Dealer will replace any defective or malfunctioning part at
no charge, including payment of the shipping costs of parts or replacement product to and from the manufacturer. The purchaser is responsible for labor charges. If the product does not meet specifications as depicted in the advertisement, the Authorized Dealer will refund the full purchase price of the product.
Questions regarding the warranty on a specific product and warranty claims should be directed to the Authorized Dealer with whom the purchase transaction was made.
WARRANTY LIMITATIONS: The above warranty does not apply to products that are repaired, modified or altered by any party other than the Authorized Dealer; are subjected to unusual physical stress or conditions (such as overloaded ramps or corrosion), natural disaster, governmental actions, wars, strikes, labor disputes, riots, theft, vandalism, terrorism or any reason beyond reasonable control; are damaged due to improper installation, misuse, abuse, accident or negligence in use, storage, transportation or handling, or tampering; or to products that are considered consumable items or items requiring repair or replacement due to normal wear and tear.
Product should be inspected prior to signing for delivery. Product damage incurred during shipping, unless noted on the Bill of Lading at the time of delivery, renders this warranty void.
LIMITED LIABILITY: In no event shall THE AUTHORIZED DEALER be liable to the purchaser or any third party for any indirect, incidental, consequential, special, exemplary or punitive damages arising out of the use of the product, including, without limitation, property damage, loss of value of the product or any third party products that are used in or with the product, or loss of use of the product or any third party products that are used in or with the product.
1-888-651-3431




















