HOERMANN Series 60 Sectional Garage Doors, depth 42 / 67 mm

Tools Required

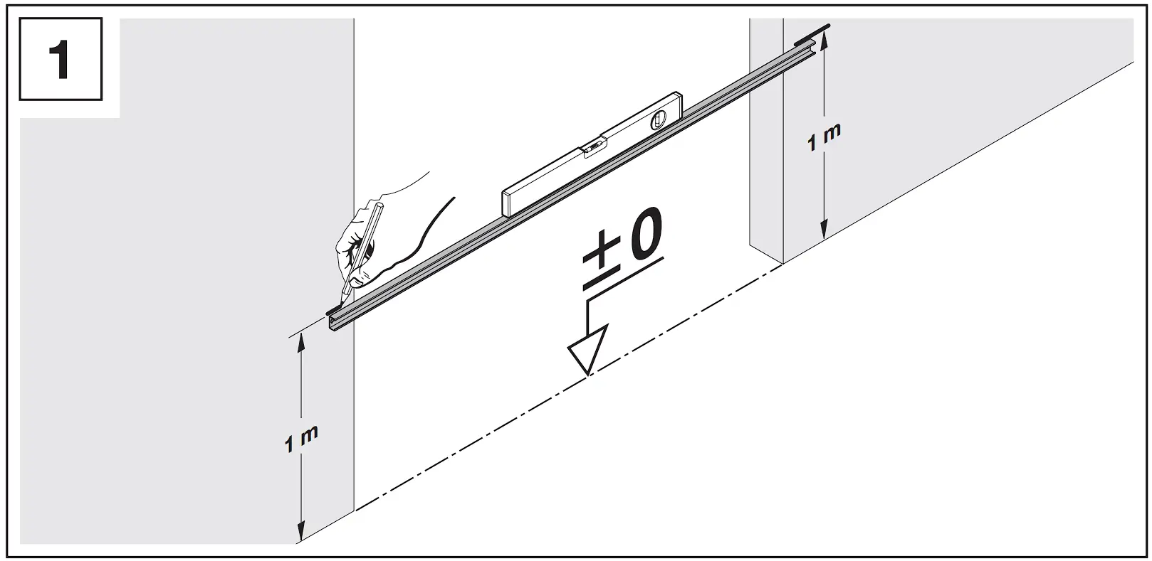
Installation Instructions





































HOERMANN Series 60 Sectional Garage Doors, depth 42 / 67 mm







































Download manual
Here you can download full pdf version of manual, it may contain additional safety instructions, warranty information, FCC rules, etc.