138 Bresle Salt Kits
User Guide
For the avoidance of doubt, please refer to the original English language version. A Material Safety Data Sheet for the Elcometer 138 Standard 84pS/cm Calibration Solution is available to download via our website: https://downloads.elcometer.com/MSDS/Elcometer_138_84uScm_Calibration_Solution.pdf © Elcometer Limited 2009-2022. All rights reserved. No part of this document may be reproduced, transmitted, transcribed, stored (in a retrieval system or otherwise) or translated into any language, in any form or by any means (electronic, mechanical, magnetic, optical, manual or otherwise) without the prior written permission of Elcometer Limited. 
OVERVIEW
The Elcometer 138 Bresle Salt Kits provide all the materials and equipment required to determine the surface chloride contamination level.
Chloride salts are extracted from the surface using the Bresle Patch method and the chloride content of the test solution is measured using the Elcometer 138 Bresle Salt Meter or Elcometer 138 Conductivity Meter supplied.

These instructions incorporate two test methods:
- ISO 8502-6 / IS08502-9
- US NAVY PPI 63101-000 (Rev 27)
The Elcometer 138 Bresle Salt Kits can also be used in accordance with ISO 8502-11; AS 3894.6-A and SSPC Guide 15.
For IMO PSPCb, the surface salts should be measured and recorded. The Elcometer 138 Bresle Salt Kits can be used for this.
Note: The Elcometer 138 meters measure aqueous solutions. They are NOT designed to measure solids, organic solvents, surfactants, oil, adhesives, alcohol, strong acids (pH: 0 to 2) or strong alkalis (pH: 12 to 14). The life of the sensor will be extremely short if these substances are measured.
a Model supplied is dependent on the kit ordered.
b International Maritime Organisation, Performance Standard for Protective Coatings.
BOX CONTENTS
| Kit Contents | Sales Part Number | |||
| E138-1 E138-1-CM | E138-1C E138-1C-CM | |||
| Elcometer 138 Bresle Salt Meter & Sensor | ✓ | ✓ | ||
| Elcometer 138 Conductivity Meter & Sensor | ✓ | ✓ | ||
| Elcometer 135B Bresle Patch, Pack of 25 | ✓ | ✓ | ||
| Elcometer 135C Bresle Test Patch, Pack of 25 | ✓ | ✓ | ||
| Calibration Solution 84pS/cm; 250m1 (8.45 fl oz) with Certificate | ✓ | ✓ | ✓ | ✓ |
| Conditioning Solution; 14m1 (0.47 fl oz) | ✓ | ✓ | ✓ | ✓ |
| Bottle of Pure Distilled Water; 250m1 (8.5 fl oz) | ✓ | ✓ | ✓ | ✓ |
| Syringes, 5m1 (0.17 fl oz); x3 | ✓ | ✓ | ✓ | ✓ |
| Needles (Blunt); x3 | ✓ | ✓ | ✓ | ✓ |
| Plastic Beaker; 30m1 (1 fl oz) | ✓ | ✓ | ✓ | ✓ |
| CR2032 Lithium Batteries; x2 (supplied fitted to the Elcometer 138) | ✓ | ✓ | ✓ | ✓ |
| Transit Case | ✓ | ✓ | ✓ | ✓ |
| User Guide | ✓ | ✓ | ✓ | ✓ |
TEST PROCEDURE: ISO 8502-6 / ISO 8502-9
3.1 BEFORE YOU START
- If using the Elcometer 138 Bresle Salt Meter, press the MEAS button to set the measurement mode to ISO.
- Calibrate the Elcometer 138 Meter, see Appendix A Section AS on page en-19.
- As the test is extremely sensitive, clean latex or nitrile gloves should be worn during the extraction of soluble salts to prevent contamination of the surface.

3.2 TEST PROCEDURE
- Remove the printed protective backing and foam center from the Bresle patch.
- Apply the patch to the surface pressing firmly around the perimeter of the patch to ensure a complete seal. If using the Elcometer 135C Bresle Test Patch, remove the clear protective film cover using the orange tab.
- Fill a syringe with 3m1 of pure water.
- Insert the syringe into the patch through the spongy foam perimeter at an angle of approximately 30° to the test surface so that it passes through the foam into the compartment formed by the elastomer film and the test surface. If the patch is positioned in a difficult position bend the needle as required.
- Inject the pure water into the patch. Do not remove the needle.
► If necessary, any air can be evacuated into the syringe and allowed to stay above the water in the syringe. Take care not to re-insert the air during steps 6 and 7.
- During a suitable period of time, without removing the needle, suck and re-inject the solution at least four times.
- At the end of the period, extract as much solution as possible and remove the syringe from the patch’.
- Analyze the solution using the Elcometer 138 Meter, see Section 3.4 on page en-6. Inject the sample directly into the sensor cell. Rinse the sensor cell several times with the solution to be measured before taking the reading.
► See Appendix A on page en-15 for further instructions on using the Elcometer 138 Meters.
3.3 AFTER TEST
- Record the temperature of the solution.
- Remove the patch from the surface and clean the surface. If required, any adhesive residue from the patch left on the test surface can be removed by wiping with a cloth moistened with a suitable solvent. Ensure that the solvent will not damage the surface before use.
- Rinse all components of the test kit, other than the patch, in fresh, pure water. The components can then be used again.
On un-pitted blast-cleaned areas, a period of 10 minutes has been found to be satisfactory, though this time should be agreed by the interested parties. During steps 6 and 7, it is essential that no solution is lost. If any solution is lost, the test shall be rejected.
3.4 CALCULATING THE SURFACE DENSITY OF SALTS
USING THE GLUCOMETER 138 BRESLE SALT METER
The Elcometer 138 Bresle Salt Meter measures the conductivity of the sample but displays the surface density of salts. The measured conductivity is converted to the surface density of salts using the ISO Salt Mix or IMO PSPC equivalent NaCI conversion factors shown in the table below, dependent on the measurement mode selected.
USING THE GLUCOMETER 138 CONDUCTIVITY METER
Multiply the reading displayed by one of the ISO Salt Mix or IMO PSPC equivalent NaCI conversion factors shown in the table below.
| Surface Density of Salts: Factor& | ||||
| ISO Salt Mix | IMO PSPC equivalent NaCI | |||
| Reading | mg/m2 | pg/cm2 | mg/m2 | pg/cm2 |
| pS/cm | x1.2 | x0.12 | x1.1 | x0.11 |
Note: ISO 8502-9 allows for the measurement of the pure water before testing and then subtraction of that value from that obtained in section 3.2 step 8.
Based on an area of 12.5cm2 and a volume of 3m1.
4.1 BEFORE YOU START
- If using the Elcometer 138 Bresle Salt Meter, press the MEAS button to set the measurement mode to ISO.
► The US Navy PPI 63101-000 pass / fail criteria is based on the conductivity of the test sample. The Elcometer 138 Bresle Salt Meter measures the conductivity of the sample but displays the surface density of salts. The measured conductivity is converted to the surface density of salts using the ISO Salt Mix or IMO PSPC equivalent NaCI conversion factors, dependent on the measurement mode selected. See Section 4.4 on page en-9 for an explanation of how to use the displayed surface density of salts reading to calculate the conductivity of the test sample. - Calibrate the Elcometer 138 Meter, see Appendix A Section A5 on page en-19.
- As the test is extremely sensitive, clean latex or nitrite gloves should be worn during the extraction of soluble salts to prevent contamination of the surface.
4.2 TEST PROCEDURE
Measurements are to be made randomly over the prepared surface. Five measurements should be taken every 90m2(1000ff ). Five measurements should be taken for areas less than 90m2(1000ft2).
- Remove the printed protective backing and foam center from the Bresle patch.
- Apply the patch to the surface pressing firmly around the perimeter of the patch to ensure a complete seal. If using the Elcometer 135C Bresle Test Patch, remove the clear protective film cover using the orange tab.
- Fill a syringe with 3m1 of pure water.

- Insert the syringe into the patch through the spongy foam perimeter and inject 1.5m1 of pure water into the patch. Do not remove the syringe.
- With the syringe still in the patch, reposition the needle and evacuate any air in the patch.
- Once the air has been removed, inject the remaining 1.5m1 of pure water.
- Remove the syringe from the patch.
- Rub the surface of the patch gently for 10 to 15 seconds to allow the water to dissolve surface contaminants.
- Insert the syringe into the patch through the spongy foam perimeter and extract the solution from the patch.
- Analyze the solution using the Elcometer 138 Meter, see Section 4.4 on page en-9. Inject the sample directly into the sensor cell. Rinse the sensor cell several times with the solution to be measured before taking the reading.
► See Appendix A on page en-15 for further instructions on using the Elcometer 138 Meters.
4.3 AFTER TEST
- Record the temperature of the solution.
- Remove the patch from the surface and clean the surface. If required, any adhesive residue from the patch left on the test surface can be removed by wiping with a cloth moistened with a suitable solvent. Ensure that the solvent will not damage the surface before use.
- Rinse all components of the test kit, other than the patch, in fresh, pure water. The components can then be used again.
4.4 PASS / FAIL CRITERIA
When working in accordance with US Navy PPI 63101-000, the pass / fail criteria is based on the conductivity of the test sample.
For immersed applications, conductivity due to soluble salts (total ionic) shall not exceed 30pS/cm.
For non-immersed applications, conductivity due to soluble salts shall not exceed 70pS/cm.
Note: The charts produced by the US Navy for the calculation of chloride levels are not required for this test method. Please contact Elcometer or your local Elcometer supplier if you require a copy of these charts.
USING THE GLUCOMETER 138 CONDUCTIVITY METER
Simply record the displayed value.
USING THE GLUCOMETER 138 BRESLE SALT METER
The Elcometer 138 Bresle Salt Meter measures the conductivity of the sample but displays the surface density of salts. The measured conductivity is converted to the surface density of salts using the ISO Salt Mix or IMO PSPC equivalent NaC I conversion factors, dependent on the measurement mode selected.
To calculate the conductivity, divide the reading displayed by one of the factors shown in the table below:
| Surface Density of Salts Reading | Conductivity Value (NS/cm) | |
| ISO Salt Mix | IMO PSPC equivalent NaCI | |
| mg/m2 | Divide by 1.2 | Divide by 1.1 |
| pg/cm2 | Divide by 0.12 | Divide by 0.11 |
TECHNICAL SPECIFICATION
| 5.1 ELCOMETER 138 BRESLE SALT KITS | |
| Kit Dimensions | 393 x 331 x 95mm (15.5 x 13 x 3.7″) |
| Kit Weight | 1.4kg (31b 1 oz) |
| 5.2 BRESLE PATCH | |
| Patch Size | 5cm x 5cm |
| Test Area | 12.5cm2 |
| Sample Volume | 3m1 |
| 5.3 ELCOMETER 138 BRESLE SALT METER | ||
| Measurement Principle | 2 Electrode Bipolar AC | |
| Measurement Mode | ISO, IMO, Temperature | |
| Minimum Sample Volume | 0.12m1 | |
| ISO Mode | IMO Mode | |
| Measurement Range | 0 – 2399pg/cm2 | 0 – 2199pg/cm2 |
| Conversion Factor | pS/cm to pg/cm2: 0.12 pS/cm to mg/m: 1.2 | pS/cm to pg/cm: 0.11 pS/cm to mg/m2: 1.1 |
| Resolution | 0 – 239.9pg/cm2 : 0.1pg/cm2 240 – 2399pg/cm2: 1pg/cm2 | 0 – 219.9pg/cm2 : 0.1pg/cm 220 – 2199pg/cm2 2 : 1 |
| Accuracy | ±2% of full scale (for each range) | |
| Operating Temperature | 5°C to 40°C (41°F to 105°F) | |
| Operating Humidity | 85% or less relative humidity (no condensation) | |
| Battery Type | 2 x CR2032 lithium | |
| Battery Life | Approximately 200 hours of continuous use without backlight | |
| Dimensions | 164 x 29 x 20mm (6.5 x 1.1 x 0.79″) | |
| Weight | 50g (1.76 oz) – including sensor and batteries | |
| 5.4 ELCOMETER 138 CONDUCTIVITY METER | |
| Measurement Principle | 2 Electrode Bipolar AC |
| Measurement Mode | Conductivity, Temperature |
| Minimum Sample Volume | 0.12m1 |
| Measurement Range | 0 – 19.99mS/cm |
| Resolution | 0 – 1999pS/cm : 1pS/cm 2.00 – 19.99mS/cm : 0.01mS/cm |
| Accuracy | ±2% of full scale (for each range) |
| Operating Temperature | 5°C to 40°C (41°F to 105°F) |
| Operating Humidity | 85% or less relative humidity (no condensation) |
| Battery Type | 2 x CR2032 lithium |
| Battery Life | Approximately 200 hours of continuous use without backlight |
| Dimensions | 164 x 29 x 20mm (6.5 x 1.1 x 0.79″) |
| Weight | 50g (1.76 oz) – including sensor and batteries |
SPARES & ACCESSORIES
The Elcometer 138 Bresle Kits are supplied complete with all the items required to get started and take measurements however, over the life of the kit, replacements may be required. The following items are available from Elcometer or your local Elcometer supplier.
6.1 CALIBRATION SOLUTION
Description Standard 84pS/cm Calibration Solution: 250m1 (8.45f1 oz) Bottle
Part Number
T13830629-1
A Material Safety Data Sheet for the Elcometer 138 Standard 84pS/cm Calibration Solution is available to download via our website: https://downloads.elcometercom/MSDS/Elcometer_138_84uScm_Calibration_Solution.pdf
6.2 BRESLE PATCHES
Description
Elcometer 135B Bresle Patch, Pack of 25
Elcometer 135C Bresle Test Patch, Pack of 25
Elcometer 135C Bresle Test Patch, Pack of 100
Part Number
E135—–B
E135—–C25
E135—-C100
6.3 MISCELLANEOUS
Description
Elcometer 138 Bresle Salt Meter
Elcometer 138 Conductivity Meter
Replacement Sensor for Elcometer 138 Meter
Bottle of Pure Distilled Water; 250m1 (8.5 fl oz)
Syringes, 5m1 (0.17 fl oz); x3
Needles (Blunt); x3
Plastic Beaker; 30m1 (1 fl oz)
Part Number
E138-BSM
E138-CM
T13830628
T13827259
T13818517
T13818518
T13818519
LEGAL NOTICES & REGULATORY INFORMATION
Declaration of Conformity: The Elcometer 138 Meters comply with the requirements of the following EU Directives:
2014/30/EU Electromagnetic Compatibility
2011/65/EU Restriction of the use of certain hazardous substances
The Declaration of Conformity is available to download via:
https://downloads.elcometercom/Declaration_of_Conformity/English/DoC_138.pdf
This product is Class B, Group 1 ISM equipment according to CISPR 11.
Class B product: Suitable for use in domestic establishments and in establishments directly connected to a low-voltage power supply network that supplies buildings used for domestic purposes.
Group 1 ISM product: A product in which there is intentionally generated and/or used conductively coupled radio-frequency energy which is necessary for the internal functioning of the equipment itself.
elcometec is a registered trademark of Elcometer Limited, Edge Lane, Manchester, M43 6BU. United Kingdom
All other trademarks are acknowledged.
The Elcometer 138 Bresle Salt Kits are packed in a cardboard package. Please ensure that this packaging is disposed of in an environmentally sensitive manner. Consult your local Environmental Authority for further guidance.
CAUTION
The needles supplied for use with these kits are blunt, but care must be exercised when using and disposing of these needles to prevent accidental needle stick injuries. It is recommended that used needles be disposed of as special waste, and not in a landfill.
If the standard solution used for calibration of the meter comes into contact with the skin, wash the skin with fresh water. If the standard solution comes into contact with the eyes, immediately flush the eye with large amounts of fresh water and seek medical advice.
Al: CAUTION
- Do not drop the meter.
- Never apply undue force when opening the meter (to change the batteries or sensor).
- Do not exert undue force on the sensor.
- Do not allow utensils (tweezers, pipette, etc) to touch the sensor cell.
- Do not measure samples hotter than 40°C (105°F)
- Do not allow contact with solvents.
- Do not subject the meter to high temperature or humidity.
- Although the product is waterproof, avoid immersing it completely. If the meter is accidentally dropped in water, take it out and remove the moisture.
A2: FITTING AND REPLACING THE BATTERIES
The Elcometer 138 Meters use dry cell batteries only and are supplied with two CR2032 lithium batteries fitted with an isolation strip. Remove the isolation strip before first use.
To fit or replace the batteries:
- Place batteries in battery clips ensuring correct polarity.
- To reassemble the meter, slide the sensor onto the body of the meter and push the body and sensor together gently until the sensor retaining clip engages..

When the battery voltage becomes low, the low battery warning indicator will flash. Replace both batteries immediately.
Note: Lithium batteries must be disposed of carefully to avoid environmental contamination. Please consult your local Environmental Authority for information on disposal in your region. Do not dispose of any batteries in the fire.
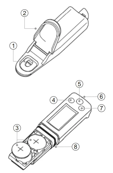
A3: THE CONTROLS AND DISPLAY
The Elcometer 138 Meters are operated using 3 buttons and display readings and other information on the LCD screen.

| ELCOMETER 138 METER OVERVIEW | ||
| 1 | Measurement Cell | Place a liquid sample in this cell to measure it with the electrode located on the bottom of the cell. |
| 2 | Protection Cover | Protects the measurement cell and flat sensor in storage. |
| 3 | Lithium Batteries | CR2032 x 2 |
| 4 | MEAS Button | Sets the measurement mode: Elcometer 138 Bresle Salt Meter: ISO or IMO; Elcometer 138 Conductivity Meter: EC View the temperature of the measuring environment. Switches from calibration mode to measurement mode. |
| 5 | ON/OFF Button | Turns the meter On / Off. |
| 6 | Strap Eyelet | A strap can be attached here. |
| 7 | CAL Button | Starts calibration procedure. |
| 8 | Waterproof Gasket | Makes the meter waterproof. |

| DISPLAY INDICATORS | ||
| 9 | Stability Icon | Illuminates when the measured value is stabilized. |
| 10 | MEAS Icon | Illuminates when in measurement mode. |
| 11 | CAL Icon | Flashes during calibration and illuminates steadily when calibration is finished. |
| 12 | Temperature Alarm Icon | Flashes when the measuring environment temperature does not meet the specified operating temperature of 5°C to 40°C (41°F to 105°F). |
| 13 | Battery Alarm Icon | Illuminates when the batteries are low and need to be replaced. |
| 14 | Measurement Units | The default setting is: Elcometer 138 Bresle Salt Meter: pg/cm2 Elcometer 138 Conductivity Meter: pS/cm |
| 15 | Measured Value | Elcometer 138 Bresle Salt Meter: Displays the surface density of salts calculated using the measured conductivity of the sample. Elcometer 138 Conductivity Meter: Displays the measured conductivity of the sample |
| 16 | Measurement Mode Selected | Elcometer 138 Bresle Salt Meter only: The surface density of salts is calculated using the ISO Salt Mix (ISO Mode) or IMO PSPC (IMO Mode) equivalent NaCI conversion factors, see Section 3.4 on page en-6 for further details. |
A4: ELECTRODE SURFACE TREATMENT PROCEDURE
When using the sensor for the first time or again after several weeks of disuse, perform the electrode surface treatment procedure as follows:
- Put some drops of the conditioning solution into the measurement cell.
- Leave for approximately 10 minutes.
- Clean the measurement cell with running water.
- Wash the measurement cell with a standard solution
- Perform the calibration procedure, see Section AS below.
A5: CALIBRATION PROCEDURE
- Press the ON/OFF button to switch the meter on.
- Press the CAL button until CAL appears on the display.
- Open the protective cover and place some drops of the 84pS/cm standard solution supplied into the measurement cell avoiding the inclusion of bubbles. Washing the sensor with a standard solution beforehand may provide more accurate calibration.
► Bubbles in the solution may cause the measurement to be inaccurate.
- Close the protective cover and press the CAL button for over 2 seconds. CAL and CAL and
flash and the calibration value is displayed. After the calibration is completed,
stop flashing and illuminate steadily
. ► If CAL continues to flash and the ‘Err’ (error message) is displayed, the calibration has failed. Check that the standard solution conductivity is correct and perform the calibration procedure again after thoroughly cleaning the sensor. If the calibration failed whilst using the correct standard solution, the sensor may be damaged and should be replaced, see Section 6.3 on page en-13. - Clean the sensor with tap water and remove moisture.
- Press the MEAS button for 0.5 seconds to enter the measurement mode and prepare for measurement.
A6: TAKING A READING
- Press the ON/OFF button to switch the meter on.
- Open the protective cover and place drops of the sample onto the sensor.
► Put an appropriate amount of the test sample into the measurement cell avoiding the inclusion of bubbles. Bubbles in the solution may cause the conductivity measurement to be inaccurate.
- Close the protection cover.
► Ambient air may cause the measurement values to fluctuate. To reduce environmental interference, close the protection cover. - Read the value displayed when
appears.
illuminates when the measured value is stabilized.
► If a measurement result is out of the specified measurement range, the displayed measured value flashes.
A7: AFTER MEASUREMENT
- Press the ON/OFF button to switch the meter off.
- Wash the sensor with tap water and wipe away any residual water using a clean tissue.
- Replace the sensor protection cap.
Note: If the meter is to remain unused for a long period of time. use pure water instead of tap water to wash the sensor.
A8: CARE AND MAINTENANCE
The Elcometer 138 Meters are designed to give many years of reliable service under normal operating conditions.
- Prolonged periods of non-use may cause the sensor to dry out. This can result in malfunction or unstable readings. Pour the conditioning solution into the sensor cell and leave for a few minutes to allow the sensor to become saturated. Wash the sensor with water prior to use.
- If the measuring surface of the sensor is contaminated or if air bubbles are regularly present in the sample, clean the sensor using a diluted neutral detergent (diluted 100 times).
- The Elcometer 138 Meters incorporate a Liquid Crystal Display. If the display is heated above 50°C (120°F) it may be damaged. This can happen if the meter is left in a car parked in strong sunlight.
- Always store the components of the Elcometer 138 Bresle Salt Kits in the carrying case when the kit is not being used.
The Elcometer 138 Meters do not contain any user-serviceable components. In the unlikely event of a fault, the meter should be returned to your local Elcometer supplier or directly to Elcometer Limited -contact details can be found on our website, www.elcometer.com. The warranty will be invalidated if the meter has been opened.


► See Appendix A on page en-15 for further instructions on using the Elcometer 138 Meters.





















