elk D4319 33 Inch High 1-Light Table Lamp User Manual
WARNING: This fixture is intended for installation in accordance with the National Electrical Code (NEC) and all local code specifications. If you are not familiar with code requirements, installation by a certified electrician is recommended.
CAUTION: To prevent shock, only plug in lamp after lamp assembly is complete.
WARNING: This portable lamp has a polarized plug (one blade is wider than the other). As a safety feature, this plug will fit in a polarized outlet only one way. If the plug does not fit fully in the outlet, reverse the plug. If it still does not fit, contact a qualified electrician. Never use with an extension cord unless plug can be fully inserted. Do not attempt to work around this safety feature.
Before assembly, remove all parts and part packages from box. If anything is missing, please contact the retailer from which the product was purchased
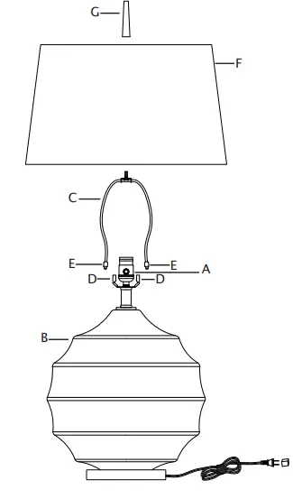
- Squeeze ends of harp (C) inward. Insert each end of harp (C) into each end of saddle (D). Lower harp caps (E) over ends of saddle (D).
- Lower shade (F) down over harp (C). Pass hole in center of shade bracket over threaded stud on top of harp (C).
- Carefully screw finial (G) onto threaded stud on harp (C). Tighten finial (G) to secure shade (F) in place. DO NOT over tighten.
- Insert recommended bulb (not included) into socket (A). WARNING: Verify correct bulb wattage marked on socket of lamp. DO NOT exceed maximum bulb wattage.




















