
Under Cabinet Light
Installation Guide

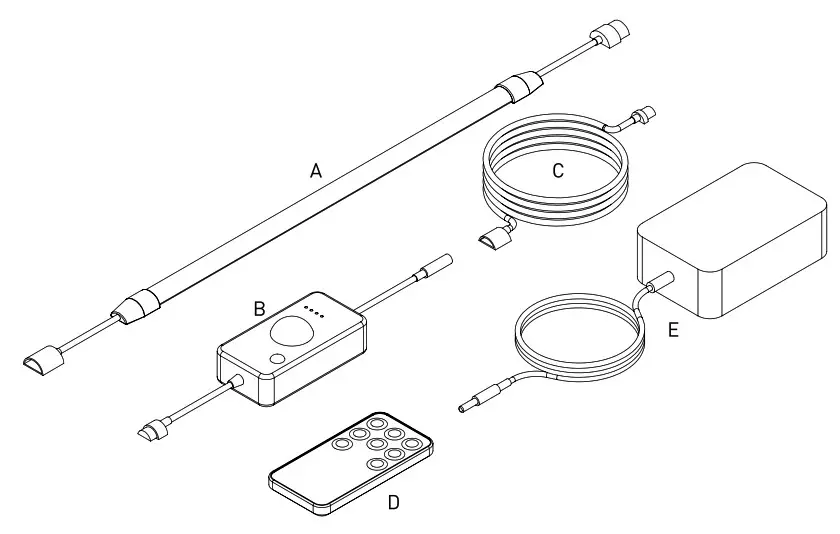
Components

Mounting

Contents
| Part | Name | 3 pcs QTY | 6 pcs QTY |
| A | Light Strip | 3 | 6 |
| B | Controller | 1 | 1 |
| C | Extension Cable | I | 1 |
| D | Remote | 1 | 1 |
| E | Power Cord | 1 | 1 |
| F | Inline Cable Clip | 6 | 8 |
| G | Mounting Track | 6 | 8 |
| H | Excess Cable Clip | 2 | 2 |
| I | Remote Magnets | 2 | 2 |
| 0. | Screws | 6 | 12 |

Put everything together.
Connect the lights to each other, then to the controller, then to the power cord. They will only work in that order.
Plan out everything prior to mounting on the surface.
Once everything is connected, plug it into a power source. This is an opportunity to check that everything is working properly prior to installation.
Step 2

Plan your setup.
Decide where you are going to mount the lights and lay the whole setup out on your countertop to make sure it will fit your space. Pay special attention to the placement of the lights, placement of the controller, and access to the Wall outlet for power.
Because the controller has a motion sensor, it needs to be able to see well enough to turn on when you want it to. Keep in mind the range is 180 degrees.
Tip: if you want the motion sensor to be more sensitive, put it in a more exposed space (you can even mount it to the power block). If you want to have more control over hte motion sensor, you can place it in a less visible space (such as the underside of the cabinet).
Prep for mounting. Fit the lights into the mounting tracks. Be sure the lights are flat-side down in the tracks. There should be two tracks on each light, pushed to either end so they are next to the cord on both sides.
Starting from one end, peel the backing off of the tape on the first track and put it in place (the light should still be attached). Be sure the track is pulled to the end of the light strip. Remove the backing from the next track and pull it so it lays flat on the surface, then press the track to stick it in place. Then remove the backing and place the first track from the second light
Continue pulling the light and mounting the tracks one at a time until you reach the end. At this point you may remove the lights and add the screws if you want to.
If you decide to use only the screw without the foam tape: Start from one end, holding the light in place (without removing the backing on the tape). Carefully remove the light while keeping the track in place and secure it with the screw. Then put the light back into the track to continue measuring the placement of the tracks.

Mount the controller(B). Peel the backing off of the tape on the back of the controller and mount it to the desired surface. Make sure to pull outwards to take up any slack as you attach to sur-face.
If you decide to place the lights close together, there will be some extra cable slack in between. There are in-line cable clips included to attach these to the surface (F). Remove the backing, clip in the cable, and stick it to the surface to hide the extra length.
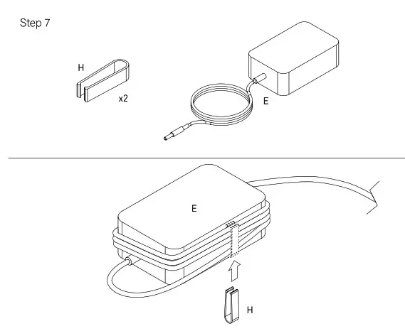
If there is the extra cable from the power cord, wrap it around the block vertically (avoiding overlap) and slide the excess cable clip (H) over all the cables along the side.
If there is the extra cable from the extension cord, you may either use one of the (F) clips to tighten slack along a surface, or loop it and use a (H) clip to keep managing the excess cable.
Motion Sensor Guide

| Modes | Indicator Light | Mode Details |
| Motion Sensor Off | All OFF | Controlled only by Remote Control. The motion sensor is disabled. |
| 15 Minute Timer | 15 | Automatically turns to alter 15 minutes of no motion activity |
| 30 Minute Timer | 30 | Automatically turns to alter 30 minutes of no motion activity |
| 60 Minute Timer | 60 | Automatically turns after 60 minutes of no motion activity |
| 120 Minute Time | 120 | Automatically turns after 120 minutes of no motion activity |
| Motion Sensor On/ No Timer | All ON | Tums on when motion detected, manually powered off by Remote Control |

Magnets are included in order to mount your remote control to keep track of it. Peel the backing off of both magnets and attach one to the back of the remote, and one to the desired surface.
*If you plan to keep the remote on a fridge or other magnetic surface, you only need the magnet on the back of the remote.
Remote Control Guide

The lights can be turned on and off with the power button. If it is set to a timed mode, turning the light on with either the power or the controller will activate the automatic timer.
Use the arrows to increase and decrease brightness and color temperature settings. There are also 3 preset color temperature buttons and 3 preset brightness levels for quick selections.
Warnings
- Thoroughly read this instruction manual before installation and use of Luminoodle Undercabinet.
- Do not expose the Luminoodle to water.
- The Luminoodle may represent a possible shock or fire hazard if improperly used in any way.
- Do not modify or disassemble your Luminoodle.
- Do not expose the Luminoodle to fire.
- Luminoodle is not a toy and is intended for use by or under the supervision of adults.
- If you have epilepsy or have had seizures or other unusual reactions to flashing lights or patterns, consult a doctor before using Luminoodle.
- In the event that the Luminoodle is damaged or ceases to function properly, stop use immediately and contact us at [email protected]
Tech Specs
- Light Output: 1,650 Lumens total (550 Lumens per strip)
- Color Temperature Range: 2700K – 5000K
- Color Accuracy (CRI): 85
- Power Input: 36W (12V,3A)
FCCID: 2AZLA-CABINET
This device complies with part 1 5 of the FCC Rules. Operation is subject to the following two condi tions: (1} This device may not cause harmful interference, and (2) this device must accept any inter ference received, including interference that may cause undesired operation.
This equipment has been tested and found to comply with the limits for a Class B digital device, pursu ant to part 15 of the FCC Rules. These limits are designed to provide reasonable protection against harmful interference in a residential installation. This equipment generates, uses, and can radiate radio frequency energy and, if not installed and used in accordance with the instructions, may cause harm ful interference to radio communications. However, there is no guarantee that interference will not occur in a particular installation. If this equipment does cause harmful interference to radio or televi sion reception, which can be determined by turning the equipment off and on, the user is encouraged to try to correct the interference by one or more of the following measures:
- Reorient of relocating the receiving antenna.
- Increase the separation between the equipment and receiver
- Connect the equipment into an outlet on a circuit different from that which the receiver is connected.
- Consult the dealer or an experienced radio/TV technician for help.
Changes or modifications not expressly approved by the party responsible for compliance could void the user’s authority to operate the equipment.

Designed by Power Practical
Made in China
powerpractical.com
©2021 Antiope Corp., or its affiliates.
POWER PRACTICAL is a registered trademark used under license by Antiope Corp.
Antiope Corp.
266 Main St. Suite 20-111
Medfield, MA 02052 USA
NEED HELP?
Please reach out to us if you need additional assistance:
powerpractical.com? [email protected]


















