FEIT Electric UCL24/5CCT 24 inch Under Cabinet Light Installation Guide
READ BEFORE INSTALLATION SAVE THESE INSTRUCTIONS
Questions, problems, missing parts? Before returning to the store, call Feit Electric Customer Service 8 a.m. – 5 p.m., PST, Monday – Friday
1-866-326-BULB (2852)
FEIT.COM
We appreciate the trust and confidence you have placed in Feit Electric through the purchase of this Under Cabinet Light. We strive to continually create quality products designed to enhance your home. Visit us online to see our fun line of products available for your home improvement needs. Thank you for choosing Feit Electric
Safety Information
IMPORTANT SAFEGUARDS: ALWAYS FOLLOW BASIC SAFETY PRECAUTIONS WHEN USING ELECTRICAL PRODUCTS, ESPECIALLY WHEN CHILDREN ARE PRESENT.
SAVE THESE INSTRUCTIONS
CAUTION: Do not attempt to install while plugged in. This fixture is for indoor use only. Not for use with plastic cabinets. Do not install this fixture inside a totally enclosed cabinet. Do not mount over stoves.
WARNING: To avoid risk of electrical shock. always make Asure the product is unplugged from the electrical outlet before assembling, disassembling, relocating, servicing or cleaning it.
CAUTION: Do not instal this product in a wet location.
CAUTION: Do not instal this product in an outdoor location.
CAUTION: Do not use chemical solvents or harsh abrasives to clean the fixture.
Supplier’s Declaration of Conformity:
47 CFR § 2.1077 Compliance Information
Responsible Party: Feit Electric Company 4901 Gregg Road, Pico Rivera, CA 90660, USA 562-463-2852 Unique Identifier: UCL24/5CCT
FCC STATEMENT
This device complies with part 15 of the FCC Rules. Operation is subject to the folLowing two conditions: (1) This device may not cause harmful interference, and (2) this device must accept any interference received, including interference that may cause undesired operation. Note: This equipment has been tested and found to comply with the limits for a Gass B digital device, pursuant to part 15 of the FCC Rules. These limits are designed to provide reasonable protection against harmful interference in a residential installation. This equipment generates, uses and can radiate radio frequency energy and, if not installed and used in accordance with the instructions, may cause harmful interference to radio communications. However, there is no guarantee that interference will not occur in a particular installation. It this equipment does cause harmful interference to radio or television reception. which can be determined by turning the equipment off and on, the user is encouraged to try to correct the interference by one or more of the following measures: Reorient or relocate the receiving antenna. Increase the separation between the equipment and receiver. Connect the equipment into an outlet on a circuit different from that to which the receiver is connected. Consult the dealer or an experienced radio oill/ technician for help. Any changes or modifications not expressly approved by the manufacturer could void the user’s authority to operate the equipment. CAN ICES-005(BI).
Limited Warranty
This product is warranted to be free from defects in workmanship and materials for up to 5 years from date of purchase. If the product fails within the warranty period, please contact Feit Electric at [email protected], visit feit.com/contact-us or call 1-866 326-BULB (2852) for instructions on replacement or refund. REPLACEMENT OR REFUND IS YOUR SOLE REMEDY. EXCEPT TO THE EXTENT PROHIBITED BY APPLICABLE LAW, ANY IMPLIED WARRANTIES ARE LIMITED IN DURATION TO THE DURATION OF THIS WARRANTY. LIABILITY FOR INCIDENTAL OR CONSEQUENTIAL DAMAGES IS HEREBY EXPRESSLY EXCLUDED. Some states and provinces do not allow the exclusion of incidental or consequential damages, so the above limitation or exclusion may not apply to you. This warranty gives you specific legal rights, and you may also have other rights which vary from state to state or province to province.
Pre-Assembly
TOOLS REQUIRED
- Screw Driver & Pencil

![]()
HARDWARE INCLUDED
Note: Hardware not shown to actual size.
- AA

- BB

- CC

- DD

- EE

- FF

| Part | Description | Quantity |
| AA | 24in. LED Fixture | 1 |
| BB | 721n. Electrical Plug | 1 |
| CC | 181n. Linking Cable | 1 |
| DD | Mounting Screws | 2 |
| EE | Mounting Bracket | 2 |
| FF | Fixture Mounting Template | 1 |
UCL24/5CCT | 24 Inch under Cabinet LED Fixture | 120 | 17 | 220 | 45 | 5 |
Single LED Fixture Installation
- Position the Fixture
Find the desired place for the LED light fixture and mark clearly using the provided mounting bracket template (FF).
- Installing The Mounting Bracket
Screw in the Mounting Brackets (EE) using the Mounting Screws (DD) on the Marked locations.
- Installing the LED Fixture
Align and Snap LED Fixture (AA) on Mounting Brackets (EE).
Note: You can slide the LED Fixture (AA) left or right to adjust position. - Connecting the Electrical Plug
Plug in the Electrical Plug (BB) to the LED Fixture (AA),
IMPORTANT: Do not plug in electrical plug to a wall power source until after connecting to the LED Fixture (AA). - Connecting to a Power Outlet

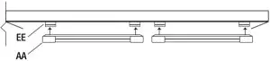
Two or More LED Fixture Installation
- Position the Fixtures
Find the desired place for the LED light fixture and mark clearly using the provided mounting bracket template (FF).
- Installing the Mounting Brackets
Screw in the Mounting Brackets (EE) using the Mounting Screws (DO) on the marked locations.
- Installing the LED Fixtures
Align and snap the LED Fixtures (AA) on the Mounting Brackets (EE).
NOTE: You can slide the LED Fixture (AA) left or right to adjust position. - Linking the LED Fixtures
Connect the LED Fixtures (AA) using the provided Connector Cable (CC).
- Connecting the Electrical Plug
Plug in the Electrical Plug (BB) to the linked LED Fixtures (AA).
IMPORTANT: Do not plug In electrical plug to a wall power source until after connecting to the LED Fixture (AA). - Connecting to a Power Outlet
Connect the Electrical Plug (BB) to the power outlet on the wall.
Operating Instructions

Use the ON/OFF and Dim Button for ON/OFF Operation and Changing the Dimming Levels
To select the desired dimming level, Cycle through Dimming levels (High, Medium, Low, Dim. Off) by pressing the Dim Button. This setting will be fixed each time the ON/OFF switch is turned ON.
Changing the Color Temperature Setting
To select the desired color temperature, cycle through 2700K – 3000K – 3500K – 4000K – 5000K by pressing the CCT Button. This setting will be fixed each time the ON/OFF switch is turned ON.
This LED Fixture has the feature to operate and control multiple units, even if they are not linked.
- To control multiple fixtures, Hold the CCT button for 3 seconds on all the fixtures to be controlled in a group.
- To remove the individual fixture from the group. Hold the CCT button on the fixture that you want to control individually for 3 seconds.
Please Contact 1-866-326-BULB (2852) for Further assistance: WWW.FEIT.COM

































