FEIT ELECTRIC UCL18FP Flat Panel Under Cabinet Light

Safety Information
IMPORTANT SAFEGUARDS:
ALWAYS FOLLOW BASIC SAFETY PRECAUTIONS WHEN USING ELECTRICAL PRODUCTS, ESPECIALLY WHEN CHILDREN ARE PRESENT
Save These Instructions
CAUTION: Do not attempt to install while plugged in. This fixture is for indoor use only. Not for use with plastic cabinets. Do not install this fixture inside a totally enclosed cabinet. Do not mount over stoves
WARNING: To avoid risk of electrical shock, always make sure the product is unplugged from the electrical outlet before assembling, disassembling, relocating, servicing or cleaning it.
CAUTION: Do not install this product in a wet location.
CAUTION: Do not install this product in an outdoor location.
CAUTION: Do not use chemical solvents or harsh abrasives to clean the fixture.
Supplier’s Declaration of Conformity:
47 CFR § 2.1077 Compliance Information
Responsible Party: Feit Electric Company 4901 Gregg Road, Pico Rivera, CA 90660, USA 562-463-2852
Unique Identifier: UCL18FP/5CCTCAG3
FCC STATEMENT
This device complies with part 15 of the FCC Rules. Operation is subject to the following two conditions: (1) This device may not cause harmful interference, and (2) this device must accept any interference received, including interference that may cause undesired operation. Note: This equipment has been tested and found to comply with the limits for a Class B digital device, pursuant to part 15 of the FCC Rules. These limits are designed to provide reasonable protection against harmful interference in a residential installation. This equipment generates, uses and can radiate radio frequency energy and, if not installed and used in accordance with the instructions, may cause harmful interference to radio communications. However, there is no guarantee that interference will not occur in a particular installation. If this equipment does cause harmful interference to radio or television reception, which can be determined by turning the equipment off and on, the user is encouraged to try to correct the interference by one or more of the following measures: Reorient or relocate the receiving antenna. Increase the separation between the equipment and receiver. Connect the equipment into an outlet on a circuit different from that to which the receiver is connected. Consult the dealer or an experienced radio/TV technician for help. Any changes or modifications not expressly approved by the manufacturer could void the user’s authority to operate the equipment
Limited Warranty
This product is warrantied to be free from defects in workmanship and materials for up to 5 years from date of purchase. If the product fails within the warranty period, please contact Feit Electric at [email protected], visit feit.com/contact-us or call 1-866-326 BULB (2852) for instructions on replacement or refund. REPLACEMENT OR REFUND IS YOUR SOLE REMEDY. EXCEPT TO THE EXTENT PROHIBITED BY APPLICABLE LAW, ANY IMPLIED WARRANTIES ARE LIMITED IN DURATION TO THE DURATION OF THIS WARRANTY. LIABILITY FOR INCIDENTAL OR CONSEQUENTIAL DAMAGES IS HEREBY EXPRESSLY EXCLUDED. Some states and provinces do not allow the exclusion of incidental or consequential damages, so the above limitation or exclusion may not apply to you. This warranty gives you specific legal rights, and you may also have other rights which vary from state to state or province to province
Pre-Assembly
TOOLS REQUIRED
- PHILLIPS SCREWDRIVER

- FLAT HEAD SCREWDRIVER

- PENCIL

- PLIERS WRENCH

- 18 AWG WIRE STRIPPER

HARDWARE INCLUDED
NOTE: Hardware not shown to actual size

Part | Description | Quantity |
AA | 18 in. LED Flat Panel Fixture | 1 |
BB | 18 in. Linking Cable | 1 |
CC | Mounting Screws | 4 |
DD | Fixture Mounting Template | 1 |
EE | Hardwire Bracket | 3 |
FF | Hardwire Bracket Screw | 1 |
GG | Wire Nut | 3 |
HH | Clamp Connector | 1 |
II | Mounting Brackets | 2 |
Item No. | Description | Volts (V) | Wattage Per Fixture (W) | Input Current (mA) | Maximum Linkable Units at 120V | Maximum Linkable Units with In-Wall Dimmer |
UCL18FP/5CCTCAG3 | 18 Inch Flat Panel Under Cabinet LED Fixture | 120 | 15 | 180 | 46 | 7 |
LIGHTING DISTRIBUTION | ||
| Distance | Center Beam (Foot Candles) | Beam Diameter |
3 ft | 54 | 7.2 ft |
| 5 ft | 19 | 12 ft |
8 ft | 7.6 | 19 ft |
| 15 ft | 2.2 | 36 ft |
| Beam Spread: 100˚ | CD @ CB: 486 | |
Single LED Fixture Hardwire Installation
- Turn Off the Power
Turn the power OFF from the breaker panel before starting installation
- Position the Fixture
Find the desired place for the LED light fixture and mark clearly using the provided mounting bracket template (DD).
- Installing the Mounting Brackets
Screw in the Mounting Brackets (II) on the marked locations.
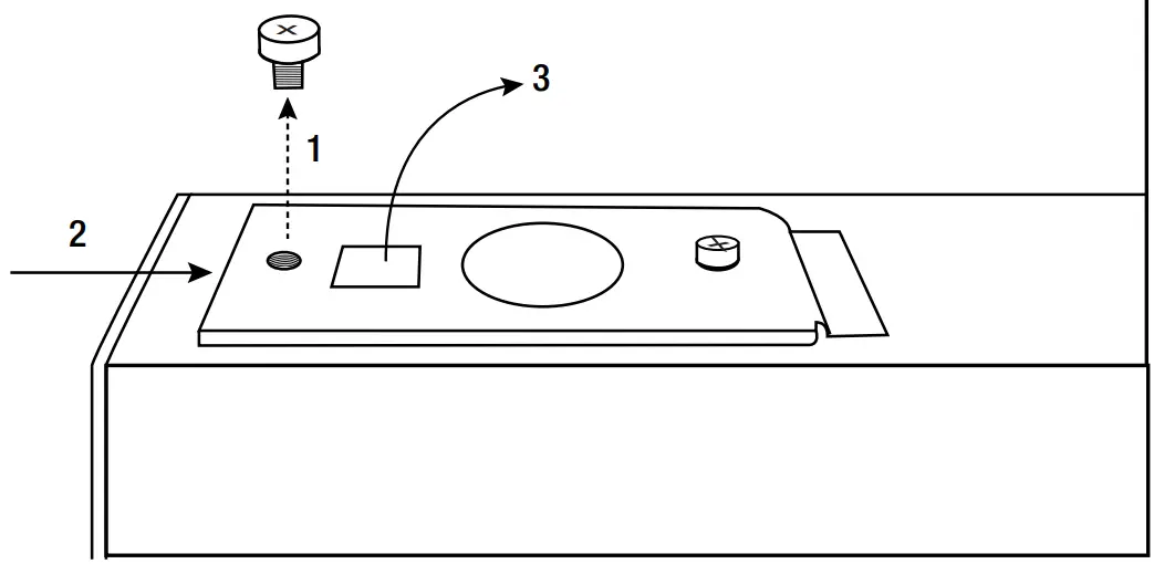
- Removing the Hardwire Bracket
Remove the screw on the hardwire bracket, then slide and lift the bracket off of the fixture.
- Removing the Knock-out
Carefully remove the knock-out with a flathead screwdriver.
- Installing the Clamp Connector to the Knockout Hole
Install the Clamp Connector (HH) to the knock-out hole by inserting it through the hole and securing it with the nut. The Clamp Connector (HH) should be on the outer side of the bracket.
- Cutting and Stripping Wires
Take out of the black and white 18 AWG wires in the fixture.
Cut and strip the wires to the correct length.
- Wire Power Supply to the Fixture
Feed the supply wire through the Clamp Connector (HH) and knockout hole and make all connections using the wire nuts provided. Connect the 120V line (black) wire to the black wire. Connect the neutral (white) wire to the white wire. Connect the ground (green) wire to the green wire.
- Replace the Wiring Bracket
After connecting the wires correctly, place the wires inside the fixture and reinsert the bracket, sliding it over and screwing it secure.
- Secure Supply Wires with the Clamp Connector

- Installing LED Fixture
Lift the light fixture (AA) up to the C-channel brackets (II).
Push firmly until the C-channel brackets (II) snap into the light fixture (AA)
- Linking LED Fixtures
Connect the LED Fixtures (AA) using the provided Linking Cable (BB).
NOTE: To install 2 or more LED fixtures, repeat the single fixture installation instructions with two or more units.
Alternative Plug-In Installation (Electrical Plug not Included)
- Position the Fixtures
Find the desired place for the LED light fixture and mark clearly using the provided mounting bracket template (DD).
- Installing the Mounting Brackets
Screw in the Mounting Brackets (II) on the marked locations.
- Installing LED Fixture
Lift the light fixture (AA) up to the C-channel brackets (II).
Push firmly until the C-channel brackets (II) snap into the light fixture (AA)
- Connecting the Power Supply
Plug In Electrical Plug to the LED Fixture (AA).
NOTE: The electrical plug can be connected to either side of the LED Fixture (AA). - Connecting to a Power Outlet
Connect the Electrical Plug to the power outlet on the wall.
Operating Instructions

Use the ON/OFF and Dim Button for ON/OFF Operation and to Change the Dimming Levels
- To select the desired dimming level, cycle through the dimming levels (High, Medium, Low, Dim, Off) by pressing the Dim Button. This setting will be fixed each time the ON/OFF switch is turned ON.
Changing the Color Temperature Setting
- To select the desired color temperature, cycle through 2700K – 3000K – 3500K – 4000K – 5000K by pressing the CCT Button. This setting will be fixed each time the ON/OFF switch is turned ON.
This LED Fixture has the feature to operate and control multiple units, even if they are not linked.
- To control multiple fixtures, Hold the CCT button for 3 seconds on all the fixtures to be controlled in a group.
- To remove the individual fixture from the group, Hold the CCT button on the fixture that you want to control individually for 3 seconds.
WWW.FEIT.COM
Please contact 1-866-326-BULB (2852) for further assistance.









































