FEIT ELECTRIC UCL Under Cabinet Motion Sensor

READ BEFORE INSTALLATION
SAVE THESE INSTRUCTIONS
Questions, problems, missing parts? Before returning to the store, call Feit Electric Customer Service 8 a.m. – 5 p.m., PST, Monday – Friday
1-866-326-BULB (2852) FEIT.COM
We appreciate the trust and confidence you have placed in Feit Electric through the purchase of this Under Cabinet Motion Sensor. We strive to continually create quality products designed to enhance your home. Visit us online to see our full line of products available for your home improvement needs. Thank you for choosing Feit Electric.
Safety Information
IMPORTANT SAFEGUARDS:
ALWAYS FOLLOW BASIC SAFETY PRECAUTIONS WHEN USING ELECTRICAL PRODUCTS, ESPECIALLY WHEN CHILDREN ARE PRESENT.
CAUTION:
To reduce the risk of fire or electric shock, do not use this device with a receptacle in which the slot openings do not align with the blades. Use only on 120VAC 60Hz circuits. Suitable for damp locations. Operating temperature -4°F to 77’F (-20°C to 25°C). When installing, make sure that power is switched off before connecting or disconnecting. This product is not user-serviceable. Do not attempt to
open the product enclosure for any reason. THIS PRODUCT IS NOT A VOLTAGE CONVERTER. For more information visit www.feit.com or call our toll free number 1-866-326-BULB.
SAVE THESE INSTRUCTIONS
WARNING: To avoid risk of electrical shock, always make sure the product is unplugged from the electrical outlet before assembling, disassembling, relocating, servicing or cleaning it.
CAUTION: Do not install this product in a wet location.
CAUTION: Do not install this product in an outdoor location.
CAUTION: Do not use chemical solvents or harsh abrasives to clean the fixture.
Supplier’s Declaration of Conformity:
47 CFR § 2.1077 Compliance Information
Responsible Party: Feit Electric Company 4901 Gregg Road, Pico Rivera, CA 90660, USA 562-463-2852 Unique Identifier: UCL/MOT
FCC STATEMENT
This device complies with part 15 of the FCC Rules. Operation is subject to the following two conditions:
- This device may not cause harmful interference, and
- this device must accept any interference received, including interference that may cause undesired operation.
Note: This equipment has been tested and found to comply with the limits for a Class B digital device, pursuant to part 15 of the FCC Rules. These limits are designed to provide reasonable protection against harmful interference in a residential installation. This equipment generates, uses and can radiate radio frequency energy and, if not installed and used in accordance with the instructions, may cause harmful interference to radio communications. However, there is no guarantee that interference will not occur in a particular installation. If this equipment does cause harmful interference to radio or television reception, which can be determined by turning the equipment off and on, the user is encouraged to try to correct the interference by one or more of the following measures: Reorient or relocate the receiving antenna. Increase the separation between the equipment and receiver. Connect the equipment into an outlet on a circuit different from that to which the receiver is connected. Consult the dealer or an experienced radionv technician for help. Any changes or modifications not expressly approved by the manufacturer could void the user’s authority to operate the equipment. CAN ICES-005(B).
Limited Warranty
This product is warranted to be free from defects in workmanship and materials for up to 1 year from date of purchase. If the product fails within the warranty period, please contact Feit Electric at [email protected], visit feit.com/contact-us or call 1-866-326-BULB (2852) for instructions on replacement or refund. REPLACEMENT OR REFUND IS YOUR SOLE REMEDY. EXCEPT TO THE EXTENT PROHIBITED BY APPLICABLE LAW, ANY IMPLIED WARRANTIES ARE LIMITED IN DURATION TO THE DURATION OF THIS WARRANTY. LIABILITY FOR INCIDENTAL OR CONSEQUENTIAL DAMAGES IS HEREBY EXPRESSLY EXCLUDED. Some states and provinces do not allow the exclusion of incidental or consequential damages, so the above limitation or exclusion may not apply to you. This warranty gives you specific legal rights, and you may also have other rights which vary from state to state or province to province.
Pre-Assembly
TOOLS REQUIRED

HARDWARE INCLUDED
NOTE: Hardware not shown to actual size.

| Part | Description | Quantity |
| AA | Motion Sensor tvv vv | 1 |
| BB | 18in. Linking Cable | 1 |
| CC | Mounting Screws | 2 |
| DD | Mounting Bracket | 1 |
| EE | Mounting Bracket Template | 1 |
| DEVICE COMPATIBILITY LIST (Max 100 paired units) |
| UCL12/5CCT |
| UCL18/5CCT |
| UCL24/5CCT |
| UCL36/5CCT |
| UCL12FP/5CCTCA |
| UCL18FP/5CCTCA |
| UCL24FP/5CCTCA |
| UCL36FP/5CCTCA |
| BPUCUPUCK/5CCT/3 |
| UCL72/FLEX/5CCT |
| UCL192/FLEX/5CCT |
| UCL96/ROPE/5CCT |
Motion Sensor Installation
- Postion the Motion Sensor
Find the desired place for the Motion Sensor and mark clearly using the provided mounting bracket template (EE).
- Installing the Mounting Bracket
Screw in the Mounting Bracket (DD) using the Mounting Screws (CC) on the marked locations.
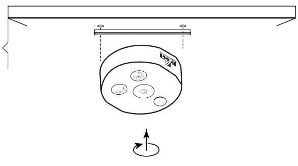
- Installing the Motion Sensor
Raise the Motion Sensor up and align the keyholes on the fixture to the mounting bracket. Twist and lock the Motion Sensor into place by holding the Motion Sensor and gently rotating it in clockwise direction.
- Connecting Connector Cable
Plug In Motion Sensor to OneSync product using Linking Cable (BB).
NOTE: Linking Cable can be connected to either side of the Motion Sensor (M).
NOTE: Can also power by connecting to outlet - Connecting Electrical Plug
Plug In Electrical Plug (sold separately) to the Motion Sensor (AA).
NOTE: Electrical plug can be connected to either side of the Motion Sensor (M). - Connecting to a Power Outlet
Connect the Electrical Plug (sold separately) to the power outlet on the wall.
Operating Instructions

Pairing Instructions
NOTE: Motion Sensor must be powered on during the pairing process.
NOTE: If your lights do not correctly pair, first follow the process to unpair your lights then try to pair again.
- Pairing OneSync Lights to Motion Sensor
- Disconnect power from the lights that you wish to pair to the motion sensor for 5 seconds.
- Connect power to the lights. Within 3 seconds of powering lights, press and hold the “Dim” button on the remote – If successfully paired, the lights will blink and will respond to the motion sensor.

- To Unpair OneSync Lights from Motion Sensor
Disconnect power from the lights that you wish to pair to the motion sensor for 5 seconds. - Connect power to the lights. Within 3 seconds of powering lights, press and hold the “On/Off” button on the remote – If unpairing successful, the lights will blink.

Operation Instructions for Motion Sensor
- When motion is detected by UCUMOT, all connected OneSync lights will turn on. After 10 minutes of no motion detection, all connected lights will turn off.
- If motion is detected during the 1 0 minutes on, all connected lights will stay on for an additional 1 0 minutes from the time of motion detection.
- Pressing the ON/OFF button will turn all connected lights ON/OFF.
NOTE: Turning your lights off this way will keep all connected lights off until the next time you press the ON/OFF button, regardless of motion. - Holding down the CCT button on the Motion Sensor will disable/enable the motion sensor. When motion sensor is disabled this way, normal remote operations will still function (CCT change, Dim, On/OFF), but connected lights will not turn on when motion is detected.

Changing the Dimming Levels
To select the desired dimming level, Cycle through Dimming levels (High, Medium, Low, Dim, Off) by pressing the Dim Button. This setting will be fixed each time the ON/OFF switch is turned ON.
Changing the Color Temperature Setting
To select the desired color temperature, cycle through 2700K – 3000K – 3500K – 4000K – 5000K by pressing the CCT Button. This setting will be fixed each time the ON/OFF switch is turned ON.
NOTE: Once paired, to operate a fixture separately from the motion sensor, hold the CCT button for 3 seconds on the fixture that you want to control independently. This fixture will not respond to the motion sensor and can only be operated individually through the buttons on the fixture. Press and hold the CCT button for 3 seconds on the fixture again to reconnect to the motion sensor.
WWW.FEIT.COM
Please contact 1-866-326-BULB (2852) for further assistance.




























