Pelgrim GVW200L Dishwasher

PARTS

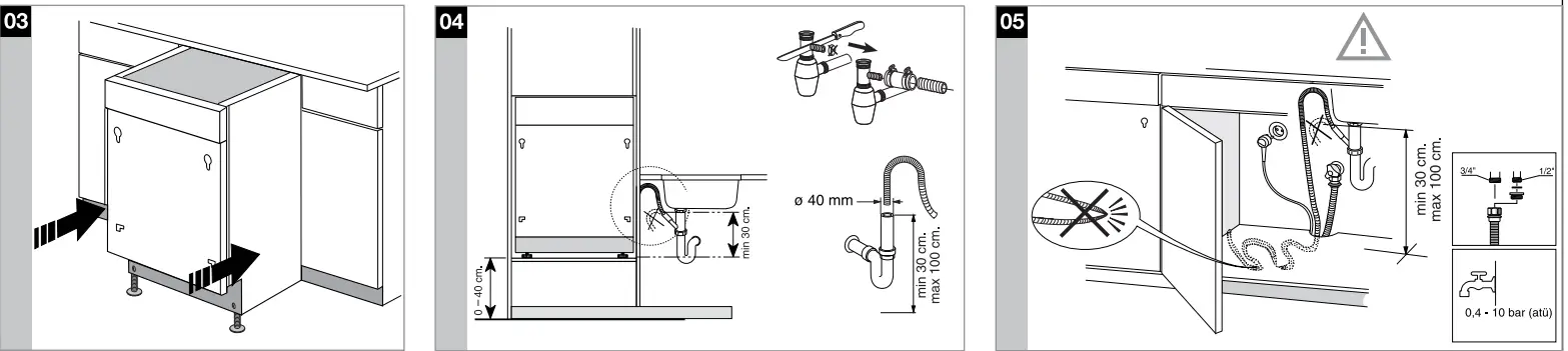
INSTALLATION





Please note!
This appliance may only be installed by a qualified installer. Follow these instructions exactly for mounting the panel and installing the dishwasher. If these instructions are not followed conscientiously, this may result in damage, injury, or incorrect operation of the appliance. Do not unscrew the adjustable feet for more than 50 mm! If the height for the installation is such that the legs have to be unscrewed for more than 50 mm, a podium will have to be installed. Don’t place any loose blocks of timber under the adjustable legs! This may result in instability and leakages.

















