
elk Home 82226/4 36 inch Champagne Gold Linear Installation Guide

ITEM#: 82226/4
ITEM#: 82236/4
ANY QUESTIONS CALL: 800-613-3261
M-F 8:00AM-6:00PM ET
WARNING: DISCONNECT POWER AT THE MAIN FUSE BOX BEFORE INSTALLATION.
WARNING:
This fixture is intended for installation in accordance with the National Electrical Code (NEC) and all local code specifications. If you are not familiar with code requirements, installation by a certified electrician is recommended.
Before assembly, remove all parts and part packages from box. If anything is missing, please contact the retailer from which the product was purchased.

- Position mounting bracket (A) so fixture mounting screws (E) attached to mounting bracket (A) are pointing down towards floor.
- Align holes in mounting bracket with holes in junction box. While holding mounting bracket in correct position, mark with a pencil on ceiling the location of the four (4) holes in bar on mounting bracket. (Two holes on each end of bar on mounting bracket.) Set bracket aside while installing anchors.
- Using a drill bit the appropriate size for the included anchor (W), drill a hole at each marked location.
- Using hammer, carefully tap one anchor (W) into each hole. Lip of anchor (W) should be flush with ceiling.
- Carefully pull house wires down out of junction box so house wires are easily accessed to connect fixture wires.
- Position mounting bracket (A) so fixture mounting screws (E) attached to mounting bracket (A) are pointing down towards floor.
- Carefully pull the house wires through hole in center of the mounting bracket (A).
- Align holes in the mounting bracket (A) with holes in junction box. Align holes in ends of bar on mounting bracket with anchors (W).
- Thread each junction box screw (B) into appropriate holes in mounting bracket (A) and into holes in junction box.
- Thread each anchor screw (V) into each hole in bar on mounting bracket (A).
- Tighten junction box screws (B) and anchor screws (V) to attach mounting bracket (A) to junction box. CAUTION: Make sure house wires are still easily accessible.DO NOT pinch wires between mounting bracket and ceiling.

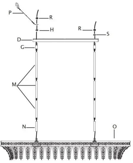
12. Carefully push fixture wires up through bottom of one 6 inch stem. Pull fixture wires taut. Screw bottom of 6 inch stem onto threaded pipe on top of fixture body (O).
13. Carefully push fixture wires up through bottom of 12 inch stem (M). Screw bottom of 12 inch stem (N) onto top of 6 inch stem (N). Repeat this step to connect the remaining 12 inch stems (M).
14. Push fixture wires up through bottom of swivel (G). Pull fixture wires taut. Screw end of swive (G) onto top of last 12 inch stem (M).
15. Repeat steps 12-14 for second side of fixture.
16. Slip ends of fixture wires through each hole in canopy. Slip holes in canopy (D) over each end of swivels (G).
17. One one side of fixture, slip fixture wire through hole in lockwasher (H). Slip hole in lockwasher (H) over end of swivel (G) inside canopy (D).
18. Slip fixture wire through hole in ring at end of safety cable (P). Slip ring at end of safety cable (P) over end of swivel (G) inside canopy (D).
19. Slip fixture wire through hole in one hex nut (R). Thread hex nut (R) onto end of swivel (G) inside canopy (D).
20. On second side of fixture, slip fixture wire through hole in washer (S). Slip hole in washer (S) over end of swivel (G) inside canopy (D).
21. Slip fixture wire through hole in one hex nut (R). Thread hex nut (R) onto end of swivel (G) inside canopy (D).
22. Completely tighten each hex nut (R) to secure canopy (D) to fixture.
23. Attach safety cable (P) to slot in mounting bracket (A).
24. Strip 1/2” of insulation from ends of fixture wires.
25. Slightly loosen ground screw on mounting bracket (A). Do not completely remove ground screw. Wrap house ground wire (copper) around ground screw, leaving enough ground wire to attach to fixture ground wire. Twist end of fixture ground wire and end of house ground wire (copper) together. Twist wire nut (C) onto ends of wires. Completely tighten wire nut (C). Reference chart below for correct wire connections.


26. Twist end of house lead wire (black) and end of fixture lead wire together. Twist wire nut (C) onto ends of wires. Completely tighten wire nut (C). Twist end of house neutral wire (white) and end of fixture neutral wire together. Twist wire nut (C) onto ends of wires. Completely tighten wire nut (C). Reference chart to the right for correct wire connections.
27. Wrap electrical tape (not included) around wire nuts (C) and wires. Ensure wires are securely fastened into wire nuts.
28. Carefully push all wires and wire nuts into junction box.

29. Carefully raise fixture up to ceiling. Pass holes in canopy (D) over ends of fixture mounting screws (E) on mounting bracket (A).
30. Screw one threaded cap (F) onto end of each fixture mounting screw (E). Tighten threaded caps (F) to secure fixture to ceiling.
31. Screw recommended bulbs (E12 Candelabra bulb type, not included) into sockets. Verify correct bulb wattage marked on socket of fixture. WARNING: DO NOT exceed maximum bulb wattage.
32. Attach crystal strands (G and H) onto hooks on bottom of fixture. Reference illustration at right for proper placement of crystal strands.


Read More About This Manual & Download PDF:



















