MULTI MEASURING INSTRUMENTS 104+ AC Current Mini Digital Clamp-On Tester

Thank you very much for selecting our digital AC clamp-on tester. This model is complex instrument and employ a very reliable mechanical/electronic design.
Before you use your new instrument, read this Instruction Manual completely and familiarize yourself thoroughly with all functions. With proper use and care, your tester will give you years of satisfactory service.
FEATURES
- This tester is a clamp-on type leakage ammeter which represents the latest in current transducer and digital technology and is the world’s smallest and most accurate clamp-on type instrument of its type.
- Compact and lightweight.
- This tester is least affected by the external magnetic field.
CAUTION
- Before operating this instrument, familiarize yourself with all instructions outlined in this manual.
- Always check to make sure that the function switch is set to the proper position.
- When making measurements, use CAUTION as dangerous voltages may be present in normally safe areas.
- To avoid electrical shock, use CAUTION when working above 60V DC or 25V AC rms.
Such voltages pose a shock hazard. - Never make measurements with the battery cover OFF.
- Never fail to keep the maximum tolerable input.
- Never operate this instrument if it becomes wet, damp or has any liquid condensation build-up on any part of the instrument.
- Never make measurements for uninsulated conductors or bus bars.
SPECIFICATION
| Measuring Method: | Dual integration mode | |
| Display: | LCD, 3200 count with bar graph | |
| Range: | 0~30mA/300mA/30A/150A | |
| Ranging: | 2 manual ranging | |
| Accuracy: | 23℃±5℃, 80%RH or less | |
| Range | Resolution | Accuracy |
| 30mA/300mA | 0.01mA | ±2.0%rdg ±5dgt(50/60Hz) |
| 30A/150A | 0.01A | |
| Jaw opening capability: | 33mmφ | |
| Over range indication: | “OL” mark on LCD | |
| Data hold indication: | “DH” mark on LCD | |
| Auto power off function | Available | |
| Low battery indication: | ” ” mark on LCD in case of 2.5V~2.7V | |
| Sampling time: | Approx. 2 times/s(digital). Approx. 12 times/s(bar graph). | |
| Limitation of circuit voltage: | Less than AC 600V | |
| Operating Temperature: | 0℃ to +40℃, <80%RH (non-condensing) | |
| Storage temperature: | -10℃ to +60℃, <70% RH (non-condensing) | |
| Power supply: | LR-44x (1.5V)x2 or SR-44 (1.5V)x2 | |
| Power consumption: | Approx. 5mW | |
| Size: | 54(W)x152(H)x23(D)mm | |
| Weight: | Approx. 85 gs. | |
| Accessories: | Batteries, LR-44…………………… 2 Soft case…………………………….. 1 Instruction manual………………….. 1 | |
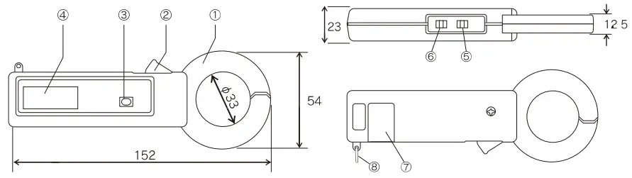
DIMENSIONS AND PANEL FUNCTION

- Current transducer(Jaw)
- Jaw opening lever
- Data hold switch
- LCD display
- Range selector switch
- Power switch
- Battery cover
- Wrist strap
METHOD OF MEASUREMENT
Preparation and Caution before Measurement
- Before making measurements, install the batteries. Two LR-44 batteries can be used.
- Avoid using the tester in places subject to high temperatures, humidity or excessive vibration.
- Before measurements, be sure the data hold switch is set to “OFF”. (It is impossible to make measurements if the data hold switch is set to “ON”.)
- Remove the battery if the tester will not be used for a long period of time.
Measurement of Leakage Current
Leakage current measurement for the grounded conductor
- Set the power switch to “ON” position.
- Set the range selector switch to a range appropriate to the current to be measured.
- Clamp the conductor of the circuit under test with the current transducer.
- If you make measurements in a dark place or in a place where it is difficult to see the readings, use the data hold switch.
Leakage current measurement for the single-phase or three-phase electric circuit.
- Set the power switch to “ON” position.
- Set the range selector switch to a range appropriate to the current to be measured.
- To measure a leakage current in a single-phase electric circuit, clamp the two conductors together. Or clamp the three conductors together in the case of the three-phase electric circuit.
- If you make measurements in a dark place or in a place where it is difficult to see the readings, use the data hold switch.
Measurement of Line Current
- Set the power switch to “ON” position.
- Set the range selector switch to a range appropriate to the current to be measured.Set the range selector switch to a range appropriate to the current to be measured.
- Clamp the conductor of the circuit under test.Clamp the conductor of the circuit under test.
- If you make measurements in a dark place or in a place where it is difficult to see If you make measurements in a dark place or in a place where it is difficult to see the readings, use the data hold switch.the readings, use the data hold switch.
Note: Clamp around only one conductor of the circuit to be measured.
CAUTION:
This tester is designed for low voltage applications.
To avoid electrical shock or damage, the measurement is limited to the circuit under 600V AC.
REPLACEMENT OF BATTERIES
When the battery becomes exhausted or drops below the operating voltage, the “
” mark is displayed. Turn the power switch to “OFF”, prior to installing batteries.
To install the batteries, remove the battery cover located on the unit back.(See Fig.2) Insert the two LR-44 or SR-44 into the battery case making sure that proper polarity is observed. (See Fig.3).
Always replace both batteries at the same time. If the difference between the voltages of the batteries is big, the measurement error may be caused.

MULTI MEASURING INSTRUMENTS CO.,LTD. Akihabara Murai Bldg. 7F, 1-26 Kanda Sakuma-cho, Chiyoda-ku, Tokyo 101-0025 JAPAN
TEL: +81-3-3251-7016 FAX: +81-3-3253-4278 Home Page: http://www.multimic.com
E-mail: [email protected]




















