HTC INSTRUMENT CM-2070C Digital AC Clamp Meter

SUMMARY
This 3 1/2 Digit Highly Stable clamp meter uses two AAA (1.5V) batteries. It has a LCD with 20mm digit display, which makes the reading clearer and the operation more convenient. It can test DCV, ACV, ACA, resistance, temperature, diode, continuity, as well as non-contact AC voltage test. It is equipped with clamp jaw lighting, Backlight, unit symbol display, True RMS, MAX, MIN, data hold function, auto power off and warning functions. It works in both auto range and manual range. To assure high accuracy and resolution, it adopts a micro-processor which drives the LCD directly and a dual integral A/D converter IC. It is an ideal tool for labs, factories radio-technology and household.
SAFETY NOTICE
The instrument is designed according to IEC1010 standard (safety standard issued by International Electro technical Committee). Please read the followings carefully before operation.
- Check the connection and insulation of test leads to avoid electric shock.
- To avoid electric shock and damage to the meter, do not input voltage higher than DC 1000V or AC 750V during measurement.
- Be seriously cautious when working with voltages above DC 60V or AC 36V.
- Select correct function and range to avoid shock and fault operation.
- Please move the test leads away from test points when switching the range.
- Please don’t input voltage in current terminal.
- Please don’t change the circuit randomly to avoid damaging the meter and danger.
- Introduction for safety symbols:

FEATURES
General Features
- Display: LCD.
- Max display: 2,000 (3 1/2 digits, auto polarity, and unit symbol display).
- Measurement method: Analog to digital converter (in micro processor ADC+MCU).
- Sampling rate: approx.3 times/sec.
- Over-range display: “OL” displayed.
- Low battery indicator: “ ”displayed.
- Working environment: (0~40)℃, relative humidity: <80%.
- Store condition: (-10~50)℃, relative humidity: <80%.
- Power: 2 X 1.5V batteries (AAA).
- Dimension: 270mm×123mm×35mm (length×width×height).
- Clamp open: Max. Open: 52mm.
- Weight: approx. 280g (including battery).
- Accessories: Accessories: user manual, test leads, temperature sensor TP01 banana probe, two AAA batteries.
Technical Features
- Accuracy: ± (a% × reading data + digits). To assure accuracy, the environment temperature should be (23±5) ℃, relative humidity be <75%.
One-year accuracy guarantee since production date. - DC Voltage(DCV)
Range Accuracy Resolution 200mV ± (0.5%+5)
0.1 mV 2V 1 mV 20V 10 mV 200V 100 mV 1000V ± (1.0%+5) 1V Input impedance: at 200mV range >40MΩ, at other ranges is 10MΩ. Overload protection: 1000Vrms.
- AC Voltage(ACV)
Range Accuracy Resolution 2V ± (1.0%+5)
1mV 20V 10mV 200V 100mV 750V ±(1.2%+5) 1V Input impedance: 10MΩ.
Overload protection: 1000Vrms.
Frequency response: 750V at 40Hz~1kHz, other ranges 40Hz~2kHz. Display: True Rms Response (calibration base on Sine Wave RMS). - AC Current(ACA)
Range Accuracy Resolution 2A ± (1.5%+5)
1mA 20A 10mA 200A 100mA 1000A 1 A Frequency response: Since Wave and Triangular Wave are 40Hz-1kHz, Others is 40Hz-2kHz.
Overload protection: 1200A (Do not input more than 60 seconds)
Attention: The target Current Conductor should be placed in the middle of Clamps. - Resistance(Ω)
Range Accuracy Resolution 200Ω ± (0.8%+5) 0.1Ω 2kΩ ± (0.8%+1)
1Ω 20kΩ 10Ω 200kΩ 100Ω 2MΩ 1kΩ 20MΩ ± (1.2%+5) 10kΩ Open-circuit Voltage: 500mV
Overload protection: 250Vrms.
NOTE: DO NOT input any voltage value at this range! - Diode and Continuity Test
Range Description Test Conditions 
Diode forward voltage drop Forward DC current is approx 0.8mA, reverse voltage is approx 2.2V. 
When the resistance under test is less than 50Ω, buzzer sounds continuously. Open circuit voltage: 2V Overload protection: 250Vrms.
WARNING: Do not apply any voltage at this range. - Temperature (℃/℉)
Range Accuracy Resolution -40℃~1000℃ <400℃:± (1.0%+5) ≥400℃ :± (1.5%+15)
1℃ -40℉~1832℉ <750℉:± (1.0%+5) ≥750℉:± (1.5%+15)
℉ Thermocouple: K type (Nickel-chromium-Nickel silicon). WARNING: Do not apply any voltage at this range.
OPERATION
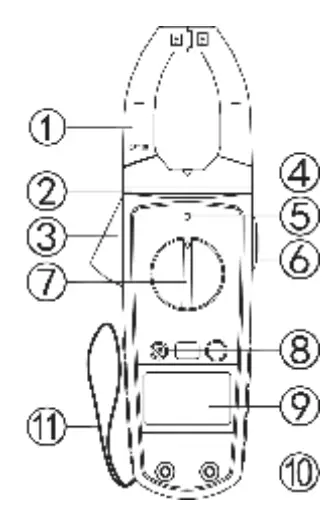
Panel Description
- Jaw: 0 to 1000A AC current and NCV detecting device.
- Hand protection: A safe design to protect users from touching the dangerous area.
- Clamp gunlock: Pressing the gunlock can turn on or off the clamp.
- Clamp light:Opening the clamp light can light up the tested area in the dark to prevent the danger.
- NCV indicator: Detect the existence of the high voltage around to prevent the electric shock.
- Hold button: When pressing this button, the current measured value will be kept on the LCD and cannot measure any new value at the moment. Press this Hold button again to exit the hold mode.
- Function choosing switch: Used to select the function, range or turn on or turn off the clamp meter.

- Function buttons:
SELECT /
KEY:- This is a key for Selecting function, base on a working principle of Trigger action. Short press this key to choose measurement modes: Choose DC or AC at
→
” , choose “℃” or “℉” when at Temperature range. - The Meter will be Auto-power off when it is not being used within 15 minutes, then it will be entering into sleeping mode, the Buzzer will makes 5 times of alarm reminder within 1 minute before Auto-power off; Please press this “SELECT” function or Power on/off button to turn on the Power if you want to restart it.
- Press this key and put it on Hold and then turn on the Power to awake it from sleeping mode, and then the Auto-power off function will be canceled.
- Illuminating lamp control key, press it for more than 2 minutes to turn on Illuminating lamp, and then press it for more than 2 minutes again to make it off.
RANGE KEY:
In voltage and resistance measurements, it is RANGE function, to choose from auto range or manual range. The meter is default in auto range. The symbol “AUTO” appears on LCD. Press this key for one time to switch to manual range. Press it again for one time to increase on step from low to high. Press it for more than two seconds to return to AUTO range.
MAX/MIN KEY:- is a key for Data hold. Press this key it’ll be entering into Manual Range Mode automatically, and shows MAX value, press it again to show MIN value.
- Press MAX/MIN key for more than 2 minutes to exit Data Hold mode. Auto-power off will be canceled when it’s been entered into MAX/MIN mode, also HOLD and SELECT functions will Not be available at this moment. Data Hold Key: Press HOLD key, the Meter will keeps the Data of measurement on LCD, press it again to exit Data Hold; Any new measurements CAN’T be started when using this Data Hold function.
HOLD/
KEY:- It is a key for Data Hold, base on a working principle of Trigger action, short press this key to keep the current Data of measurement on LCD, LCD will show symbol “ ”, press this key again to exit Data Hold.
- Backlight control key, press it for more than 2 minutes to turn on Backlight (it will be shown on LCD) then press it for more than 2 minutes again to make it off. Backlight function will be off automatically when you release backlight control key after 30 minutes.

- This is a key for Selecting function, base on a working principle of Trigger action. Short press this key to choose measurement modes: Choose DC or AC at
- LCD display: Displaying the measurement value and unit.


- V/Ω input terminal: Measurement inputs positive terminal (red test lead). COM input terminal: Measurement inputs negative terminal (black test lead).
- Carrying belt.
ACA measurement
- Turn the rotary switch to “ A~” range.
- Open the clamp jaw and grip one wire and get the reading directly.
- To get the most precise reading, should user put the wire in the middle of the close jaw.
Note:
- Firstly users should select the highest range, if users are not sure about the range of current under test, and then select the proper range based on displaying value.
- If the LCD displays “OL”, it means the current is over range. Should the user select a higher range.
- Maximum input current is 1000A. Current higher than that would damage the fuse, and may cause damage to the circuit of meter.
DCV measurement
- Insert the black test lead into “COM” jack and read one into “V/Ω” jack.
- Turn the function swift to Voltage range. This meter defaults to ACV measurement. Press “SELECT” to choose DV or AC measurement.
- This meter defaults Auto Range mode and displays “AUTO” on the LCD. Press “RANGE” key to swift to Manual Range mode. The selectable ranges are 200mV, 2V, 20V, 200V and 1000V.
- Connect test lead to the test point, LCD will display voltage and polarity of the test point connected by red test lead.
Note:
- Under Manual Range mode, if the LCD displays “OL”, it means over range, user should turn to a higher range.
- Do not input a voltage over 1000V or it may cause damage to the circuit of the meter.
- Be careful while measuring a high voltage circuit. DO NOT touch the high voltage circuit.
- The buzzer will beep to alert the user when the measuring voltage is over 1000V.
ACV measurement
- Insert the black test lead into “COM” terminal, and the red one into “V/Ω” terminal.
- Set the rotary switch to “Voltage” range. This meter defaults ACV measurement mode. Press “SELECT” key to turn to DC or AC measurement mode.
- Auto Range is the original states of this meter. It will display “AUTO” symbol on LCD. Press “RANGE” key to change to Manual Range mode. 2V, 20V, 200V, 750V ranges are selectable.
- Connect test leads to the test point. LCD will display voltage of the two test points.
Note:
- Under Manual Range mode, if LCD displays “OL”, it means over range, user should select a higher range.
- Do not input a voltage over AC 750V. It may cause damage to the circuit of the meter.
- Be careful while measuring a high voltage circuit. Do not touch the high voltage circuit.
- The buzzer will beep to alert the user, when the measuring voltage is over AC750V.
Non-Contact Voltage Detecting
WARNING
This Function might be disturbing by different external Sources, then might be incurred a wrong alarm reminder, test result is just for reference when using this function.
Turn Switch button to “NCV” position, the Target Circuit to be placed on the top of Meter, Meter will shows strong and weak signals, meanwhile, Beeper will makes “tick-tick-tick” of alarm reminder.
Note:
- Even if there is no any indication, the voltage might still be there. Do not rely on NCV detector as the only way to judge whether a Voltage is still existed on the Wire lead or not.
- Voltage detecting may be affected by power socket design, type of insulation and its thickness and other factors.
- Interference sources at the external environment such as flashing light, motor might cause a wrong signal for a wrong judgement.
Resistance measurement 
- Insert the black lest lead into “COM” terminal and the red one into “V/Ω” terminal.
- Set the rotary switch to “Ω” range.
- Auto range is the original state of this meter. Press “RANGE” key can choose manual range.
Note:
- Please select the highest range, if the value of resistance is unknown, and then select the proper range based on the displayed value.
- The LCD displays “OL” when the resistance is over the selected range and the knob should be adjusted to a higher range. When measuring value is over 1MΩ, the reading will take a few seconds to be stable. This is normal for high resistance measurement.
- When input terminal is in open circuit, LCD will display “OL”.
- Before measuring in line resistor, make sure that the power is off and all capacitors have discharged completely.
- When there is a big error, it may be affected by other online component or there is voltage on the resistor.
- Do not apply any voltage at resistance range.
Diode and Continuity test
- Insert the black test lead into “COM” terminal and the red one into “V/Ω” terminal (the polarity of red lead is “+”).
- Set the rotary switch to
range. The original state is diode measurement mode. - Forward measurement: Connect red test lead to the positive polarity and the black test lead to the cathode polarity of the diode. LCD will display the approx. value of forward voltage drop.
- Backward measurement: connect red test lead to the cathode polarity and the black test lead to positive polarity of the diode. LCD will display “OL”.
- The complete diode testing includes forward and backward measurement, if the result doesn’t meet the descriptions above; it means the diode is broken.
- Press SELECT key to select the continuity measurement mode.
- Connect test leads to two points of tested circuit, if the resistance is less than 50Ω, the buzzer sounds.
Note:
- Don’t input voltage at “
” range. - When test circuits, make sure the power is off and all capacitors are discharged. Any negative potential or AC signal will make the buzzer sounds.
Temperature measurement
- Turn Switch button to “℃/℉”, press “SELECT/
”key to choose ℃ or ℉ measurement mode. - Insert the black plug of the thermocouple sensor into “COM” and red one into “V/Ω” jack, and put the working terminal (temperature measuring end) of the thermocouple on the surface or inside the object to be tested. Then you can read the temperature from the screen, and the data is in Centigrade.

Note:
- If insert the thermocouple oppositely, it will display the wrong value. When the temperature is rising, the value will be down.
- When the input terminal is open circuit, it will display the environment temperature.
- Don’t change the temperature probe randomly, or the accuracy will not be guaranteed.
- Don’t input voltage at temperature range.
MAINTENANCE
The meter is a precise instrument. Random changes to the circuit should be avoided.
Note:
- DO NOT put voltage higher than DC 1000V or AC 750V rms.
- DO NOT apply voltage in current, resistance, diode and continuity range.
- DO NOT make any measurements when the battery isn’t installed or the back cover isn’t fixed.
- Before replacing battery or fuse, please remove the test leads from the measuring point and turn off the power.
- Keep the meter away from water, dust and shock.
- DO NOT use the meter under high temperature, high humidity, combustible, explosive and strong magnetic environments.
- Clean the case with a damp cloth and mild detergent only. DO NOT use abrasives or alcohol or any other strong solvents to clean the meter.
- To avoid leakage damage, please take out the battery if the meter will not be used for a long time.
- a) Unscrew the screw on the battery door and remove the cover.
- b) Replace the old battery with a new one. (For long life, it’s better to use alkaline battery.)
- c) Replace the battery door and tighten the screw.
TROUBLESHOOTING
If the meter does not work properly, please check the meter as following steps: (If the problems still Persists, please contact the repairing center or the local dealer.)
| Fault | Checking site and Solution |
| No reading on LCD | n Power Switch: Turn on the power n Battery: Replace the battery n Hold Key: Release the HOLD key |
| signal displaying | n Battery: Replace battery |
| Big error value | n Battery: Replace battery |
- The specifications are subject to changes without prior notice.
- The content of this manual is regarded as correct. If users find out any mistakes or omissions, please kindly contact the manufacturer.
- The manufacturer will not be responsible for accidents and damage caused by improper operations.
- The functions described in this User Manual shall not be considered as the reason for any special usages.




KEY:



range. The original state is diode measurement mode.



















