Electrobes 220+ AC Current Mini Digital Clamp Tester Instruction Manual

AC CURRENT MINI DIGITAL CLAMP TESTER MODEL 220+
INSTRUCTION MANUAL
Thank you very much for selecting our digital AC current clamp-on tester.
This model is complex instrument and employ a very reliable mechanical/electronic design.
Before you use your new instrument, read this Instruction
Manual completely and familiarize yourself thoroughly with all functions.
With proper use and care, your tester will give you years of satisfactory service.
1. FEATURES
- Wide range of current measurements from AC 0.01A to 200A with 33mmφ CT.
- Data hold function. Especially useful when working in dark or hard to get areas.
- Ultra compact size and high accurate AC clamp-on tester.
- Conform to IEC safety standard.
2. SPECIFICATION
| Measuring method | Dual integration mode |
| Display | LCD, 3200 count |
| Range | 30A/300A(Automatic) |
Accuracy: AC 50/60Hz (23℃±5℃, less than 80% RH)
| Range | Mini. Resolution | Accuracy |
| AC 30A | 0.01A | ±1.2%rdg ±10dgt |
| AC 300A | 0.1A |
| Jaw opening capability | 33mmφ |
| Over range indication | “OL” mark on LCD |
| Low battery indication | “ “mark on LCD in case of 2.5V~2.7V |
| Data hold indication | “D・H” mark on LCD readout |
| Auto power off function | Available |
| Sampling time | 2 times/sec. |
| Limitation of circuit voltage | Less than AC 600V |
| Operating temperature | 0℃ to +40℃, <80%RH (non-condensing) |
| Storage temperature | -10℃ to +60℃, <70% RH (non-condensing) |
| Power supply | LR-44(1.5V)x2 or SR-44(1.5V)x2 |
| Power consumption | Approx. 5mW |
| Size | 54(W)x152(H)x23(D)mm |
| Weight | Approx. 85g |
| Accessories | Batteries (LR-44)……………….. 2 Instruction manual…………….. 1 Soft case………………………………. 1 |
CAUTION
- Before o perating this instrument, familiarize yourself with al l instructions outlined in this manual.
- Always check to make sure that the function switch is set to the proper position.
- When making measurements, use CAUTION as dangerous voltages ma y be present in normally safe areas.
- To avoid electrical shock, use CA UTION when working above 60V DC or 25V AC rms. Such voltages pose a shock hazard.
- Never make measurements with the battery cover OFF.
- Never fail to keep the maximum tolerable input.
- N ever operate this instrument if it becomes wet, damp or has any liquid condensation build up on any part of the instrument.
- Never make measurements for uninsulated conductors or bus bars.
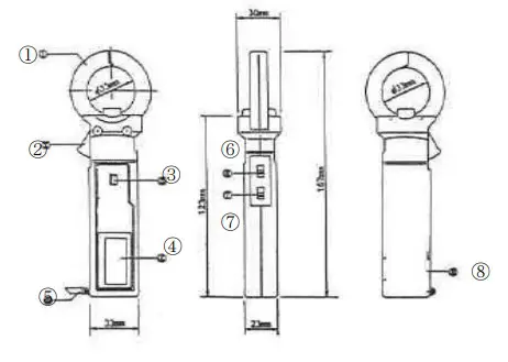
4. DIMENSIONS AND PANEL FUNCTION

- Current transducer (Jaw)
- Hand strap
- Jaw opening lever
- Range switch
- Data hold switch
- Power switch
- LCD display
- Battery cover
5. METHOD OF MEASUREMENT
5-1 Preparation and Caution before Measurement
- Before making measurement, install the batteries. (Two LR-44 or SR-44)
- Avoid using the tester in places subject to high temperature, humidity or excessive vibration.
- Do not use or store the tester in an area subject to magnetic fields or electric noises. Unstable reading and measurement error may result.
- Before measurement, be sure the data hold switch is set to “OFF”. It is impossible to make measurement if the data hold switch is set to “ON”.
- Remove the batteries, if the tester will not be used for a long period.
5-2 AC Current Measurement
- Set the power switch to “ON” position.
- Set the range selector switch to appropriate range to the current to be measured.
- Clamp the conductor of the circuit under test with current transducer.
Note: Clamp around only one conductor in the circuit to be measured.
- Read the displayed value.
- If you make measurement in a dark place or in a place where it is difficult to see the readings, use the data hold switch.
- After measurement, set the power switch to “OFF”
CAUTION:
This tester is designed for low voltage applications.
To avoid electrical shock or damage, the measurement is limited to the circuit under 600V AC.
6. REPLACEMENT OF BATTERIES
When the battery becomes exhausted or drops below the operating voltage, the “B” mark is displayed. Turn the power switch to “OFF”, prior to installing batteries.
To install the batteries, remove the battery cover located on the unit back. (See Fig.2) Insert the two LR-44 or SR-44 into the battery case making sure that proper polarity is observed. (See Fig.3)
Always replace both batteries at the same time. If the difference between the voltages of the batteries is big, the measurement error may be caused.

REPAIR SERVICE
When requesting for repair service, please bring the instrument directly to the dealer where you bought.
When mailing the instrument, always pack it in its original or equivalent packing materials to avoid any damage during the transportation and also put together with documents showing your name, address, phone number and defect point.
WARRANTY
This instrument is sent out from our factory after the sufficient internal inspections but if you find any defect due to the fault in our workmanship or the original parts, please contact the dealer where you bought the instrument.
The warranty period is 12 months from the date of purchase and the instrument shall be repaired at free of charge, provided that we judge the cause of defect is obviously resulted from our responsibility
MULTI MEASURING INSTRUMENTS CO.,LTD.
Akihabara Murai Bldg., 7F, 1-26 Kanda Sakuma-cho,
Chiyoda-ku, Tokyo,101-0025 Japan
TEL : 81-3-3251-7016 FAX : 81-3-3253-4278
Home Page : http://www.multimic.com/
E-mail : [email protected]




















