
MANUAL

Thank you for purchasing Setty GB-500 Bluetooth speaker.
Please read the manual carefully before using the product to learn more about the functions and operation way. Do not modify or repair the device on your own. Doing so may result in electric shock, other injuries, complete breakdown of the device or loosing warranty. We hope that you will enjoy the product by Setty.
Importer’s data:
TelForceOne S.A.
ul. Krakowska 119
50-428 Wrocław
Polska
Designed in Poland
Produced in PRC
SPECIFICA TION:
Rated Power: 3 W
Battery Capacity: 1200 mAh
Bluetooth version: 4.2
Inputs: micro USB, USB, AUX 3,5 mm
Micro SD card support: yes
FM radio: yes
Input voltage: 5 V⎓
Working time: up to 6 hours
Signal to noise ratio (SNR): ≥65 dB
Frequency response: 150 Hz – 20 KHz
Working range: ≥10 m
| Transmission frequency | Maximum radiated power |
| 2402-2480MHz | 1,6dBm(EIRP) |
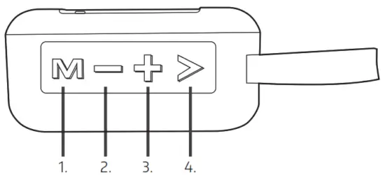
APPEARANCE
DIAGRAM
- MODE button
- Volume DOWN
- Volume UP
- PLAY/PAUSE button
- SD card slot
- USB slot
- Micro USB charging port
- ON/OFF
TURNING THE DEVICE ON
Turning on and Bluetooth mode:
To turn on the speaker, move the switch (8), to the “ON” position, and backward to turn it off. When turned on the spe- aker automatically enters the Bluetooth mode by efault. Search for the speaker model with the Bluetooth function on your mobile device and select the speaker from available devices, when paired you will hear the notification “connected”. When the speaker is turned on, it will automatically connect to the last device connected before shutdown. If you want to swap devices connected, unpair saved evice then repeat the action.
Music playing:
When playing music click (3) PLAY/PAUSE button to pause music, and click it again to restore it. To play next track use (3) button and increase by holding it, to decrease sound volume press and hold (2) button, press it once to play pervious track.
Call mode:
To answer the phone press (4) PLAY/PAUSE button and to reject it press and hold it. During the phone call pressing (4) button hangs up the call. In Bluetooth state double-click on the same button to redial the last number.
FM radio mode:
Turn on the device and press the MODE button to switch the speaker to FM mode. Connect the charging line to the antenna. Press and hold (4) button to automatically search and save a radio station and (2) and (3) buttons to convert.
Mode switch:
When turned on put SD card/USB and the speaker it will enter SD card mode/USB automatically. If there is no SD card/ USB, it will automatically enter Bluetooth mode by default. Click the (1) key to switch to FM radio/AUX audio input/Bluetooth mode play.
Charging mode
Connect the charging wire, when the red light will be on it is charging. Charging is finished when the light goes off. The speaker will shut down automatically in 10 minutes when not in use.
Warnings:
- Keep the speaker away from moisture and heat.
- Long-term listening to loud music may lead to hearing impairment and health problems.
- When listening to a musing and driving, pay special attention to the surroundings.
TelForceOne S.A. declares that the product is compatible with requirements and other relevant provisions of the 2014/53/UE directive. You can download the declaration of product on the website https://manual.setty.pl
Markings
Electrical and electronic devices may not be disposed of with domestic waste. By recycling, reusing the materials, or other forms of utilising old devices, you are making an important contribution to protect our environment.
Correct disposal of used batteries According to the EU Directive 2006/66/EC with changes contained in EU Directive 2013/56/ UE on the disposal of batteries, this product is marked with a crossed-out garbage bin symbol. The symbol indicates that the batteries used in this product should not be disposed of with regular household waste, but treated according to the legal directives and local regulations. It is not allowed to dispose of batteries and accumulators must use the available collection points of these items, to be returned, recycled and disposed of. Within the EU, the collection and recycling of batteries and accumulators is subject to separate procedures. To learn more about existing procedures of recycling of batteries and accumulators please contact your local office or an institution for waste disposal or landfill.! Giving this type of waste in the right places will help to conserve natural resources
The device and accessories are in line with the directives on operational safety, health and environmental protection referred to in the declaration of conformity. It is compatible
with the provisions of the New Approach Directives. Separate collection of used products and packing allows materials to be recycled and used again.


















