
MANUAL

Thank you for purchasing the GB-600 Bluetooth speaker from Setty. Please read the manual carefully before using the product to learn more about the functions and operation way. Do not modify or repair the device on your own. Doing so may result in electric shock, other injuries, complete breakdown of the device, or losing the warranty. We hope that you will enjoy the product by Setty.
Importer’s data:
TelForceOne S.A. ul. Krakowska 119 50-428 Wrocław Polska Designed in Poland Produced in PRC
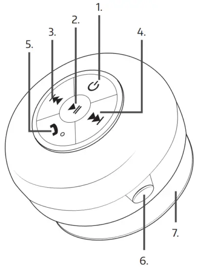
Image Description
- ON/OFF button
- Play/Pause button
- Previous track/Decrease volume button
- Next track/Increase volume button
- Answer/Reject a call button
- Charging port
- Suction cup
Specification
Rated Power: 3 W
Battery Capacity: 300 mAh
Bluetooth version: 5.0
Waterproof: IPx4
Input voltage: 5 V ⎓
Working time: up to 3 hours
Working range: ≥ 10 m
Signal-to-noise ratio: ≥75 dB
Frequency response: 100 Hz – 20 kHz
Built-in microphone: yes
| Transmission frequency | Maximum radiated power |
| 2402-2480MHz | 3,6dBm(EIRP) |
Charging
The speaker has a built-in battery to prevent damage to the set, please do not remove the battery yourself. Connect the cable from the USB connector to a power source with a maximum voltage of 5 DC for example mobile phone charger. Connect the cable with a micro USB connector to the speaker. Charging is indicated by the red LED diode. The diode goes off when the speaker’s fully charged.
Turning On/Off
To turn on the speaker, press and hold the ON/OFF button, then release it. To turn it off, press and hold the ON/OFF button again, then release it.
Bluetooth connection
- Press and hold the ON/OFF button until the blue LED diode is flashing.
- Go to your device’s settings and turn on the Bluetooth mode.
- Search for the speaker “Setty GB-600”.
- Pair your devices. For some phones pin code “0000” might be required.
- Correct connection will be confirmed by voice notification.
Listening to the music
To play music on the speaker, please pair it with your device. Press (2) button to play music, and click it again to pause it. To play the next track use the (4) button and increase by holding it, to decrease sound volume press and hold the (3) button, press it once to play the previous track.
Receiving calls
To receive calls, press the (5) button, and to reject a call press and hold briefly the same button (5). In order to call back the last dialed number, press the (5) button twice.
Troubleshooting
Make sure that both devices are turned on. Make sure that the Bluetooth mode is enabled on your device. Check the distance between the devices is not over 10 meters. If you still have trouble using it, please try removing “Setty GB600” from the list of paired devices on your phone, then connect it again following the steps in the “Bluetooth connection” chapter.
Additional information
Prolonged exposure to loud music may lead to hearing impairment and hearing loss and other injuries. When listening to a musing and driving, pay special attention to the surroundings.
TelForceOne S.A. declares that the product is compatible with requirements and other relevant provisions of the 2014/53/UE directive. You can download the declaration of product on the website https://manual.setty.pl
Markings
Electrical and electronic devices may not be disposed of with domestic waste. By recycling, reusing the materials, or other forms of utilizing old devices, you are making an important contribution to protecting our environment.
Correct disposal of used batteries
According to the EU Directive 2006/66/EC with changes contained in EU Directive 2013/56/ UE on the disposal of batteries, this product is marked with a crossed-out garbage symbol. The symbol indicates that the batteries used in this product should not be disposed of with regular household waste, but treated according to the legal directives and local regulations. It is not allowed to dispose of batteries and accumulators must use the available collection points of these items, to be returned, recycled, and disposed of. Within the EU, the collection and recycling of batteries and accumulators are subject to separate procedures. To learn more about existing procedures for recycling batteries and accumulators please contact your local office or an institution for waste disposal or landfill.
Giving this type of waste in the right places will help to conserve natural resources
The device and accessories are in line with the directives on operational safety, health and environmental protection referred to in the declaration of conformity. It is compatible with the provisions of the New Approach Directives.
A separate collection of used products and packing allows materials to be recycled and used again.
![]()



















