SUNNY HEALTH FITNESS SF-RB422003 Essential Interactive Series Recumbent Bike

IMPORTANT! Please retain owner’s manual for maintenance and adjustment instructions. Your satisfaction is very important to us, PLEASE DO NOT RETURN UNTIL YOU HAVE
CONTACTED US: [email protected] or 1-877-90SUNNY (877-907-8669).
IMPORTANT SAFETY INFORMATION
We thank you for choosing our product. To ensure your safety and health, please use this equipment correctly. It is important to read this entire manual before assembling and using the equipment. Safe and effective use can only be achieved if the equipment is assembled, maintained and used properly. It is your responsibility to ensure that all users of the equipment are informed of all warnings and precautions.
- Before starting any exercise program, you should consult your physician to determine if you have any medical or physical conditions that could put your health and safety at risk, or prevent you from using the equipment properly. Your physician’s advice is essential if you are taking medication that affects your heart rate, blood pressure or cholesterol level.
- Be aware of your body’s signals. Incorrect or excessive exercise can damage your health. Stop exercising if you experience any of the following symptoms: pain, tightness in your chest, irregular heartbeat, shortness of breath, lightheadedness, dizziness or feelings of nausea. If you do experience any of these conditions, you should consult your physician before continuing with your exercise program.
- Keep children and pets away from the equipment. The equipment is designed for adult use only.
- Use the equipment on a solid, flat level surface with a protective cover for your floor or carpet. To ensure safety, the equipment should have at least 4 feet (1.2 M) of free space all around it.
- Ensure that all nuts and bolts are securely tightened before using the equipment. The safety of the equipment can only be maintained if it is regularly examined for damage and/or wear and tear.
- Always use the equipment as indicated. If you find any defective components while assembling or checking the equipment, or if you hear any unusual noises coming from the equipment during exercise, discontinue use of the equipment immediately and do not use until the problem has been rectified.
- Wear suitable clothing while using the equipment. Avoid wearing loose clothing that may become entangled in the equipment.
- Do not place fingers or objects into the moving parts of the equipment
- The maximum weight capacity of this unit is 220 pounds (100 KG).
- The equipment is not suitable for therapeutic use.
- Use caution when lifting and moving the equipment. Always use proper lifting technique and seek assistance if necessary.
- Your product is intended for use in cool, dry conditions. You should avoid storage in extreme cold, hot or damp areas as this may lead to corrosion and other related problems.
- This equipment is designed for indoor and home use only! It is not intended for commercial use!
PRE-ASSEMBLY CHECK LIST
Before you start to assemble, please make sure all parts are included.

PARTS LIST
| No. | Description | Spec. | Qty. |
| 1 | Main Frame | 1 | |
| 2 | Handlebar Post | 1 | |
| 3 | Rear Support Tube | 1 | |
| 4 | Slide Rail | 1 | |
| 6 | Handlebar | 1 | |
| 8 | Adjustment Handle | 1 | |
| 10 | Front Stabilizer | 1 | |
| 11 | Rear Stabilizer | 1 | |
| 18L/R | Pedal | 1pr. |
| No. | Description | Spec. | Qty. |
| 28 | Tension Controller | 1. | |
| 34 | Seat | 1 | |
| 49 | Backrest | 1 | |
| 92 | Meter | 1 | |
| A | Manual | 1 | |
| B | Thank You Card | 1 | |
| C | Hardware Package | 1 | |
| D | Battery | 2 |
HARDWARE PACKAGE

Ordering Replacement Parts (U.S. and Canadian Customers only)
Please provide the following information in order for us to accurately identify the part(s)
needed:
✓ The model number (found on cover of manual)
✓ The product name (found on cover of manual)
✓ The part number found on the “EXPLODED DIAGRAM” and “PARTS LIST” (found near the front of the manual)
Please contact us at [email protected] or 1.-.877.-.90SUNNY (877-907-8669).
ASSEMBLY INSTRUCTIONS
We value your experience using Sunny Health and Fitness products. For assistance with parts or troubleshooting, please contact us at [email protected] or 1-877-90SUNNY (877-907- 8669
STEP 1 Remove the 4 preassembled Carriage Bolts (No. 13), 4 Arc Washers (No. 14) and 4 Cap Nuts (No. 15) from 2 Paper Tubes (No. A) with Spanner (No. 88).
Attach the Front Stabilizer (No. 10) and the Rear Stabilizer (No. 11) to the Main Frame (No. 1) with 4 Carriage Bolts (No. 13), 4 Arc Washers (No. 14) and 4 Cap Nuts (No. 15) using the Spanner (No. 88).

We value your experience using Sunny Health and Fitness products. For assistance with parts or troubleshooting, please contact us at [email protected] or 1-877-90SUNNY (877-907- 8669).
STEP 2
A: Connect the Pulse Connecting Wire 1 (No. 23) to the Pulse Connecting Wire 2 (No. 24) and connect the Sensor Wire (No. 21) to the Sensor Connecting Wire (No. 22). Insert the Tension Hook (No. 20) from the Main Frame (No. 1) to the inside tube of the Handlebar Post (No. 2), then pull it out of the hole on the Handlebar Post (No. 2). Finally connect Tension Hook (No. 20) with Tension Controller (No. 28) as shown in Diagram A.
Note: Make sure the Tension Controller (No. 28) is at the lowest level before you connect the cable. This ensures the wires are at their longest point. We recommend the assistance of a second person to help hold the Handlebar Post (No. 2). This will make the connection easier when you are attaching Tension Hook (No. 20) to the cable.
B: Remove the preassembled Rear Cover (No. 29), Flat Washer (No. 30) and Screw (No. 31) from the Tension Controller (No. 28) with Spanner (No. 88). Lock the Tension Controller (No. 28) to the Handlebar Post (No. 2) with the Rear Cover (No. 29), Flat Washer (No. 30) and Screw (No. 31) with the Spanner (No. 88).
C: Insert the Handlebar Post (No. 2) into the post of the Main Frame (No. 1); secure with 4 Arc Washers (No. 14) and 4 Screws (No. 27) with the Allen Wrench (No. 87).
Note: Ensure that all bolts and washers are in place and partially threaded in before completely tightening any of them.

STEP 3
Connect the Pulse Connecting Wire 2 (No. 24) and Pulse Connecting Wire 3 (No. 25).
Lock the Rear Support Tube (No. 3) to the Main Frame (No. 1) with 2 Hex Socket Pan Head Screws (No. 36), 4 Flat Washers (No. 35) and 2 Nylon Nuts (No. 37) with the Spanner (No. 88) and Allen Wrench (No. 87). Then cover with 2 Caps (No. 90)
Note: Do not damage any wires when locking the Rear Support Tube (No. 3) to the Main Frame (No. 1).

STEP 4
Remove the preassembled 6 Screws (No. 27) and 6 Flat Washers (No. 35) from the Slide Rail (No. 4) using the Allen Wrench (No. 87). Then lock the Slide Rail (No. 4) to the Rear Support Tube (No. 3) and the Main Frame (No. 1) with 6 Screws (No. 27) and 6 Flat Washers (No. 35) that were just removed using the Allen Wrench (No. 87).
Remove 2 Screws (No. 40) from the Adjustment Handle (No. 8) using the Allen Wrench (No. 89), then lock the Adjustment Handle (No. 8) to the Adjustment Block Axle (No. 7) with 2 Screws (No. 40) using the Allen Wrench (No. 89)

STEP 5
Lock the Seat (No. 34) to the Seat Tube (No. 5) with 4 Screws (No. 27) and 4 Flat Washers (No. 35) using the Allen Wrench (No. 87). Lock the Handlebar (No. 6) to the Seat Tube (No. 5) with the Carriage Bolt (No. 51), 2 Flat Washers (No. 35), Screw (No. 27) and Nylon Nut (No. 37) using the Allen Wrench (No. 87) and Spanner (No. 88).
Then cover with the Cap (No. 90).
Connect the Pulse Connecting Wire 3 (No. 25) to the Pulse Wire (No. 26).
Lock the Backrest (No. 49) to the Seat Tube (No. 5) with 2 Hex Socket Pan Head Screws (No. 50), 2 Flat Washers (No. 35) using the Allen Wrench (No. 89).

STEP 6
Attach the Pedals (No. 18L/R) to the Crank (No. 91) using the Spanner (No. 88).
NOTE: Make sure to attach Right Pedal (No. 18R), marked (R), to the right side of the Crank (No. 91). It should be tightened clockwise. Attach the Left Pedal (No. 18L), marked (L), to the left side of the Crank (No. 91). It should be tightened counter-clockwise. Attaching the Pedals (No. 18L/R) to the wrong Crank (No. 91) or turning it the wrong direction can damage the Crank (No. 91).

STEP 7
Remove the preassembled 4 Screws (No. 32) from the Meter (No. 92) using the Spanner (No. 88).
Connect the Sensor Connecting Wire (No. 22) and Pulse Connecting Wire 1 (No. 23) to the relative wires of Meter (No. 92), then lock the Meter (No. 92) to the bracket of Handlebar Post (No. 2) using 4 Screws (No. 32) that were just removed with the Spanner (No. 88).
Note: To avoid damaging the wires, please push them into the Handlebar Post (No. 2) before secure the Meter (No. 92) onto the bracket.
THE ASSEMBLY IS COMPLETE!

ADJUSTMENT GUIDE
ADJUSTING THE SEAT POSITION
To move the Seat (No. 34) forward or backward, while seated on the bike, put your feet on the floor. Shift the Adjustment Handle (No. 8) down to loosen. Move the Seat (No.34). Shift the Adjustment Handle (No. 8) up to secure.

ADJUSTING THE LEVEL
If at any point the bike does not feel level, you can adjust the Rear End Caps (No. 19).

ADJUSTING THE TENSION
Adjust the tension by rotating the Tension Controller (No. 28) clockwise to increase the level of resistance. Rotate the Tension Controller (No. 28) counter-clockwise to decrease the level of resistance.
Tension levels are set at Level 1 being the lowest and Level 8 being the highest.

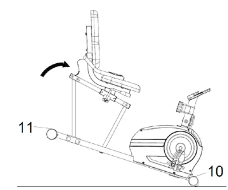
MOVING THE BIKE
Lift the bike by the Rear Stabilizer (No. 11) until the wheels on the Front Stabilizer (No. 10) touch the floor. You can now move the bike to your desired location with ease

BATTERY INSTALLATION & REPLACEMENT
BATTERY INSTALLATION
- Take out 2 AAA batteries from computer box.
- Press the buckle of battery cover on the Meter (No. 92), then remove battery cover.
- Install 2 AAA batteries into the battery case on the back of the Meter (No. 92). Pay attention to the battery + and – poles before installing.
- Press the buckle of battery cover, then put the battery cover back to the back of the Meter (No. 92).
The installation is complete!
BATTERY REPLACEMENT
- Press the buckle of battery cover on the back of the Meter (No. 92), then remove battery cover.
- Remove the 2 old AAA batteries in the battery case and install 2 new AAA batteries into the battery case on the back of the Meter (No. 92). Pay attention to the battery + and – poles before installing.
- Press the buckle of battery cover, then put the battery cover back to the back of the Meter (No. 92).
The replacement is complete!
BATTERY DISPOSAL
Dispose the batteries according to the laws and regulations of your local region. Some batteries may be recycled. When disposing or recycling, do not mix battery types.
EXERCISE METER
KEY FUNCTION

- This key lets you to select and lock on to a particular function you want.
SCAN→TIME→SPEED(SPD) →DISTANCE(DIST)
→CALORIES(CAL)→TOTAL DIST(ODO) →RPM
→PULSE - Pressing and hold with 3 seconds to reset the value to zero(without ODO).
SLEEP MODE
- The system turns off automatically if no activity or keys pressed for approximately 4 minutes.
- The system turns on when the MODE key is pressed or activity is signaled.
FUNCTION
- SCAN : Meter will rotate through all functions every 6 seconds.
- TIME : Counts the total time from starting to finish.
- SPEED: Displays the current speed.
- DISTANCE : Counts the distance of an exercise from start to finish.
- CALORIE : Counts total calories burned during exercise from start to finish.
- TOTAL DIST: Counts the total distance with from start to finish. If the battery is replaced, the value returns to zero.
- RPM: The average number of turns per minute of the wheel to measure the speed of the pedal.
- PULSE : The current pulse rate.
SPECIFICATIONS
|
FUNCTION | SCAN | 6S |
| TIME | 0:00-99:59(M :S) | |
| SPEED | 0.0~999.9KPH(MPH) | |
| DIST | 0.00~999.9KM(MILE) | |
| ODO | 0.0~999.9KM(MILE) | |
| CAL | 0.0~999.9KCAL | |
| PULSE RATE | 40~240BPM | |
| BATTERY | SIZE-AAA, 2PCS | |
| Operating temperature | 0~40℃(32℉-104℉) | |
| Storage temperature | -10~60℃((14℉-140℉) | |
APP CONNECTION
- Scan the QR code below to download the Sunny Fit app onto your mobile device.

- If this is your first time using the Sunny Fit app, follow the in-app instructions to register for your free Sunny Fit account and log in.
- Ensure that the Bluetooth function is turned on from your mobile device.
- To connect the equipment to the Sunny Fit app:
a. From the “Workout” tab, press on the “Search” button to search for your equipment.
b. Once your equipment appears on the list, tap the “Select” button to confirm.
c. Note: If your equipment does not appear on the “Searching for Equipment” list, check the METER on your equipment to ensure that it is not in sleep mode and your phone’s Bluetooth function is on, then tap “Retry” to search again.
d. Once your equipment shows up on the “Workout” tab as “Currently Selected”, your equipment is now ready to display, track, and record your equipment’s workout stats on the app! - If you are unable to replicate these steps, or have any other issues with the Sunny Fit app, please contact Sunny Fit support at [email protected], or use the in-app “Contact Us’ form to request support (“Me” tab -> “Contact Us”).
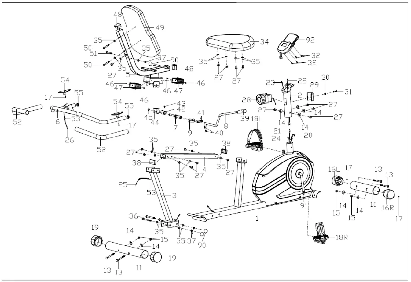
EXPLODED DIAGRAM 1

EXPLODED DIAGRAM 2

PARTS LIST
| No. | Description | Spec. | Qty. |
| 1 | Main Frame | 1 | |
| 2 | Handlebar Post | 1 | |
| 3 | Rear Support Tube | 1 | |
| 4 | Slide Rail | 1 | |
| 5 | Seat Tube | 1 | |
| 6 | Handlebar | 1 | |
| 7 | Adjustment Block Axle | 1 | |
| 8 | Adjustment Handle | 1 | |
| 9 | Fixed Plate 3 | 1 | |
| 10 | Front Stabilizer | 1 | |
| 11 | Rear Stabilizer | 1 | |
| 12 | Refer to #91 | – | |
| 13 | Carriage Bolt | M8xL74 | 4 |
| 14 | Arc Washer | Ф8.5×1.5xФ25x R33.5 | 8 |
| 15 | Cap Nut | M8 | 4 |
| 16L/R | Front End Cap | 1pr. | |
| 17 | Cross Pan Head Self-Drilling Screw | ST4.2×18 | 11 |
| 18L/R | Pedal | 1pr. | |
| 19 | Rear End Cap | 2 | |
| 20 | Tension Hook | 1 | |
| 21 | Sensor Wire | 1 | |
| 22 | Sensor Connecting Wire | 1 | |
| 23 | Pulse Connecting Wire 1 | 1 | |
| 24 | Pulse Connecting Wire 2 | 1 | |
| 25 | Pulse Connecting Wire 3 | 1 | |
| 26 | Pulse Wire | 1 | |
| 27 | Screw | M8x16 | 15 |
| 28 | Tension Controller | 1. | |
| 29 | Rear Cover | 1 | |
| 30 | Flat Washer | 1 | |
| 31 | Screw | 1 | |
| 32 | Screw | 4 | |
| 33 | Refer to #92 | – | |
| 34 | Seat | 1 | |
| 35 | Flat Washer | D8x1.5xФ16 | 18 |
| 36 | Hex Socket Pan Head Screw | M8x100 | 2 |
| 37 | Nylon Nut | M8 | 3 |
| 38 | Square Cap | 2 | |
| 39 | Fixed Handlebar Glove | 1 | |
| 40 | Screw | M6x10 | 2 |
| 41 | Screw | M6x16 | 2 |
| 42 | Eccentric Wheel | 1 | |
| 43 | Screw | M8x10 | 1 |
| 44 | Upper Block | 1 | |
| 45 | Axle Spring Washer | D12 | 3 |
| 91 | Crank | 1 |
| No. | Description | Spec. | Qty. |
| 46 | Cross Pan Head Self-Drilling Screw | ST3.5×8 | 4 |
| 47 | Bushing | 2 | |
| 48 | Square Bushing | 2 | |
| 49 | Backrest | 1 | |
| 50 | Hex Socket Pan Head Screw | M8x50 | 2 |
| 51 | Carriage Bolt | M8x60 | 1 |
| 52 | Foam Grip | 2 | |
| 53 | Wire Plug | 2 | |
| 54 | Pulse Plate | 2 | |
| 55 | Round Plug | 2 | |
| 56 | Crank Cover | 2 | |
| 57L/R | Chain Cover | 1pr. | |
| 58 | Nut | 2 | |
| 59 | Washer | 1 | |
| 60 | Two-Slot Nut | 1 | |
| 61 | Ball Rack | 2 | |
| 62 | Axle Bowl | 2 | |
| 63 | Hex Socket Pan Head Screw | ST5x20 | 4 |
| 64 | Square Plug | 80x40x1.5 | 1 |
| 65 | Three-Slot Nut | 1 | |
| 66 | Big Flat Washer | 1 | |
| 67 | Belt | 1 | |
| 68 | Belt Pulley | 1 | |
| 69 | Hex Bolt | M5x60 | 1 |
| 70 | Hex Screw | M5 | 2 |
| 71 | Hex Bolt | M6xL15 | 2 |
| 72 | Spring Washer | Ф6 | 2 |
| 73 | Flat Washer | D6 | 2 |
| 74 | Conical Thin Nut | M10x1 | 2 |
| 75 | Magnetic Board Axle | 1 | |
| 76 | Magnetic Board | 1 | |
| 77 | Tension Spring | 1 | |
| 78 | Square Magnet | 8 | |
| 79 | Flange Nut | M10x1 | 2 |
| 80 | Adjustment Chain Bolt | M6x50 | 2 |
| 81 | Adjustment Chain U Mat | 2 | |
| 82 | Hex Screw | M6 | 2 |
| 83 | Flywheel | 1 | |
| 84 | Bearing | 6000 | 2 |
| 85 | Flywheel Axle | 1 | |
| 86 | Square Plug | 50x25x1.5 | 1 |
| 87 | Allen Wrench | S6 | 1 |
| 88 | Spanner | S13,S14,S15 | 1 |
| 89 | Allen Wrench | S5 | 1 |
| 90 | Cap | S13 | 3 |
| 92 | Meter | 1 |
CUSTOMER SUPPORT
@ SUNNYHEALTHANDFITNESS
SUNNYHEALTHFITNESS
@SUNNYHEALTHFIT
/SUNNYHEALTHFITNESS
/ SUNNY HEALTH AND FITNESS
![]() | ![]() |






















