LaView LV-DHU06-B Smart Door Lock

Overview
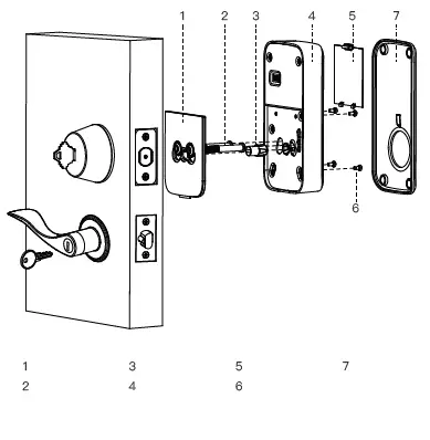
Hugolog Lock upgrades your existing lock by replacing the interior assembly only. It attaches to your existing deadbolt easily.

In the box
- Hugolog smart lock
- Hugolog lock gateway
- Lock adapter & mounting hardware Adhesive Strip
- Reset tool
- Quick installation guide
FCC Warning
This device complies with part 15 of the FCC rules. Operation is subject to the following two conditions: (1) this device may not cause harmful interference, and (2) this device must accept any inte rference received, including interference that may cause undesired operation. Changes or modifications not expressly approved by the party responsible for compliance could void the user’s authority to operate the equipment.
NOTE: This equipment has been tested and found to comply with the limits for a Class B digital device, pursuant to part 15 of the FCC Rules. These limits are designed to provide reasonable protection against harmful interference in a residential installation. This equipment generates uses and can radiate radio frequency energy and, if not installed and used in accordance with the instructions, may cause harmful interference to radio communications. However, there is no guarantee that interference will not occur in a particular installation. If this equipment does cause harmful interferenceto radio or television reception, which can be determined by turning the equipment off and on, the user is encouraged to try to correct the interference by one or more of the following measures:
- Reorient or relocate the receiving antenna.
- Increase the separation between the equipment and receiver.
- Connect the equipment into an outlet on a circuit different from that to which the receiver is connected.
- Consult the dealer or an experienced radio/TV technician for help.
- Radiation Exposure Statement This equipment complies with FCC radiation exposure limits set forth for an uncontrolled environment. This equipment should be installed and operated with minimum distance 20cm between the radiator and your body.
Setup
- Download the hugolog app. Log in or create a hugolog account.
- Set up hugolog gateway
- Plug the gateway into an outlet near your door(within 50 feet).
- Click”+”on the top right corner of the App’s home page to find your device.
- C follow the in-app instructions in the app to complete setup.
- Set up hugolog lock
- Click”+”on the top right corner of the App’s home page to find your device.
- Follow the in-app instructions and replace your existing thumbturn lock.
Notes: Network configuration should be completed within 3 minutes after factory reset.
LaView LV-DHU06-B Smart Door Lock

















