Kaadas KA20012 Smart Door Lock

kaadas reserves all rights for the final interpretation of this instruction.
All designs and specifications are subject to change without notice
OVERVIEW
Parts List
The details of part identification are shown on page 5.
Parts identification 
Prepare the door and check the dimensions
- Measure the dimension of the hole shown. If the measurement is 1-1/2″(38mm), remove the fire cup
- Measure to confirm that the backset is either 2-3/B”or 2-3/4″(60 or 70mm).

- Measure to confirm that the hole in the door is 1″(25mm).
- Measure to confirm that door thickness is between 1-3/8″ and 2″ (35mm to 50mm).
Choose faceplate
Is the slotted hole centered in the door hole?
Hold the latch in front of the door hole, with the latch face flush against the door edge. Is the slotted hole centered in the door hole?
YES
No adjustment is required. Proceed to the next step.
NO
A slotted hole is NOT centered.
Rotate and pull the latch as shown to extend latch.
Install latch and deadbolt

IMPORTANT: Keep the latch in an unlocked position before installation.
Install exterior assembly
- Route the cable below the latch.
- Secure the mounting plate with the supplied screws.
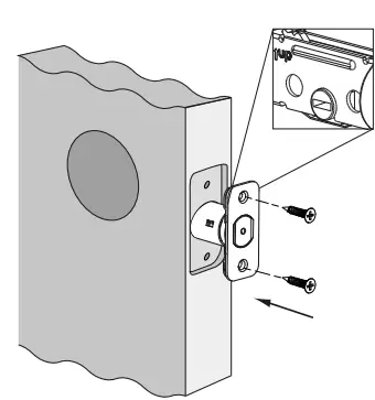
Install interior assembly
Do not load batteries until locked. Is completely installed.
- Remove the battery cover.
- Connect the cable and ensure a tight cable connection.
- Rotate the Thumb turn in the vertical position and Insert the horizontal orientation of the torque blade into the inside escutcheon.

- Test the lock by rotating the thumb turn to see if the bolt can be extended and retracted smoothly.
- Secure the interior assembly with the supplied screws.
Detect left/right-hand door installation
- IMPORTANT: This step is required and crucial for the lock after installation!

- Keep your lock in “unlock” status, and insert 4 AA batteries in the battery pack.
- Use a sharp thing to press and hold the reset button for more than 5 seconds until you hear the long sound of “BEEP”.

- If reset is successful, the latch bolt wi extend on its own to learn the orientation of the door.
- Install strike on the door frame.
- IMPORTANT: Make sure the hole in the door frame is drilled a minimum of 1 “(25mm)deep.
information and safety warnings
Do not load batteries until lock aa 1s is completely installed.
- Protect your user codes and master code.
- Restrict access to your lock’s interior assembly and routinely check your settings to ensure they have not been altered without your knowledge.
- This lockset is designed to provide the highest standard of product quality and performance. Care should be taken to ensure a long-lasting finish. When cleaning is required use a soft and damp cloth. Using lacquer thinner, caustic soaps, abrasive cleaners, or polishes could damage the coating and result in tarnishing.
- Master PIN Code (4~10 digits): The default master pin code is “12345678”, It’s required that you change it to a code of your own before programming.
- User PIN Code (4~1 0 digits):A total of 250 user codes(and one temporary one-time user code) may be programmed.
- Both master and user PIN codes don’t support the following combination of numbers.

Parts illustrations
The default master code is 12345678. It’s required that you change it to a code Of your own before programming.
| ITEM | SPECIFICATIONS | REMARKS |
| Battery (Using only new and non-rechargeable Alkaline batteries which for the best results.) | AA alkaline battery x4 (Operation voltage:4.6~6.0V) | Last up to seven mouth (1 O times open/close per day) |
Exterior assembly 
Interior assembly
Definitions
Master code:
Required for programming and feature settings, the Master code can be used to unlock the door under vacation mode. The default master code needs to be changed before programming. (Property owner/ manager should keep this information confidential.)
Auto lock:
Automatically locks the deadbolt 30 seconds after unlocking. This feature is off by default. Auto Lock delay time support 30S, 60S, 1 20S, and 1 80S setting.
Wrong entry limit:
After 10 unsuccessful attempts at entering a valid PIN code, the unit will shut down for 3 minutes.
Silent mode:
The beep sounds when pressing the keypad can be muted. But you will still hear low battery and system alerts.
Vacation mode:
This is a security feature for you when you are leaving your home for a vacation or a long trip. Enabling vacation mode will restrict all user codes until the master code is entered on the keypad. If the lock is unlocked by thumb turn, the lock will sound an alarm.
One-time user code:
This code can only be used once and is automatically deleted when used.
How to use it?
Unlock the door from outside
2-Wave TM Module pairing instructions
( Optional network module required)
Z-Wave™ pairing setting can only be programmed through the Master Mode Menu at the Lock.
- Follow user guide of your Smart Hub or Network gateway to enter Learning or Pairing Mode.
- Touch Keypad screen with your hand to activate lock.
- Enter master mode.
- Enter “O” to enter Network Setting.
- Enter “1” to join network or “2”to exit the network.
- Follow steps on your 3rd party interface or network controller to sync Z-Wave™.
CAUTION:
An optional Z-Wave™ or other Network Module is required to enable this feature. If the lock is connected to a network controller, it is recommended that all programming of PIN Codes and settings is completed through 3rd party user interface to ensure stable communication between the lock and controller is maintained.
Factory default settings
| SETTINGS | FACTORY DEFAUit |
| Master code | 12345678 |
| Auto lock | Disabled |
| Silent mode | Disabled |
| Wrong code entry limit | 10 times |
| Shutdown time | 3 mins |
| Vacat ion mode | Disabled |
Restore factory default settings
This procedure will delete all user codes which associated with the lock.
- Keep the door opening and unlocking;
- Press and hold the reset button, taking out one battery and then place it back at the same time;
- Keep holding the reset button for 5 seconds until you hear the sound of “BEEP”
Troubleshooting
The turnpiece can’t rotate or operate the lock?
Remove and re—install the lock, making sure that the turnpiece is in vertical position.
The lock can’t be locked or unlocked by keypad?
- Make sure that the codes are not disabled. If needed, restore the lock’s default settings.
- The keypad doesn’t respond when tounched(no lights are visible and no beeping is heard)?
- Make sure the cables are properly connected, and make sure the batteries are new installed correctly.
- After the installation of batteries, there is no response when you press any button and no beeps are heard.
- Check the cable connecton and the polarity of the batteries. also make sure the batteries are not dead.
Forget your master codes?
- Perform a reset in order to erase all passcodes. Once the reset is complete, all passcodes will be erased and the master code will return to the default value(1 2345678).
FCC Statement
This equipment has been tested and found to comply with the limits for a Class B digital device, pursuant to part 15 of the FCC Rules. These limits are designed to provide reasonable protection against harmful interference in a residential installation. This equipment generates, uses and can radiate radio frequency energy and, if not installed and used in accordance with the instructions, may cause harmful interference to radio communications. However, there is no guarantee that interference will not occur in a particular installation. If this equipment does cause harmful interference to radio or television reception, which can be determined by turning the equipment off and on, the user is encouraged to try to correct the interference by one or more of the following measures:
- Reorient or relocate the receiving antenna.
- Increase the separation between the equipment and receiver.
- Connect the equipment into an outlet on a circuit different from that to which the receiver is connected.
- Consult the dealer or an experienced radio/ TV technician for help.
Caution: Any changes or modifications to this device not explicitly approved by manufacturer could void your authority to operate this equipment.
This device complies with part 15 of the FCC Rules. Operation is subject to the following two conditions: (1) This device may not cause harmful interference, and (2) this device must accept any interference received, including interference that may cause undesired operation.
RF Exposure Information
This equipment complies with FCC radiation exposure limits set forth for an uncontrolled environment. This equipment should be installed and operated with minimum distance 20cm between the radiator and your body.
ISED Statement
This device contains licence—exempt transmitter(s)/receiver(s) that comply with Innovation, Science and Economic Development Canada’s licence—exempt RSS(s). Operation is subject to the following two conditions:
- This device may not cause interference.
- This device must accept any interference, including interference that may cause undesired operation of the device.
- The digital apparatus complies with Canadian CAN ICES—3 (B)/NMB-3(B).
- This equipment complies with Canada radiation exposure limits set forth for an uncontrolled environment.
- This equipment should be installed and operated with minimum distance 20cm between the radiator & your body.
Quick set up
- The default master code is 12345678. It’s required that you change it to a code of your own before programming.
- When setting is unsuccessful, the indicator light will flash red.
- When the keypad light is off, you need to press any key to wake up the keypad in order to perform keypad operations.
































