
Dimmable LED Wall Light
Sersion: 2022/08
Product parameter:
| Model No. | Voltage | Power | Colour | Size(L’WH):mm | Material | IP Grade |
| U972 B34 | 220-240VAC | 42W | 3000K 4000K | 432*120*45 | AL | IP 65 |
| U972 W34 | 220-240VAC | 42W | 3000K 4000K | 432*120*45 | AL | IP 65 |

Symbols
| The WEEE symbol, indicating separate collection for WEEE-Waste of electrical and electronic equipment, consists of the cross-out wheeled bin. | |||
| Class I luminaire, requires earth. Not Double insulated. | All the material used is up to standard. | ||
| LED light source. | Working current. |
SAFETY INSTRUCTIONS
Read these instructions carefully before commencing installation and retain for future reference. The luminaire should be installed by a licensed electrician and in accordance with local regulations. Make sure that the power is off before installation or maintenance. Install as described.
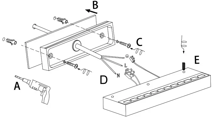
Installation Instructions

Take pride with installation.
Supplied adhesive 3M seal must be used between installation surface and base plate
Cable entry glands and screwheads must be covered in silicone sealant.
Failure to do so may cause luminaire failure from water ingress.
- Modification or misuse of the luminaire voids warranty.
- Do not connect luminaire to live power source.
- Take care during installation, incorrect connection may damage the luminaire resulting in reduced lifespan.
- Halcyon lighting is free to change the design specifications and instructions for assembly of the luminaire without notice.
- Halcyon Exterior products go through extensive waterproof testing prior to sale.
- All exterior luminaires (with the exception of copper) require periodic cleaning to protect the surface and/or coating from corrosion and ensure tidy appearance for the lifespan of the product. Wash with care using a soft brush and warm soapy water using a neutral detergent. Coastal areas require extra attention, especially fittings which are under eaves/soffits and do not have any exposure to rain. Do not use a water blaster or high pressure hose, do not submerge fittings for extended periods of time. 316 stainless steel fittings will still develop surface rust or lea staining’ if left uncared for.


















