HANDLEIDING
USER MANUAL
BOKSMACHINE
BOXING MACHINE
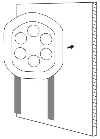
Installation instructions for wall mounting
- The holes for the bracket are the holes 2, 4, 6 and 8.

- The phone holder is attached to the braces

- Draw four holes that match with the bracket on the wall

- Screw the Boxing Machine to the wall

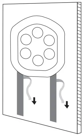
Velcro fastening installation
- The Velcro is placed on the backside

- Remove the paper from the top

- Stick the Boxing Machine on the wall

- Finally, pull the bottom half off the paper off

Instructions for use

| 1 | To adjust |
| 2 | Speaker |
| 3 | Charging input |
| 4 | Box pads |
| 5 | Fixing wall |
| 6 | Phone holder |
| 7 | Long press during 3 seconds – on/off |
| 8 | 2 short press mode change |
| 9 | 3 short presses – music change |
| 10 | No background music endless mode |
| 11 | No operation of the device five minute sleep mode |
| 12 | Twenty minutes automatic shutdown |
Problem solving
| Error | Reason | Solution |
| No lights, no music | Not booted | Hold SET for 3 seconds |
| No lights, no music | Empty battery | Please charge |
| The lights flash | Battery level too low | Charge up |
| No data in the app after punches | Punch too soft | Try to hit harder |
| Cannot boot after long press SET | Power shortage of chip through not starting for a long time | SET repeatedly long impressions |
| The internal crash sound of the tester | Originating from an internal tense structure | normal phenomenon |
Attention!
- Fix the device to a solid wall. Only hit the circles. Hit the corners and the display to prevent hand injury or damage to the device.
- Not suitable for children under 5 years. Children over 5 years old must under the supervision of an adult. Leg and knee thrusts are prohibited.
- If the device does not turn on, check whether the power is too high is low. Please charge the device in time and the duration should not exceed 8 hours. load once every 1-2 months, even if it is not used for a long time.
- The device is not waterproof. Do not disassemble the device to clean. Only use a damp cloth to clean the surface sweep.

https://extapp.yuanwei-tech.com/
![]()
![]()



























