Climax HWC-1B Hardwire to Wireless Converter User Manual

Hardwire to Wireless Converter (HWC-1B)
HWC-1B is a wired to wireless converter that converts existing wired sensors of security alarm systems to wireless technology. HWC-1B can be installed at a preferable location where it can send reports to the Control Panel easily without any more concern about traditional wired scenarios. To achieve this, the existing wired sensors are connected to the input zones of the HWC-1B, so there is no need to replace wired devices with individual transmitters.
The easy-to-use Converter consists of 9 input zones which can be connected to existing PIR sensors, door contacts etc. by wiring. This saves on installation cost, and provides homes and businesses with increased convenience and efficient functionality for users.
Parts Identification
- LED Indicator
- Input power LED1 (Green/Red):
LED Green on: AC power is connected.
LED Red on: AC power failure. - Status LED2 (Yellow):
ON: Low battery or disconnection.
Flash: Battery charging failure. - Transmission LED3 (Green):
The LED Green flashes when any signal is transmitted. Flashes twice: When receiving acknowledgement from the Control Panel. - Input calibration LED4 (Green):
ON: When pressing and holding the calibration button for 2 seconds.
ON: When Input calibration is successful. - Require calibration LED5 (Red):
Flash: When Input needs calibrating.
ON: When pressing and holding the calibration button for 2



- Test/Learn Button (SW11).
- Calibration Button (SW12)
- Reset Button (SW1)
- Terminal: Z1~Z9 Input Zones.
- (See Application Diagram for detail.)
- Tamper Switch Button (SW20).
- Power Terminal (See Application Diagram for detail.)

+12V/GND: Connect to power supply.
12VAUX/GND: Provides 12V DC@100mA to power on connected devices.
- Rechargeable Battery Pack
- Two-pin Connector
- The two-pin connector is used for connecting to the Rechargeable Battery Pack.
- Mounting Holes
Power Supply
- Power on the HWC-1B by connecting the two-wired 12V AC-DC Adaptor to the +12V/GND terminal.
- HWC-1B will charge the rechargeable battery pack automatically when power is supplied and the rechargeable battery pack is connected. When power supply is interrupted, HWC-1B will switch to using the rechargeable battery and continue operation.
- When power supply is interrupted and restore, HWC-1B will transmit AC failure and restore signal respectively.
- HWC-1B can supply 12V, 100mA power to connected devices via the power terminal.
Rechargeable Battery Pack
- A 1.2V*8 750mAh AAA Ni-MH Rechargeable Battery Pack is installed inside HWC-1B to serve as a backup in case of a power failure. The battery pack is not connected by factory. Please connect the battery pack if you want to use it as backup power.
- HWC-1B will charge the battery automatically when power is connected. When power supply is interrupted, HWC-1B will switch to using the rechargeable battery and continue operation.
- When the rechargeable battery is low on power, HWC-1B will transmit low battery signal. When the battery has been charged, HWC-1B will transmit battery restore signal
Application Diagram

The Power Terminal (Z1~Z9 zones) inputs allow existing wired sensors to be connected to the HWC-1B Converter:
- Each input zone is only available to one wired sensor.
- It is essential for all input zones that are used to have an EOL resistor (with a value from 1k to 10k ohms).
- Keep the existing installation zones which already have EOL resistor (with a value from 1k to 10k ohms).
- For a NC loop without an EOL resistor, please add one in series with the loop.
- For a NO loop without an EOL resistor, please add one in parallel (across) the loop. It should be located at the end of the loop far away from the Control Panel.
<NOTE>
If you wish to change the wires on the input zone, please power OFF HWC-1B first, then change wire input location as prefered and power ON the HWC-1B again. Press the calibration button to finalize the changing process.
(SW12) Calibration Button
After wiring existing sensors to the HWC-1B, initiate the calibration process which allows the HWC-1B to learn which zone will be active and what EOL resistors are used. Any unused / opened zone will not be recognized and reported to the Control Panel.
- Ensure all zones are well connected.
- Press and hold the Calibration button (SW12) for 2 seconds. Both LED4 (Green) and LED5 (Red) will turn ON.
- When calibration is completed, LED5 (Red) will turn OFF. LED4 (Green) will stay ON to indicate calibration is successful.
- When calibration fails, LED4 (Green) will turn OFF, LED5 (Red) will flash to indicate error.
<NOTE>>
- Zone 1 must be wired for HWC-1B to function normally and use calibration function.
(SW11) Learning / Walk Test
- Make sure the devices are connected and properly calibrated before proceeding to learning.
- Refer to your Control Panel Manual to put panel into learning mode.
- Press the Test/Learn button SW11 to send learning code to the Control Panel.

<<NOTE>>
- Each learned input zones will send an individual RF code to the Control Panel. The zone number is indicated
by the the last digit of the device ID. - HWC-1B’s own status (Low Battery, Tamper..etc) is transmitted via Zone 1.
Test/Learn button is also used for Walk Test function. Put the panel into Walk Test mode and press the button to check signal range and strength.
Supervision
- The Converter will automatically transmit Supervisory signals periodically to the Control Panel at random intervals of 15 to 18 minutes in Normal Operation Mode.
- If the Control Panel has not received the signal from the Converter for a preset period time, the Control Panel will indicate that particular Converter is experiencing an out-of-signal problem.
(SW20) Tamper Switch
- It is designed to protect against unauthorized cover opening. When the tamper switch is triggered, HWC-1B will emit a tamper open signal to the Control Panel for reporting.
Installation Procedures
The HWC-1B can be wall mounted with the mounting bracket provided, or with the pre-punched mounting holes. Please follow steps below to proceed.
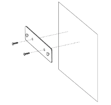
With Mounting Bracket:
- Take out the mounting bracket provided.
- Use the 2 central mounting holes on the mounting bracket to mark positions on the wall.
- Drill holes at mounting location and install wall plugs if required.
- Install mounting screws at marked location as shown below.

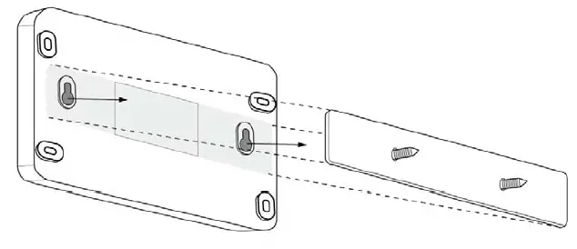
- Attach the HWC-1B onto the bracket as shown below.

Hold the HWC-1B and gently push it downwards as shown below.
B: With Pre-punched Mounting Holes:
- Press down on the pre-punch holes on the edges of HWC-1B and gently lift the front cover at the same time.
- Use the 4 mounting holes around the edge of the back cover to mark hole positions on the wall.
- Drill holes at mounting location and install wall plugs.
- Screw the back cover onto the marked location.
- Replace front cover back. The installation is now complete.
Factory Reset
Factory Reset will clear HWC-1B of all calibrated zone information.
- Disconnect both power supply and battery.
- Press and hold the Test/Learn Button (SW11), while holding the button, apply power to power on HWC-1B at the same time.
- Keep holding the button for 3 seconds.
- LED 1~3 will turn ON. Release the button when the LEDs turn on. Factory Reset is complete the bracket as shown below.
Federal Communication Commission Interference Statement
This equipment has been tested and found to comply with the limits for a Class B digital device, pursuant to Part 15 of the FCC Rules. These limits are designed to provide reasonable protection against harmful interference in a residential installation.
This equipment generates, uses and can radiate radio frequency energy and, if not installed and used in accordance with the instructions, may cause harmful interference to radio communications. However, there is no guarantee that interference will not occur in a particular installation. If this equipment does cause harmful interference to radio or television reception, which can be determined by turning the equipment off and on, the user is encouraged to try to correct the interference by one of the following measures:
- Reorient or relocate the receiving antenna.
- Increase the separation between the equipment and receiver.
- Connect the equipment into an outlet on a circuit different from that to which the receiver is connected.
- Consult the dealer or an experienced radio/TV technician for help.
FCC Caution: To assure continued compliance, any changes or modifications not expressly approved by the party responsible for compliance could void the user’s authority to operate this equipment.
(Example ‐ use only shielded interface cables when connecting to computer or peripheral devices).
FCC Radiation Exposure Statement
This equipment complies with FCC RF radiation exposure limits set forth for an uncontrolled environment. This equipment should be installed and operated with a minimum distance of 20 centimeters between the radiator and your body.
This transmitter must not be co‐located or operating in conjunction with any other antenna or transmitter.
The antennas used for this transmitter must be installed to provide a separation distance of at least 20 cm from all persons and must not be co‐located or operating in conjunction with any other antenna or transmitter.
This device complies with Part 15 of the FCC Rules. Operation is subject to the following two conditions:
- This device may not cause harmful interference,
- This device must accept any interference received, including interference that may cause undesired operation.




















