Neomounts BEAMER-C350 Projector Mount

Parts

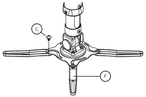
Overview

How to Install
STEP 1
Install the extension brackets
STEP 2
Install the bracket in the projector

STEP 3
Install the mount, route the cables, and place the cover
STEP 4
Attach the pole to the base
STEP 5
Adjust the amount to your desired position and loosen or loosen the screws if necessary
Caution
- To ensure safety, please read this manual carefully before installation and follow the instructions. Store this manual in a safe place for future reference.
- The manufacturer is not legally responsible for any equipment damage or personal injury caused by improper installation or operation other than that in this manual.
- The mount is designed for easy installation and removal. The manufacturer is not responsible for damage to equipment or personal injuries resulting from human factors or acts of nature, such as earthquakes or typhoons.
- It is recommended that the assembly is installed only by qualified personnel.
- At least two people are needed to install or remove the product to avoid the danger of falling objects.
- Please carefully check the area where the mount is to be installed:
- Avoid places subject to high temperatures. Moisture or contact with water.
- Do not install the product near air conditioners or areas with excess dust and fumes.
- Install only on vertical walls and avoid sloping surfaces.
- Do not install in places subject to shock or vibration.
- Do not install in places under direct exposure to bright light, as it may cause eye fatigue when viewing the display panel.
- Keep enough space around the display to ensure adequate ventilation.
- To ensure a safe installation, first, check the structure of the wall. ceiling or floor and choose a safe mounting location.
- The wall, ceiling, or floor should be strong enough to support a weight of at least four times the display and mounting combined. The mounting location must withstand an earthquake or other strong shock.
- Do not modify accessories or use broken parts. Contact your dealer with questions.
- Press all screws out Lilo do not apply excessive force to avoid breaking the screw or damaging its thread).
- Drill holes and bolts are left in the wall, ceiling, or floor after the display and bracket are removed. Stains may appear after prolonged use.
- Because the manufacturer has no way to control the wall, ceiling, or floor type and the installation of the mount, the warranty of the product will only cover the body of the mount The warranty period of the product is 5 years.
- Please refer to the English language manual for any disputes over terms.
FAQ’s
You must be aware of the dimensions of the projected screen and the projector’s throw distance in order to choose the appropriate mount. Once more, there is some wiggle area here, and your device’s specs will specify the ideal distance to the screen.
Not every mount is created or constructed the same way. There are extremely inexpensive mounts available that could work to secure your projector to a wall or ceiling, but they might not have the precise adjustments necessary to get your image exactly centered on your screen.
Install the projector using an appropriate mount or place it on a stable, level surface. The projector may be mounted at any angle. The projector may be mounted in any direction, vertical or horizontal.
Several projector models can fit in universal mounts. Any brand may be accommodated by altering the screw-hole designs. They feature arm extensions for your projector that can be adjusted as needed to do. These are the mounts you see with the down-extending arms that secure your mount.
There are three recognized ways to make a mount: dry mounting, wet mounting, and ready mounting.
For astronomical telescopes, there are primarily two mount types: equatorial and alt azimuth. The simplest sort of mount has two motions: azimuth (horizontal) and altitude (vertical), thus the term altazimuth.
Projector connections come in a variety of forms, including USB, VGA, Component, HDMI, and Display Port. An adapter allows for the cross- or backward compatibility of several connection types.
The projector’s center of focus should be 8″ above the top border of the screen when it is set up. It has a 21 percent offset, roughly. It should thus be raised above the screen. 21 times screen height.
You may angle-use your projector, but be prepared to make some picture modifications. It’s likely to start out distorted or off-center. The projector doesn’t necessarily need to be moved in order to focus the picture; instead, you can use keystone correction or lens shift.
The bottom of the screen should typically be 24 to 36 inches high in spaces with theatre seating or simply one or two rows, like the majority of home theatres “over the ground. The screen’s bottom should be between 40 and 48 pixels high “above the floor in a space with multiple rows of seats and a level floor.
Your projector will be easier to access and require less installation money if you shelf-mount it. Yet, a projector that is fixed on the ceiling at home is kept out of the path of oncoming traffic and can be installed closer to the screen.
From a #8 construction screw and above, they can be used. The screws used to attach the projector to the board should go through either 1″ of board thickness or less. All screws bigger than #10 that are not self-piloting ought to be piloted somewhat smaller than the diameter of the shaft.
As it is white and the same size as most drop ceiling tiles, the Universal Adjustable 2 x 2 feet Drop Ceiling Projector Mount blends in. The nicest part about it is that it’s simple to install and doesn’t require cutting any tiles. It can also rotate 360 degrees and tilt 180 degrees.
Protecting delicate or coated materials during preparation and achieving ideal edge retention are the two goals of mounting. When layer protection is essential, mounting is utilized. It also makes it safer and easier to handle specimens with small, sharp edges or irregular shapes, for example.
File systems, files, directories, devices, and special files are made accessible for usage at a specific place by mounting. A file system can only be accessed this way. The operating system is told to attach a file system to a particular directory via the mount command.
Download this PDF Link: Neomounts BEAMER-C350 Projector Mount Instructions Manual
















