VI-CON-SYS-01 Connect System
User Manual
ICG® CONNECT SYSTEM USER MANUAL
MODEL NO:VI-CON-SYS-01
VI-CON-SYS-01 Connect System
MANUFACTURED BY:
Cy-Tech GmbH
Happurger Str. 86
90482 NUERNBERG | Germany
[email protected]
www.indoorcycling.com
Phone: +49(0)911 / 54 44 50
CAUTION!
READ ALL PRECAUTIONS AND INSTRUCTIONS IN THIS MANUAL BEFORE YOU START USING THIS EQUIPMENT. PLEASE KEEP THIS MANUAL FOR FUTURE REFERENCE. IMPROPER ASSEMBLY, USE OR MAINTENANCE CAN VOID THE WARRANTY TERMS. ADDITIONAL LANGUAGES AVAILABLE FOR DOWNLOAD AT WWW.INDOORCYCLING.COM
Version 2.0 2022 VI-CON-SYS-01
Copyright by Cy-Tech GmbH 2022
www.Indoorcycling.com
IMPORTANT PRECAUTIONS
- It is the sole responsibility of the owner/operator and his/her staff to ensure that all users are informed of all warnings and precautions prior to using the ICG Connect
System. - Position the ICG Connect System next to the Indoor Cycle on a level surface as recommended in the installation guide. Be sure there is enough space around
the ICG Connect System to mount, dismount and operate the equipment safely. - ICG Connect System is intended for indoor use only. Keep the equipment away from moisture and dust. Do not place the training equipment in a garage, covered patio, near water or pools. Operating temperature of the equipment must be between 15°C – 25°C (59°F – 77°F) at max. humidity of 65%.
- Regularly inspect all parts of the ICG Connect System. Please replace defective parts immediately and do not use the equipment until repairs are carried out. Only use original parts from the manufacturer.
- Keep unattended children away from the ICG Connect System.
- WARNING: The training equipment can be used by children aged from 14 years and above and persons with a lack of experience and knowledge if they have been given supervision or instruction concerning use of the appliance in a safe way and understand the hazards involved. Persons with reduced physical, sensory, or mental capabilities are prohibited from using the training equipment. Children shall not play with the training equipment. Cleaning and user maintenance shall not be made by children without supervision.
- To ensure the level of safety of the ICG Connect System a regular maintenance is mandatory.
MEDICAL DISCLAIMER!
Not all exercise programs are suitable for everyone. Please consult your physician before beginning this or any other exercise program. ICG Connect programs are designed for fi t, healthy, able-bodied users. Any action in response to the instructions provided in this program is at user discretion. You should always warm up for a few minutes before beginning any workout, and you should never exercise beyond the level at which you feel comfortable. The usage of a heart rate monitor is highly recommended! If at any time you feel you are exercising beyond your current fi tness abilities, or you feel discomfort, you must stop your workout immediately! The user assumes all risk of injury in the use of this program.
WARNING: To prevent damage, do not move the unit while the Power, HDMI or Ethernet Cables are connected to the System.
WARNING: To prevent risk of electric shock or fi re, do not allow this system to become wet.
Do not expose the ICG Connect System to moist environments, and do not place liquid fi lled containers on or near the unit.
ATTENTION: To prevent a risk of electric shock, be sure the power plug is fully and correctly inserted into the wall socket.
CAUTION: RISK OF ELECTRIC SHOCK. DO NOT OPEN!
High voltage is present within the enclosure. Do not open the housing. Only trained and qualifi ed ICG/Life Fitness service technicians may service the ICG Connect System.
SYSTEM SPECIFICATIONS AND PACKAGE CONTENTS
| ASSEMBLED DIMENSIONS: | 53.5 X 36 X 116CM / 22 X 14 X 46IN |
| ASSEMBLED WEIGHT: | 23KG / 51LBS |
| OPERATING SYSTEM (OS): | ICG CUSTOMIZED LINUX OS |
| COMPUTER: | AMD RYZEN R1505 APU |
| ASPECT RATIO: | 16:9 (EXTERNAL SCREEN) |
| SCREEN VIEWING POSITION: | ADJUSTABLE – TILT & PIVOT (ROTATION) |
| VIDEO RESOLUTION: | FULL HD 1080P |
| SOFTWARE UPDATE: | INTERNET VIA ETHERNET CABLE / USB FLASHDRIVE |
| USB: | 1 X 2.0 |
| HDMI: | 1 X 1.3 |
| AUDIO PORT: | 1 X 3.5MM INPUT |
| ETHERNET PORT: | RJ45 |
| DISPLAY TYPE: | 39CM / 15.6IN IPS PANEL WITH CAPACITIVE TOUCH |
| POWER REQUIREMENTS: | 110-220V AC INPUT |
| LEVELLING FEET: | 2 |
| TRANSPORT WHEELS: | 2 |
| WARRANTY (PARTS) | 1 YEAR MECHANICAL AND ELECTRONICCOMPONENTS |

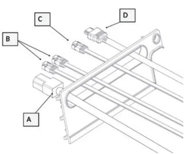
| REF | QTY | Description |
| A | 1 | Pre- assembled 103 CONNECT SYSTEM |
| B | 4 | ICG CONNECT SYSTEM POWER CABLES |
| EUROPE: CEE 7/7 TYPE F US: NEMA5 TYPE B UK: BS 1363 AU: AS 3112 TYPE I | ||
| C | 2 | WAW (RECEIVER FOR ANT DATA FROM KS, 6, 7 & 8 INDOOR CYCLES |
| D | 2 | CATS 8145 NETWORK CABLES FOR TESTING SYSTEM FUNCTIONALITY 1 METE(Feft) |
Version 2.0 2022 VI-CON-SYS-01 Copyright by Cy-Tech GmbH 2022
www.Indoorcycling.com
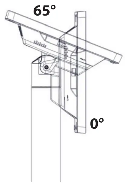
CONTROL PANEL TILT AND PIVOT
The control panel can be tilted from vertical to max. 65°.
The control panel can be swiveled horizontally to a maximum of 260° from limit stop to limit stop.
If the resistance when tilting the tablet should become too loose, tighten the bolt inside the bracket to max. 10 Nm with a 5mm Allen key to increase the tilting resistance.
INSTALLATION REQUIREMENTS
The following requirements must be met for installation and use of the ICG Connect System.
POWER OUTLETS
The ICG Connect System requires one power outlet with 110/220V AC output.
WASP INSTALLATION
The ICG Connect System requires installation of the Cat 5 or better network cables for optimal positioning of the supplied WASPS. The layout of the indoor cycling area may vary from facility to facility and therefore the sourcing of the network cables and installation is the responsibility of the customer.
Network cable requirements (WASPS)
Cat 5 or better network cables / Max. cable length: 50m (164 feet) not included in scope of delivery.
The Wasps should be positioned for optimal coverage of the indoor cycling area with no greater distance than approx. 5m in direct line of sight to the furthest bike for best results.

EXAMPLE INDOOR CYCLING AREA LAYOUT

DRILLING TEMPLATE
The Wasps can be mounted according to the Drilling template (hardware not included).
NOT INCLUDED WITH THE ICG CONNECT SYSTEM
Indoor Cycles
The ICG Connect System only works with IC5, IC6, IC7 & IC8 series bikes.
External video device:
TV or Projector
Resolution: 1080P
Input: HDMI 1.3
External video device cable:
High Speed HDMI Cable
Max. length 10m (32 feet)
Wasp Network cables
Cat 5 or better network cables / Max. cable length: 50m (164 feet) not included in scope of delivery.
Network Cable / Connection to Internet for updating
The ICG Connect System does not require an internet connection for operation. A connection is optional for software updates. Software updates can also be installed by downloading the required file to a USB Flashdrive.
UNBOXING
Position the box on side and open it as shown below. Lift the ICG Connect System from the box. Take note to remove any hardware taped to the Styrofoam inside the packaging. 
ASSEMBLY & CONNECTION
- Remove the 3mm Hex screw from the rear of the base.

- The panel is hinged on the left side. Pull the panel from the right side to remove.

- Slide the power cable for your region, HDMI cable, both network cables for the WASPs and the optional network cable for updates through the slot of the removable cover.

- Plug the power cable into the power socket (A).
- Connect the HDMI cable (D) of your TV or external video device into the connector panel labelled HDMI.
REF QTY Description A 1 Power Cable B 1 CAT S or better 8145 cables for the Wasps (max 50m /164 feet) C 1 CAT 5 or better 8145 cable for the optional Internet connection for updates. D 1 High Speed HDMI Cable (Max 10m / 32ft) - ug in the network cables (B) for the WASPs into the RJ45 sockets marked “OUT”. The system can support up to 3 WASPs but only 2 are required for most facilities. Additional WASPs sold separately.
- If you would like to connect the system via your network to the internet, you can do so using a network cable plugged into the RJ45 socket marked „IN“.
8. Remove the lid from the WASP (fi g. 1) with a small fl at head screwdriver and plug in the other end of the network cables from the ICG Connect System to the WASPs (fi g. 2). Cut the plastic of the WASP at the predetermined areas for routing the cable best suited for your installation.
WARNING! Installed WASPs and Cat 5 or better network cables from an older MYRIDE CONNECT can be used for the ICG Connect System but the old POEs must be removed before use.
CONNECTION SCHEMATIC

| REF | QTY | Description |
| A | 1 | Power Cable |
| B | 2 | CAT S or better RMS cables for the Wasps / Mu length 50m (164 ft) |
| C | I | CAT Sot bettor RAS cable for the optional Internet connection |
| D | HIgh Speed NOM Cable / kW tOrn (32ft) |
TURNING ON THE ICG CONNECT SYSTEM
- Make sure the system is connected properly (The ICG Connect System must be connected to an external video device with 1080P via high speed HDMI cable).
- Turn on your external video device.
- Turn on the unit by flipping the power switch on the back of the base of the unit (fig. 1). Pushing the restart button (fig 2.) will turn off the Mini Pc only but to turn off the complete system, the main power switch must be used.

- The system takes approx. 90 seconds to fully boot. The ICG logo will appear on the external video device and the tablet will show the home screen.
You will need to enter the setup menu to set up the time, activate demo mode and install updates on your ICG Connect System. Do not make any adjustments to the system not outlined in this manual.
ENTERING THE SETTINGS MENU
- Press the “MENU” button on the lower right-hand corner of the screen.
- Confirm the prompt “FOR STAFF USE ONLY”.
- Enter the password: 4,3,2,1 and confirm
SETTINGS
TIME AND DATE SETUP
In the SETTINGS menu touch the Time button and make your local adjustments and exit the menu with the back button.
LANGUAGE
Touch the button to change your language preferences.
METRIC
The ICG Connect System can be used with either Metric or Imperial units. When the button next to the Metric is green, Metric units are used. When the button is grey, Imperial units are used. To change your preferred unit, touch the button.
HDMI AUDIO
Some videos (ambient sound) or introductions to World Tour Videos have sound, but no music. When HDMI Audio is selected, the external video device will play the sound provided the device has a speaker. If not activated, sound output is through the audio jack on the base of the system but is generally not required as the trainer will play their music during the workout.
DEMO MODE
When activated and the button green, the demo mode will simulate user data from 20 bikes and display the information on the tablet and external video device. Live user data from the bikes will not be displayed.
SYSTEM INFORMATION
The system information tab has software version details for the tablet and the internal mini pc. When requesting support, always provide the App Version and the Server Version.
CLEANING THE ICG CONNECT SYSTEM
Lightly dampen a section of a microfiber cloth with water and gently wipe the screen, then go over it again with a dry section of the cloth to wipe away any moisture. Avoid getting moisture in any openings like the speaker or mic. If the stain remains, you can also try using a mild soapand-water solution.
WARRANTY
Cytech GmbH warrants that all new equipment will be free of manufacturing defects in workmanship and materials, becoming eff ective on the date of delivery. Parts and components repaired or replaced under the terms of warranty will be warranted for the remainder of the original warranty period only. Warranty may vary by region or country. Please note that warranty does not cover for damages caused by inappropriate use of the Myride Connect System or any negligent act by the consumer. The manufacturer states that the product was thoroughly tested and found free of failure prior to shipping.
LIMITED WARRANTY ON MYRIDE CONNECT SYSTEM
1 year Warranty
Electronic and Mechanical components
All contents, movies, photos, texts and graphic arts are protected by copyright. They may not be changed without previous written approval neither completely nor in extracts copied, be multiplicated or be published. The playback of the content is exclusively permitted using the supplied device. The usage of an external reproducer is only permitted once the relevant program is licensed by the creator. © CYTECH GMBH
CORPORATE HEADQUARTERS
Columbia Centre III, 9525 West Bryn Mawr Avenue, Rosemont, Illinois 60018 · U.S.A. 847.288.3300 · FAX: 847.288.3703
Service phone number: 800.351.3737 (toll-free within U.S.A., Canada)
Global Website: www.lifefitness.com
INTERNATIONAL OFFICES
AMERICAS
NORTH AMERICA LIFE FITNESS, INC.
Columbia Centre III
9525 West Bryn Mawr Avenue
Rosemont, IL 60018 U.S.A
Telephone: (847) 288 3300
Fax: (847) 288 3703
Service Email:
[email protected]
Service Website:
www.lifefitness.com/parts
Sales/Marketing Email:
[email protected]
Operating Hours: 7:00 am-6:00 pm (CST)
BRAZIL
LIFE FITNESS BRASIL
Av. Rebouças, 2315
Pinheiros
São Paulo, SP 05401-300
BRAZIL
SAC: 0800 773 8282 option 2
Telephone: +55 (11) 3095 5200 option 2
Service Email: [email protected]
Sales/Marketing Email:
[email protected]
Service Operating Hours:
8:30 – 17:30 (BRT) (Monday-Friday)
Store Operating Hours:
9:00 -18:30 (BRT) (Monday-Friday)
10:00 – 14:00 (BRT) (Saturday)
LATIN AMERICA & CARIBBEAN*
LIFE FITNESS INC.
Columbia Centre III
9525 West Bryn Mawr Avenue
Rosemont, IL 60018 U.S.A
Telephone: (847) 288 3300
Fax: (847) 288 3703
Service Email:
[email protected]
Sales/Marketing Email:
[email protected]
Operating Hours: 7:00am-6:00pm (CST)
EUROPE, MIDDLE EAST, & AFRICA (EMEA)
NETHERLANDS & LUXEMBURG
LIFE FITNESS ATLANTIC BV
Bijdorpplein 25-31
2992 LB Barendrecht
THE NETHERLANDS
Telephone: (+31) 180 646 666
Service Email:
[email protected]
Sales/Marketing Email:
[email protected]
Operating Hours: 9:00h-17:00h (CET)
UNITED KINGDOM
LIFE FITNESS UK LTD
Queen Adelaide
Ely, Cambs, CB7 4UB
Telephone:
General Offi ce (+44) 1353.666017
Customer Support (+44) 1353.665507
Fax: (+44) 1353.666018
Service Email: [email protected]
Sales/Marketing Email:
[email protected]
Operating Hours:
General Offi ce: 9.00am – 5.00pm (GMT)
Customer Support: 8.30am – 5.00pm (GMT)
GERMANY
INDOOR CYCLING GROUP
Happurger Strasse 84-88
90482 Nuernberg
GERMANY
Telephone: +49 (0) 911 / 544450
Service Email: [email protected]
Sales/Marketing Email:
[email protected]
Operating Hours: 08.30 -16.30h (CET)
AUSTRIA & SWITZERLAND
LIFE FITNESS EUROPE GMBH
Neuhofweg 9
85716 Unterschleißheim
GERMANY
Telephone:
+49 (0) 89 / 31775166 Germany
+43 (0) 1 / 6157198 Austria
+41 (0) 848 / 000901 Switzerland
Service Email:
[email protected]
Sales/Marketing Email:
[email protected]
Operating Hours: 08.30 -16.30h (CET)
SPAIN
LIFE FITNESS IBERIA
C/Frederic Mompou 5,1º1ª
08960 Sant Just Desvern Barcelona
SPAIN
Telephone: (+34) 93.672.4660
Fax: (+34) 93.672.4670
Service Email:
[email protected]
Sales/Marketing Email:
[email protected]
Operating Hours:
9.00h-18.00h (Monday-Thursday)
8.30h-15.00h (Friday)
BELGIUM
LIFE FITNESS BENELUX NV
Parc Industrial de Petit-Rechain
4800 Verviers
BELGIUM
Telephone: (+32) 87 300 942
Service Email:
[email protected]
Sales/Marketing Email:
[email protected]
Operating Hours: 9.00h -17.00h (CET)
ALL OTHER EMEA COUNTRIES &
DISTRIBUTOR BUSINESS EMEA*
Bijdorpplein 25-31
2992 LB Barendrecht
THE NETHERLANDS
Telephone: (+31) 180 646 666
Service Email:
[email protected]
ASIA PACIFIC (AP)
JAPAN
LIFE FITNESS JAPAN, LTD
4-17-33 Minami Aoyama 1F/B1F
Minato-ku – Tokyo 107-0062
Japan
Telephone: (+81) 0120.114.482
Fax: (+81) 03-5770-5059
Service Email: [email protected]
Sales/Marketing Email:
[email protected]
Operating Hours: 9.00h-18.00h (JAPAN)
HONG KONG
LIFE FITNESS ASIA PACIFIC LTD
32/F, Global Trade Square
21 Wong Chuk Hang Road
Hong Kong
Telephone: (+852) 2575.6262
Fax: (+852) 2575.6894
Service Email: Service.HK@lifefi tness.com
Sales/Marketing Email: [email protected]
Operating Hours: 9.00h-17.00h
ALL OTHER ASIA PACIFIC COUNTRIES & DISTRIBUTOR BUSINESS
ASIA PACIFIC*
32/F, Global Trade Square
21 Wong Chuk Hang Road
Hong Kong
Telephone: (+852) 2575.6262
Fax: (+852) 2575.6894
Service Email: [email protected]
Sales/Marketing Email:
[email protected]
Operating Hours: 9.00h-17.00h
* Also check www.lifefitness.com for local representation or distributor/dealer
CAUTION.
READ ALL PRECAUTIONS AND INSTRUCTIONS IN THIS MANUAL BEFORE YOU BEGIN USING THIS EQUIPMENT. PLEASE KEEP THIS MANUAL FOR FUTURE REFERENCE. IMPROPER ASSEMBLY, SET UP, USE OR MAINTENANCE MAY VOID THE WARRANTY.

EMAIL: [email protected]
WEBSITE: WWW.INDOORCYCLING.COM
© 2022 Cy-Tech GmbH
Manufactured by: Cy-Tech GmbH
Happurger Str. 86 90482 Nuremberg Germany



8. Remove the lid from the WASP (fi g. 1) with a small fl at head screwdriver and plug in the other end of the network cables from the ICG Connect System to the WASPs (fi g. 2). Cut the plastic of the WASP at the predetermined areas for routing the cable best suited for your installation.
















