REED RG6CU RG6S Portable Roll Groovers User Manual

Description and Specifications
Description
The REED RG6S Roll Groover is designed to form standard rolled grooves in steel, stainless steel and aluminum pipe, from 1-1/4” to 6”, in both Schedule 10 and Schedule 40. It also grooves PVC. The groove is formed by the groove roll which is fed into the pipe wall. The pipe is supported on the inside by a drive roll, which is relieved to permit pipe wall deformation. The formed grooves comply with the specifications required for mechanical coupling systems. The only adjustment required is for the depth of the groove.
The REED Model RG6CU (discontinued) is designed to form standard rolled grooves in copper pipe from 2″ to 6″.
Designed for portability, the RG6 Roll Groover is an economical solution to the job-site grooving requirements in mechanical piping system installations. Although the RG6 design has many improvements over similar competitors’ models, it is not intended for production work in the fab shop.
The RG6 Roll Groover is designed for use with the REED 5301PD power drive, 38 RPM models or RIDGID® No. 300 power drive.
Specifications
Capacity……………………………….. ..1-1/4” – 6” Schedule 10
1-1/4” – 6” Schedule 40
4″ – 6″ PVC
Depth Adjustment………………………… Adjusting Screw and
Included Depth Gauges
Actuation Feed Screw (included ratchet wrench)
Power Drive Mounting REED 5301PD Power Drive
(38 RPM only)
Weight……………………………………………………… 20 lbs.
Standard Equipment
Groove Roll……………………………………………. ..1-1/4” – 6”
Drive Roll (Drive Shaft)……………………………… ..1-1/4” – 6”
Feed Handle………………………….. Included Ratchet Wrench
Support Means…………………………. Included Support Rods
Recommended Accessories
- REED JFV Folding Pipe Jack
- REED 2-71 Pipe Reamer
- REED 5301PD Power Drive
Important – Before Operating
Before operating the RG6 Roll Groover, read and follow all safety information and instructions in the user manual.
Safety Information
WARNING!
Serious injury can occur if all safety information and operating instructions are not followed. These injuries could include:
Loss of fingers, hands, arms or other body parts if clothing or gloves get caught in moving parts;
Electrical shock or burns from contact with wires, motor or other power drive parts;
Impact injuries, including broken bones if machine tips over or workpiece falls.
Eye injuries, including being blinded by thrown workpiece or workpiece chips.
General Safety
Read and follow the safety information and instructions in the user manual.
Know the location and functions of all controls before using the machine.
Footswitch Safety
The footswitch of the power drive is for your safety. It lets you shut off the motor by removing your foot. If clothing should become caught in the machine, it could continue to wind up, pulling you into the machine. Because the machine has high torque, the clothing itself can bind around your arm or other body parts with enough force to crush or break bones.
Power Drive Safety
Follow all of the power drive manufacturer’s safety information and operating instructions included with the power drive.
Warning: Clothing/gloves can be caught in moving parts. Fingers, hands, arms or other body parts can be crushed or broken.
- Keep fingers away from grooving
- Use
- Do not wear loose
- Keep sleeves and jacket
- Do not reach across machine because clothing can be drawn into moving
- Operate machine from switch side
- Do not disconnect or block
- Keep footswitch in working
- Make sure switch is in the “off” position before plugging in power
- Make sure you can quickly remove your foot from the
Personal Safety
- Wear snug-fitting clothes, safety shoes, hard hat and safety Cover up or tie up long hair. Do not wear loose clothing, loose gloves, unbuttoned jackets, loose sleeve cuffs, neckties, rings, watches or other jewelry.
- Wear hearing protectors, ear plugs or muffs if you use the machine daily or in a very noisy
- Operate the power drive and roll groover from the side with the power drive’s “REV/OFF/FOR”
- Keep good footing and Do not overreach.
- Do not operate machine when you are
Electrical Safety
Follow all of the power drive manufacturer’s electrical safety information and operating instructions included with the power drive.
Work Area Safety
- Keep children and visitors out of work If visitors must be in area keep them far away from the machine and extension cords.
- Keep work area clean, uncluttered and well
- Keep floors dry and free of slippery
- Clear machine and bench of all objects such as wrenches or tools before turning machine
Roll Groover Safety
- Keep hands away from grooving Fingers could get caught between groove roll and drive shaft.
- Set up Roll Groover on a flat, level surface. Be sure the machine, stand and Groover are stable and will not tip
- Be sure Groover is properly secured to the power drive. Carefully follow set up
- With REED 5301PD Power Drive or Ridgid® 300 power drive, use only 38 RPM models.
- Do not use the RG6 Roll Groover for any other purpose than roll grooving pipe and
- Do not use excessive force in turning feed screw. Follow operating
- Properly support pipe with pipe
- Use recommended accessories. Use of other accessories may increase the risk of injury. Refer to the “Recommended Accessories” section in the front of this
Machine Maintenance
- Inspect groove roll and drive Replace worn rolls.
- Lubricate with multi-purpose grease through the three grease fittings (see Figure 1).
- Follow all maintenance instructions provided with the Power
- Keep Ratchet Wrench and Adjusting Screw knob dry and Keep free from oil and grease.
Roll Groover Set-Up and Operating Instructions
Assembling the RG6 Roll Groover
- Screw the two Support Rods into the sides of the main block of the Roll Groover (Figure 1). Tighten the support rods securely with a pipe
- The included Ratchet Wrench may be inserted into the Feed Screw after set-up.
Installing on the Power Drive
- Remove carriage or other attachments from the power
- Fully open front chuck of power
- Set the RG6 on the power drive with the RG6 Support Rods resting on the power drive carriage Steady the RG6 with one hand.
- With the other hand rotate the RG6 drive shaft to align the flats with the jaws on the fower drive
- Tighten power drive chuck on the RG6 drive
Pipe Preparation
- Pipe ends must be cut square. Do not use cutting torch. Note: When adjusting roll groover depth, the trial groove pipe should not have a large burr protruding Use a REED Model 2-71 Pipe Reamer for up to 2” pipe, or other suitable tool to deburr trial groove pipe. After groove depth has been set, deburring of pipe is not required.
- Pipe out-of-roundness must not exceed the total D. tolerance given in groove specifications, listed in Table 1.
Note: Determine out-of-roundness by measuring maximum and minimum O.D. at 90° apart. - All internal or external weld beads, flash or seams must be ground flush at least 2 inches back from pipe
Note: Do not cut or grind flats on gasket seat area.
Pipe Length
The chart below lists the minimum length of pipe to be grooved and the maximum length to be grooved without a pipe jack.
| 1-1/4 | 8 | 36 |
| 1-1/2 | 8 | 36 |
| 2 | 8 | 36 |
| 2-1/2 | 8 | 36 |
| 3 | 8 | 36 |
| 3-1/2 | 8 | 36 |
| 4 | 8 | 36 |
| 4-1/2 | 8 | 32 |
| 5 | 8 | 32 |
| 6 O.D. | 10 | 30 |
| 6 | 10 | 28 |
Pipe Set-Up
- Pipe longer than the specified maximum lengths listed in the above chart must be supported with a pipe The pipe jack should be located 3/4 of the pipe length from the roll groover. Long lengths may require two jacks.
- Raise the RG6 Groove Roll by retracting the Feed Install the pipe on the Drive Shaft and pipe jack.
- Square the pipe and pipe jack to the roll groover making sure the pipe is flush against the Roll Groover Cover
- Level the pipe by adjusting the pipe jack Pipe axis should be level with machine axis (Figure 2).
- Slightly offset the pipe and pipe jack away from the operator’s side (the side with the power drive “REV/OFF/FOR” switch) of the roll groover. Pipe offset (at far end of pipe) should be approximately 1 inch for each 10 feet of pipe length (Figure 2). Note: The power drive should be operated with the switch in the “FOR” (forward) position. Rotation in the “REV” direction will cause the pipe to move away from the roll
Adjusting Groove Depth
Note: To insure the proper groove diameter, a trial groove should be performed.
Note: The Adjusting Screw must be set for each diameter of pipe.
- Loosen Adjusting Screw (counterclockwise) enough to permit advancing of Groove Roll down to
- Advance Feed Screw (clockwise) until Groove Roll is snug against top of pipe. Be sure Groove Roll contacts pipe and Adjusting Screw head does not botto
- Using the Depth Gauge labeled with the pipe size being grooved, place Depth Gauge under head of Adjusting Screw.
- Advance Adjusting Screw downward until underside of head touches Depth
- Remove Depth
Note: It may be necessary to readjust Adjusting Screw after trial groove is made. Each 1/4 turn of Adjusting Screw will produce a .02” change in diameter of rolled groove. Tightening Adjusting Screw will increase groove diameter. Loosening Adjusting Screw will decrease groove diameter.
Forming the Groove
- Place the power drive switch in the “REV” position for clockwise rotation of the drive shaft and
- Step on power drive footswitch and apply light pressure on pipe by advancing Feed Screw with Ratchet
Warning: If pipe begins to “walk off” drive shaft, stop the machine. The pipe must be adjusted by leveling or by increasing the lateral offset. See Steps 4 and 5 of “Pipe Setup”.
- To help prevent “walking” keep pressure on pipe with
- With pipe tracking properly and end of pipe against cover plate, step on footswitch and begin advancing Feed Screw with Ratchet Wrench, allowing one complete rotation of pipe between strokes of Ratchet
Caution: Do not over-feed. Allow one complete rotation of pipe between advances. (See Table 1 for details.)
- Continue feeding until Adjusting Screw makes contact with Top Allow pipe to make two complete rotations in bottomed position to insure uniform groove depth.
- Release footswitch to stop machine, and begin retracting Feed Screw by turning Ratchet Wrench counterclockwise. Retract Feed Screw enough to remove pipe from
- Measure groove diameter at two places 90° Both measurements should be within the listed tolerance of the dimension shown in Table 2 for steel pipe and other IPS pipe. See Table 3 for copper tubing.
- To increase groove diameter tighten Adjusting Screw. To decrease groove diameter loosen Adjusting Each 1/4 turn of Adjusting Screw will change groove diameter by approximately .02”.
Note: Once groove depth has been set, following grooves will be same depth.
- Periodically check groove depth with a mechanical coupling. The coupling should fully seat in the groove without binding or excessive
| Material | Wall Thickness inches/(mm) | Turns of Feed Screw to Advance the Feed |
|
Steel and Stainless Steel | .217 to .280 (5.51 to 7.1) | 1/5 turn |
| .135 to .216 (3.43 to 5.49) | 1/4 turn | |
| .120 to .134 (3.05 to 3.40) | 1/3 turn | |
| .065 to .119 (1.65 to 3.02) | 1/2 turn | |
|
Aluminum and Copper | .135 to .216 (3.43 to 5.49) | 1/3 turn |
| .120 to .134 (3.05 to 3.40) | 1/2 turn | |
| .065 to .119 (1.65 to 3.02) | 2/3 turn | |
| PVC | .154 to .258 (3.91 to 6.55) | 3/4 turn |
Table 1 – Feed Rates
Roll Grooving Tips
- If pipe tends to “walk off” drive shaft, increase lateral offset of pipe (see “Pipe Set-Up”, Step 5).
- If Cover Plate shaves end of pipe, decrease lateral offset of
- If pipe end flare is excessive, lower pipe end to level with roll
- If pipe wobbles and/or “walks off” Drive Shaft, raise pipe end to level with roll
- Short lengths of pipe (under three feet) may require slight hand pressure to maintain the lateral
Figure 2: Pipe Set-Up
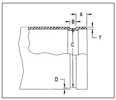
Table 2. Standard Roll Groove Specifications For Steel and Other IPS Pipe
Note: All dimensions are in inches.
| NOM. PIPE SIZE | PIPE O.D. | T MIN. WALL THK. | A GASKET SEAT ± .030 | B GROOVE WIDTH ± .030 | C GROOVE DIAMETER O.D. TOL. | D NORMAL GROOVE DEPTH |
| 1-1/4 | 1.660 | .065 | .625 | .281 | 1.535 +.000 -.015 | .063 |
| 1-1/2 | 1.900 | .065 | .625 | .281 | 1.775 +.000 -.015 | .063 |
| 2 | 2.375 | .065 | .625 | .344 | 2.250 +.000 -.015 | .063 |
| 2-1/2 | 2.875 | .083 | .625 | .344 | 2.720 +.000 -.018 | .078 |
| 3 OD | 3.00 | .083 | .625 | .344 | 2.845 +.000 -.018 | .078 |
| 3 | 3.50 | .083 | .625 | .344 | 3.344 +.000 -.018 | .078 |
| 3-1/2 | 4.00 | .083 | .625 | .344 | 3.834 +.000 -.020 | .083 |
| 4 | 4.50 | .083 | .625 | .344 | 4.334 +.000 -.020 | .083 |
| 4-1/2 | 5.00 | .095 | .625 | .344 | 4.834 +.000 -.020 | .083 |
| 5 | 5.563 | .109 | .625 | .344 | 5.395 +.000 -.022 | .084 |
| 6 OD | 6.00 | .109 | .625 | .344 | 5.830 +000 -.022 | .085 |
| 6 | 6.625 | .109 | .625 | .344 | 6.455 +.000 -.022 | .085 |
Table 3. Copper Tubing Roll Groover Specifiactions
Applies to discontinued RG6CU model
| 1
NOM. PIPE SIZE INCHES | 2
PIPE OUTSIDE DIAMETER TOLERANCE | 3 | 4 | 5 | 6 | 7 | 8 |
| D I M E N S I O N S – I N C H E S | |||||||
| GASKET SEAT A ± 0.03 | GROOVE WIDTH B ± 0.03 | GROOVE DIS. C ± 0.00 | GROOVE DEPTH D (REF.) | MIN. ALLOW WALL THICKNESS | MAX. ALLOW FLARE DIA. | ||
| 2 | ± 0.002 | 0.610 | 0.300 | 2.029 | 0.048 | 0.064 | 2.220 |
| 2-1/2 | ± 0.002 | 0.610 | 0.300 | 2.525 | 0.050 | 0.085 | 2.720 |
| 3 | ± 0.002 | 0.610 | 0.300 | 3.025 | 0.050 | DWV | 3.220 |
| 4 | ± 0.002 | 0.610 | 0.300 | 4.019 | 0.053 | DWV | 4.220 |
| 5 | ± 0.002 | 0.610 | 0.300 | 4.999 | 0.053 | DWV | 5.220 |
| 6 | ± 0.002 | 0.610 | 0.300 | 5.999 | 0.063 | DWV | 6.220 |
| 8 | ± 0.002 | 0.610 | 0.300 | 7.959 | 0.083 | DWV | 8.220 |
RG6 Portable Roll Groover
Parts List
|
Ref No. |
Description |
RG6S #08500 Item Code | RG6CU Discontinued 2012, replacement parts only. #08502 Item Code |
Qty Used |
| 1 | Ratchet Wrench | 40208 | 40208 | 1 |
| 2 | Feed Screw | 98504 | 98504 | 1 |
| 3 | Adjusting Screw | 98509 | 98509 | 1 |
| 4 | Socket Head Cap Screw | 30217 | 30217 | 2 |
| 5 | Top Plate | 98502 | 98502 | 1 |
| 6 | Spring | 30212 | 30212 | 1 |
| 7 | Slide Block | 98577 | 98577 | 1 |
| 8 | Grease Fitting | 40338 | 40338 | 3 |
| 9 | Groove Roll | 98506 | 98518 | 1 |
| 10 | Top Roller Bearing | 49207 | 49207 | 1 |
| 11 | Groove Roll Shaft | 98505 | 98505 | 1 |
| 12 | Flat Head Socket Screw | 30216 | 30216 | 4 |
| 13 | Cover Plate | 98503 | 98503 | 1 |
| 14 | Roller Bearing Inner Ring | 40430 | 40430 | 1 |
| 15 | Bottom Roller Bearing | 40433 | 40433 | 1 |
| 16 | Retaining Ring | 30208 | 30208 | 1 |
| 17 | Support Bar | 98511 | 98511 | 2 |
| 18 | Bottom Thrust Bearing | 40432 | 40432 | 1 |
| 19 | Retaining Ring | 30207 | 30207 | 1 |
| 20 | Retaining Ring | 30211 | 30211 | 1 |
| 21 | Set Screw | 30214 | 30214 | 1 |
| 22 | Retaining Ring | 30209 | 30209 | 1 |
| 23 | Thrust Washer | 93044 | 93044 | 1 |
| 24 | Depth Gauge Set | 98515 | 98567 | 1 |
| 25 | Drive Shaft Assembly* | 98559 | 98558 | 1 |
REED Warranty
REED will repair or replace tools with any defects due to faulty materials or workmanship for one
- year or five (5) years from the date of purchase, as applicable. This warranty does not cover part failure due to tool abuse, misuse, or damage caused where repairs or modifications have been made or attempted by non REED authorized repair technicians.This warranty applies only to REED tools and does not apply to This warranty applies exclusively to the original purchaser
One (1) year warranty: Power units for pneumatic, electric, hydraulic and battery-powered tools have a one year warranty. This includes, but is not limited to REED pumps, universal pipe cutter motors, power drives, power bevel tools, threading machines, cordless batteries and chargers.
Five (5) year warranty: Any REED tool not specified under the one (1) year warranty above is war- rantied under the REED five (5) year warranty.
NO PARTY IS AUTHORIZED TO EXTEND ANY OTHER WARRANTY. NO WARRANTY FOR MERCHANTABILITY OR FITNESS FOR A PARTICULAR PURPOSE SHALL APPLY. No warranty claims will be allowed unless the product in question is received freight prepaid at the REED fac- tory. All warranty claims are limited to repair or replacement, at the option of REED, at no charge to the customer. REED is not liable for any damage of any sort, including incidental and consequential damages. This warranty gives you specific legal rights, and you may also have other rights which vary by state, province or country.
Warranty Effective December 1, 2018
CAUTION: Safety reminders for a professional approach to tool selection and use.
- Proper maintenance of tools is critical to personal safety; worn tools should be repaired or replaced as
- Select the correct tool and tool size for the Never modify a tool to exceed its intended capacity.
- We recommend the Hand Tools Institute booklets for additional safety Booklets are available from REED or the Hand Tools Institute.























