DIGITALas Di-K2F TTLock Smart Touch Coded Keypad

Smart Access Controller K2/K2F
- Model: K2/K2F
- Dimensions: W79mm x H125mm x T15.5mm
- Material: Aluminum frame/Tempered glass panel
- Communication: Bluetooth 4.1
- Supporting systems: Android 4.3/IOS7.0 above
- Stand-by current: ≈5mA
- Operating current: ≈1A
- Power supply: 12V
- Unlocking time: ≈1.5S
- Waterproof level: IP66
- Card capacity: 20,000 Cards
Accessories

Illustration

Drill a hole for the cable

- Drill a hole at appropriate position to make space for the cable to connect to the power source.
Install the mounting plate

- Fix the mounting plate with 4 screws.
Wiring

Connect the cable of the access controller to power cable and other ports according to the illustration.
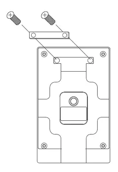
Install the hook

- Fix the hook to the mounting plate with 2 screws.
Install the access controller

- Fit the access controller into the hook and fix it on the mounting plate with a screw in the bottom.
Pair the access controller with app

- Tap the panel to light it up and activate the lock.
- On voice prompt“ Please add Bluetooth Administrator”, activate the APP.

- Tap the“ 三” icon on the upper left corner, tap“ +Add Lock”, select“ Door Lock”.
- Tap the device shown on the screen. Wait a few seconds till the lock gives a voice prompt/long beap, which means it is added successfully.
Notice: If fails, please shut off the APP and Bluetooth,turn them on and try the above process again.
Limited Warranty
- For any defect in material and workmanship, the original purchaser of the product
- Can return or ask for a replacement within 7 invoice days.
- Can ask for a replacement within 15 invoice days.
- Can ask for free repair in 365 invoice days.
- This warranty does not cover defects caused by modification, alteration, misuse or physical abuse of the product.



















