trend 107590 Router Surfacing Jig

Thank you for purchasing this Trend product, we hope you enjoy many years of creative and productive use. Please remember to return your guarantee card within 28 days of purchase.
TECHNICAL DATA
| RS/JIG | |
| Rail length | 511mm |
| Rail width: | 51mm |
| Rail thickness: | 12mm |
| Footprint: | 1022 x 540mm |
| Material width: | Max. 400mm |
| Material length: | Max. 910mm |
| Guide bush size | 30mm |
| Cutter diameter | Max. 19.1mm |
| Weight | 2.9 kg |
| Max. router weight | 7 kg |
The following symbols are used throughout this manual. Refer to the instruction manual of your power tool.
Denotes risk of personal injury, loss of life or damage to the tool in case of non-observance of the instructions. This unit must not be put into service until it has been established that the power tool to be connected to this unit is in compliance with 2006/42/EC (identified by the CE marking on the power tool).
INTENDED USE
This jig is intended for use with a plunge router with suitable guide bush and router cutter fitted to surface wood based materials.
SAFETY
Please read and understand the safety points in these instructions as well as you power tool instructions.
PLEASE KEEP THESE INSTRUCTIONS IN A SAFE PLACE
Safety Points
- Disconnect power tool attachment from power supply when not in use, before servicing, when making adjustments and when changing accessories such as cutters. Ensure switch is in “off” position and cutter has stopped rotating.
- Read and understand instructions supplied with power tool, attachment and cutter.
- Current Personal Protective Equipment (PPE) for eye, ear and respiratory protection must be worn. Keep hands, hair and clothes clear of the cutter.
- Before each use check cutter is sharp and free from damage. Do not use if cutter is dull, broken or cracked or if any damage is noticeable or suspected. Only use tools for woodworking to EN847 safety standard. Ensure cutting tool is suitable for application.
- The maximum speed (max) marked on tool or in instructions or on packaging shall not be exceeded. Where stated, the speed range should be adhered to.
- Insert the shank into the router collet at least all the way to the marked line indicated on the shank. This ensures at least 3⁄4 of the shank length is held in collet. Ensure clamping surfaces are clean.
- Check all fixing and fastening nuts, bolts and screws on power tool, attachment and cutting tools are correctly assembled, tight and to correct torque setting before use.
- Ensure all visors, guards and dust extraction is fitted.
- The direction of routing must always be opposite to the cutter’s direction of rotation.
- Do not switch the power tool on with the cutter touching the workpiece.
- Trial cuts should be made in waste material before starting any project.
- Repair of tools is only allowed according to tool manufacturers’ instructions.
- Do not take deep cuts in one pass, take shallow passes to reduce the side load applied to the cutter.
- User must be competent in using woodworking equipment before using our products. Dress properly, no loose clothing/ jewellery, wear protective hair covering for long hair.
- Consider working environment before using tools. Ensure working position is comfortable and component is clamped securely. Keep proper footing and balance at all times. Check work area for obstructions. Keep control of power tool at all times.
- Please keep children and visitors away from tools and work area.
- All tools have a residual risk so must therefore be handled with caution.
- Only use Trend original spare parts and accessories.
If you require further safety advice, technical information, or spare parts, please call Trend Technical Support or visit www.trend-uk.com
ITEMS ENCLOSED & DESCRIPTION OF PARTS

- A. Rail x 4
- B. Router carriage bar x 2
- C. Router carriage ski bar x 2
- D. Router carriage top plate x 1
- E. Router carriage bottom plate x 1
- F. Router top plate fixing screw x 2
- G. Ski fixing screw x 4
- H. Rail fixing screw x 16
- I. Hex key 4mm A/F x 1
- J. Hex key 3mm A/F x 1
- K. Router carriage & ski assembly
- L. Router carriage guide bush hole
- M. Rail groove
ITEMS REQUIRED
- 1/2” Plunge router
- 30mm Guide bush
- Router cutter 19.1mm dia.
- Clamps
- Battens 50mm wide x 1022mm x 60mm (height will be dictated by component height)
- User-made workboard 1075 mm x 600mm x minimum 20mm thick
- Hand tools
- Long straight edge
ASSEMBLY

Assemble router carriage & ski assembly as shown.
Do not overtighten the router top plate fixing screws, as the router carriage needs to slide along the router carriage bar.

- Workboard size.
- Battens size.
- Secure battens to the board.

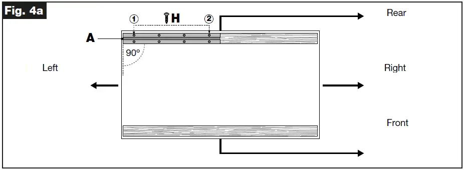
- Secure back rail to batten using two rail fixing screws.

- Place front rail on the batten.
- Place the rear router carriage ski bar into rear rail groove and front router carriage ski bar into the front rail groove.

- Secure front rail with one screw in left hand hole.
- Move router carriage & ski assembly to right hand side.

- Secure right-hand rail with one rail fixing screw.

- Butt the second set of back and front rails up against to the existing rails.

- Place the router carriage ski bar halfway into the rear rail groove and halfway in the second back rail groove.
- Secure second front rail with one screw in left hand hole.

- Move router carriage & ski assembly to right hand side.
- Secure second rear rail with one screw in right-hand hole and secure second front rail with one screw in right hand hole.
- Check rails are straight with a long straight edge and adjust as necessary.
- Secure all rails with the remaining screws.
- Fit a 30mm guide bush to the router.
- Fit a suitable router cutter to the router.
WARNING: The rail-to-rail center tightness and parallel can be adjusted by loosening rail fixing screws accordingly and tightening when correct.
OPERATION

- The secure component in the middle of the baseboard.

- Place router with guide bush into hole in router carriage. Ensure it does not foul component.

- Move router carriage & ski assembly to left hand side of jig and towards the rear.

- Set depth of cut to 1.5mm maximum and router speed.


- Rout towards front of jig in small cuts.
WARNING
- Ensure the bottom plate of the router carriage & ski assembly is about 15mm above the component. Component can be raised as required.
- Maximum 1.5mm depth per pass.
- Whenever clamps are used, ensure they do not foul the router path and that they are securely tightened.
- To prevent damaging the jig make sure the router plunge is fully released after completing the cut.
ACCESSORIES
- Please use only Trend original accessories.
MAINTENANCE
Please use only Trend original spare parts and accessories. The jig has been designed to operate over a long period of time with a minimum of maintenance. Continual satisfactory operation depends upon proper tool care and regular cleaning.
Cleaning
- Regularly clean the jig with a soft cloth.
Lubrication
- Your jig requires no additional lubrication.
Storage
- After use store jig in its packaging or it can be hung on a wall hook.
Spare Parts
- See website for details.
ENVIRONMENTAL PROTECTION
Recycle raw materials instead of disposing as waste. Packaging should be sorted for environmental-friendly recycling. The product and its accessories at the end of their life should be sorted for environmental friendly recycling.
GUARANTEE
The jig carries a manufacturer’s guarantee in accordance with the conditions on the enclosed guarantee card.
Trend Machinery & Cutting Tools Ltd.
- Odhams Trading Estate, St Albans Road, Watford, WD24 7TR, England
- Tel: 0044(0)1923 249911
- [email protected]
- www.trend-uk.com
© Trend Machinery & Cutting Tools Ltd. 2020.
® All trademarks acknowledged E&OE
No part of this publication may be reproduced, stored or transmitted in any form with prior permission. Our policy of continuous improvement means that specifications may change without notice. Trend Machinery & Cutting Tools Ltd. cannot be held liable for any material rendered unusable, or for any for of consequential loss. E&OE.




























