Rega RB3000 Tonearm Pushing the Boundaries of Tonearm Design

RB3000 precision tonearm
Rega is renowned for the quality of its tonearm-bearing assemblies. In particular the accurate manufacturing of our bearing housing and bearing spindles.
Technical characteristics such as “roundness” and “parallelity” (the condition of being parallel) are critical. Over the past three years, Rega has found a new manufacturing process that improves on all these characteristics resulting in a micron-perfect bearing fit.
The RB3000 is the first Rega arm to benefit from these improvements. The entire tonearm structure is designed
to have the minimum of mechanical joints while using the stiffest materials in all critical areas.
Cartridge mounting and setting up the RB3000 tonearm
Firstly, ensure the cartridge fixings are orientated correctly according to the cartridge maker’s specification. Use the cartridge alignment protractor (supplied) to accurately set the position of the cartridge.
Note: When using any Rega cartridge featuring a three-point mounting system, the overhang is automatically set.
With the cartridge correctly mounted and with the stylus guard removed, ensure that the tracking force dial (a) and bias adjustment (b) are set to zero. Adjust the balance weight (c) until the arm is “floating” with the stylus approximately 1mm clear of the record. Note: It is normal for the arm to swing back towards the arm clip position even with the bias set at zero. Therefore it is advisable to gently hold the arm bearing carrier (just below the tracking dial) thus preventing horizontal movement during the balancing procedure.
Once the arm is balanced, rotate the tracking force adjustment dial to the required tracking force. Numbers ‘0’ to ‘3’ are marked on the dial. If in doubt, it is advisable to use a tracking force that corresponds with the upper limits of the cartridge manufacturer’s range.
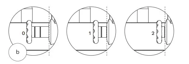
Set the bias adjustment slider to the same figure as the cartridge tracking force pressure quoted by your cartridge manufacturer. Note: This is not critical and a figure between 1.0 & 1.5 will normally be suitable for moving magnet cartridges and 1.5 & 2.0 for most moving coil cartridges.

Simply push the bias adjustment slider in to the required setting, using the dotted line as your reference (as shown above).
Your arm is now balanced, setup, and ready to use. If you have any doubts regarding installation or setup, please contact your official Rega dealer who will be able to carry out the work for you. Thank you for purchasing this Rega product and we wish you many hours of musical enjoyment.

Fitting your tonearm
The RB3000 will directly replace any other Rega tonearm that currently uses the 3 point mounting, without any modification. If fitting to another manufacturers product or an older Rega turntable
(with the single point nut fixing), the supplied template should be used as a guide to ensure correct position and alignment. With so many variants in turntable models, it is important to contact your turntable manufacturer if in any doubt before making any holes in plinths or arm boards. Before attempting to fit the RB3000 arm to the turntable, it is important to ensure that there is sufficient clearance beneath the turntable and that the arm does not hit the lid, top or sides. Having checked that there is sufficient clearance in all directions (including the maximum potential arm movement horizontal and vertical), the next step is to find the position of the center of the arm mounting hole. The easiest way to do this will be to use the arm mounting template supplied.
Arm mounting template guide
The supplied template is for mounting Rega three point fixing arms to other manufacturers’ turntables.
N.B. Protractor for cartridge alignment is also printed on the same template.
- The template should be kept flat and not bent. The distance between the centre of the spindle and the centre of the armhole is critical and must be 222 mm. This template will help you check your positioning before you attempt fitting and drilling.
- Position the other end of the template so that the clearance arc is within the rear and side edges of the turntable base (and the lid when closed). Also, check that there is at least 250 mm clearance from the centre of the hole to the inside front of the turntable.
- Use a long pointed probe such as a needle and push it through the ‘armhole centre’ on the template. Keep the needle perpendicular to the template and mark the position of the centre on the turntable.
- Having marked the centre, check again that if
the arm is placed in this position it will clear the underside of the turntable and the lid. Also, check that the arm is in a satisfactory position to ensure easy operation and that the position is pleasing aesthetically. When you are certain that the armhole centre is in its correct position (exactly 222 mm from the record centre), you can drill the required armhole. - The arm mounting pillar requires a diameter of
25 mm which will provide adequate clearance for accurate fitting. You can then drill the three screw mounting holes as illustrated on the template. Make sure the arm is straight and the holes are correctly aligned before drilling. - With the holes drilled, you are now ready to fit the arm to the turntable. Ensure that you also follow the turntable manufacturer’s instructions regarding arm fitting. Each individual turntable manufacturer may have different requirements regarding the positioning of the arm signal lead.
Rega Research Ltd., 6 Coopers Way, Temple Farm Industrial Estate, Southend-on-Sea, Essex, SS2 5TE www.rega.co.uk




















