
LEG TONER

QUICK ASSEMBLY GUIDE
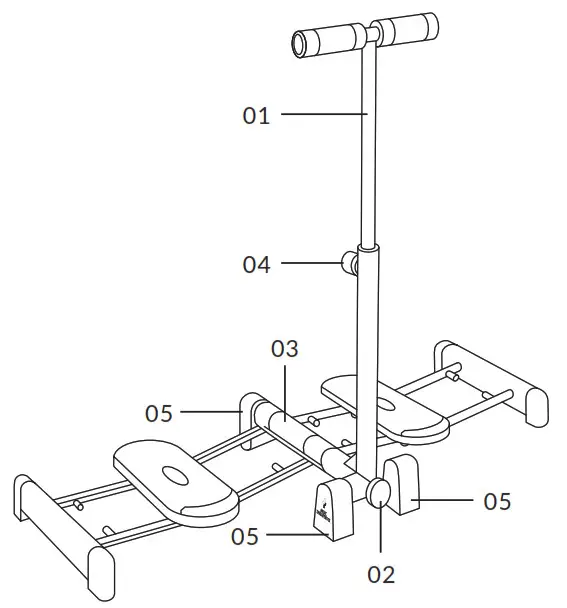
PARTS OVERVIEW:

ASSEMBLY:
| STEP 1 – Attach the three base legs 05 to the main frame 03 at its ends. Insert and twist downward to securely fasten. | ![]() |
| STEP 2 – Place the main frame 03 on an even surface or floor. Turn knob 02 loose and open the rails until each foot base touches the floor. Then, firmly tighten knob 02 again. | ![]() |
| STEP 3 – Turn knob 04 out and insert handlebar 01 into the tube that is connected to the base. For height adjustment, select one of the 3 holes on the handlebar and align with the knob hole, then insert. Important Note: With every use, ensure all components are tightly connected and that platforms are on rails on every occasion this unit is used. In the event of pain or dizziness, stop using this Leg Toner. | ![]() |
ADJUSTING THE HEIGHT:
Warning: Do not try to adjust the height when standing on the Leg Toner. This should be performed while standing on the floor.
STEP 1 – Unscrew knob 04 and remove it from the pole.
STEP 2 – Adjust the handlebar to the desired height and align the hole on handlebar 01 at the hole of knob 04.
STEP 3 – Insert the screw and turn the knob
LIMITED LIFETIME WARRANTY:
Your Medic Therapeutics Leg Toner is backed by a limited lifetime manufacturer’s warranty. Medic Therapeutics will repair or replace your device at any time should it fail due to a defect in material or workmanship, subject to the certain limitations.
This limited warranty does not cover any damage that results from unauthorized or improper use, service, or repair. Further, it does not cover damage caused by accident, impact, negligence, or normal wear and tear. Should you discover your Medic Therapeutics Leg Toner is not functioning properly, please send your device to our repair center for evaluation. If your product cannot be repaired or serviced, we will reserve the right to change it for a similar or newer model.
Please note that a flat rate of $35.00 will be charged to cover a service evaluation fee and return shipping of your device. All warranty claims must be accompanied by a copy of your proof of purchase from an authorized retailer. Please send your device, proof of purchase, and a check or money order in the amount of $35.00 made out to Medic Therapeutics to:
Address: Medic Therapeutics Service Center 3069 Taft Street Hollywood, FL 33021
Contact: [email protected]






















