HYPERICE NT3A Normatec 3 Leg Set Instruction Manual
TO REDUCE RISKS OF ELECTRIC SHOCK, FIRE, AND PERSONAL INJURY, OR PROPERTY DAMAGE, THIS DEVICE MUST BE USED IN ACCORDANCE WITH THE FOLLOWING WARNINGS, CAUTIONS, AND SAFETY INSTRUCTIONS
IMPORTANT SAFETY INSTRUCTIONS – ORIGINAL INSTRUCTIONS
Read the entire instruction manual before using the Normatec 3 System.
WARNING
No modification of this equipment is allowed.
If you experience severe pain, any unusual symptoms, or want to remove the attachments in an emergency during use:
- Stop the control unit by pressing the power button.
- Disconnect the hose from either the control unit or the attachments.
- Remove the attachments from your limbs.
- Promptly consult your licensed healthcare practitioner, as required.
CAUTION
- Do not attempt to take apart the system. The system has no user-serviceable parts. When service or repairs are required, please contact customer service at +1.949.565.4994.
- Do not remove or attempt to disassemble the battery door from the enclosure.
- Only use the power supply provided with the system. Using a different power supply may cause the system to operate incorrectly.
- To avoid risk of electric shock, do not use the system near water, such as near a bathtub, kitchen sink, laundry tub, or swimming pool.
- To avoid damage and risk of electric shock, never spill liquid of any kind on the system.
- Do not place the system, power supply, or any accessories where they could be damaged, present a fall hazard, or become an obstruction to others.
- Keep the open ports of the control unit, hose interconnect, and power inlet free of debris.
- If the power supply is damaged, the control unit is dropped or damaged, liquid is spilled on the system, or the system does not operate normally when the operating instructions are followed, turn the system off by pushing the control unit’s power button and then unplugging the system from the wall outlet. Contact customer service at +1.949.565.4994 for assistance.
- Do not puncture or otherwise damage the attachments (leg, arm, hip, or custom attachments) as this may cause the system to operate incorrectly.
- To avoid risk of strangulation, do not leave a baby or child unattended with the power supply or hose.
- Choking hazard, small parts. Keep away from small children.
- Do not leave the system, power supply, or any accessories where they could be damaged by children, pets, pests, or liquids. If you suspect your control unit is damaged, contact customer service at +1.949.565.4994 for assistance.
- Do not allow lint or dust to accumulate on the control unit or the hose interconnects. If lint or dust accumulates, wipe down the system with a dry cloth before use.
- The IP21 classification means the control unit is protected against the ingress of vertically dripping water and the hazardous parts are protected against access to objects equal to or larger than 12.5 mm (1/2”).
- The expected service life of the system and the integrated battery is 3 years.
- Do not stand in the leg attachments. Do not walk while wearing the any of the
attachments. - The attachments are designed to be used by only one person at a time.
- Do not hold the control unit by the hose.
- Consult your physician before using this product if you are under the care of a physician or have a contraindication requiring the use of any medical device.
- Consult your physician before using this product if you are experiencing inflammation, an infection, pain of unknown origin, bleeding (internal or external) at or near the site of application, or if you have a wound at or near the site of application.
- Consult your physician before using this product on sensitive skin.
- Consult your physician before using this product if you have any of the following conditions:
- Acute pulmonary edema
- Acute thrombophlebitis
- Acute congestive cardiac failure
- Acute infections
- Deep vein thrombosis (DVT)
- Episodes of pulmonary embolism
- Wounds, lesions, or tumors at or near the site of application
- Where increased venous and lymphatic return is undesirable
- Bone fractures or dislocations at or near the site of application
- Do not use the Normatec 3 System air output or hose to direct pressurized air toward your eyes, nose, mouth, or ears. Doing so may lead to serious injury.
- Use by unconscious or incapacitated persons may be dangerous without supervision.
- Make sure the power inlet on the control unit is easily accessible at all times in order to disconnect power if required.
The Normatec 3 control unit contains a Li-ion battery. The battery must be complied with safely at an appropriate e-waste disposal or recycling facility.
SAVE THESE INSTRUCTIONS
LABELS
The following labels and symbols appear on the control unit, attachments, and/or packaging.
| Symbol | Description | Location |
| IP21 | Degree of protection against ingress of water | On base of control unit |
![]() | Read instructions before use | On base of control unit and attachment tag |
![]() | Level of protection type BF equipment | On base of control unit |
![]() | Double insulation | On power adapter |
| Direct current | On base of control unit | |
| Alternating current | In manual | |
| Manufacturer’s name and address | On base of control unit and attachment tag | |
| Date of manufacture | On base of control unit | |
![]() | Separate collection for waste electrical and electronic equipment | On base of control unit |
| Serial number of the console | On base of control unit | |
| Fragile, handle with care | On package | |
| Keep dry | On package | |
| This side up | On package | |
| Keep away from sunlight | On package | |
![]() | Transportation & storage humidity limitation | On package |
![]() | Transportation & storage atmospheric pressure limitation | On package |
![]() | Transportation & storage temperature limitation | On package |
| Place in and out of standby mode | On top of control unit | |
![]() | Do not wash | On attachment tag |
| Do not dry clean | On attachment tag | |
| Do not tumble dry | On attachment tag | |
| Do not bleach | On attachment tag | |
| Do not iron | On attachment tag | |
| EU RF transmitter symbol | In manual | |
| FCC approved equipment authorization | On control unit | |
| The Bluetooth figure mark | On control unit | |
| Warning symbol to identify a hazard that may lead to death or serious injury | In manual and on control unit | |
| Caution symbol to indicate the need for the user to consult the instructions for use for important cautionary information such as warnings and precautions that cannot, for a variety of reasons, be presented on the medical control unit itself | In manual | |
![]() | Tip to provide guidance to make use easier. Risk to user is considered negligible | In manual |
INDICATIONS FOR USE
The Normatec 3 System is a dynamic air compression massager indicated to temporarily relieve minor muscle aches and/or pains and to temporarily increase circulation to the treated areas.
RISKS AND BENEFITS OF THE NORMATEC 3 SYSTEM
The risks and benefits of using the Normatec 3 System are similar to having a massage.
If the Normatec 3 massage feels uncomfortable, you can reduce the intensity or stop the session. Benefits include the temporary relief of minor muscle aches and pains, and increased circulation in the area being treated. Please call customer service at +1.949.565.4994 if you have any questions.
ILLUSTRATIONS
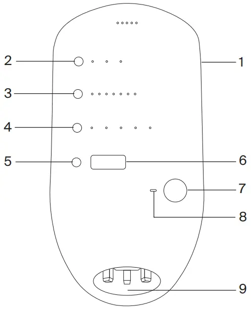
Normatec 3 Control Unit (single-person use only)
- Power button
- Attachment selection button
- Pressure level button
- ZoneBoost™ button
- Time adjustment button
- Display screen
- Start/Stop button
- Bluetooth® status indicator
- Air outlet and power inlet
Normatec 3 Hose
- Junction box air outlets
- Junction box
- Blocking plug (on the underside of the junction box)
- Connector
Normatec 3 Leg Attachment (single-person use only)
- 1-5. Zones
- 6. Attachment connector
Normatec 3 Arm Attachment (single-person use only)
- 1-5. Zones
- 6. Attachment connector
Normatec 3 Hip Attachment (single-person use only)
- 1-2. Zones
- 3. Attachment connectors
Normatec 3 Charger
- Wall outlet plug
- Barrel connector
OPERATING INSTRUCTIONS
WARNING! BEFORE OPERATING THIS SYSTEM: Read all warnings at the beginning of this manual. If you do not understand these operating instructions, contact Hyperice at +1.949.565.4994.
SET UP THE SYSTEM
- Step 1: Plug the power supply into an electrical outlet and then into the Normatec 3 control unit.
This control unit is equipped with a lithium ion battery. The battery automatically charges when the power supply is connected to the Normatec 3 control unit and an electrical outlet. - Step 2: Connect the hose connector to the air outlet on the Normatec 3 control unit.
The connector can only be inserted in the correct orientation. Insert the connector firmly into the Normatec 3 control unit until you hear an audible “click.” - Step 3: Put the leg, arm, or hip attachments on. Find a comfortable position sitting, reclined, or lying down. If the attachments have a zipper, be sure to zip up the attachments completely. Never try to use the system with the zipper partially or totally unzipped—this could void your warranty. Only one set of attachments can be used with a single control unit. When using more than one attachment, make sure they are both of the same type.
- Step 4: Connect the attachment connectors on each attachment to the junction box air outlets. The attachment connectors can only be connected to the junction box in the correct orientation. Insert the attachment connectors firmly into the junction box air outlets until you hear an audible “click.”
If only one attachment will be connected to the junction box, use the blocking plug located on the underside of the junction box to block off the unused junction box air outlet. Press firmly to make sure the blocking plug is fully seated. - Step 5: Press the power button on the Normatec 3 control unit firmly for one second to turn on the system. While the control unit is on, the green LED next to the power button will be lit up.
SELECT YOUR ATTACHMENT
To set the device to run the appropriate treatment for the attachment you are using, press the Attachment Selection button to select either Legs, Hips, or Arms. When Hips are selected the device will automatically run a two-zone treatment to match the number of zones on the Hips.
ADJUST THE PRESSURE LEVEL
Adjust the pressure level of the session by pressing the pressure level adjustment button on the left of the level indicators. Pressure level 1 is the gentlest setting. The massage becomes more intense as the pressure level is increased. Level can be adjusted while the session is running. When level is adjusted during a session, the system will pause. Once you have finished adjusting your level, press the Start/Stop button to resume treatment at the new pressure.
USE ZONEBOOST™
During your session, you can increase the intensity of a single zone with the ZoneBoost feature.
ZoneBoost is designed to be used when you want extra attention in a specific area. ZoneBoost will add an extra 60 seconds of massage time, as well as 10 mmHg increased pressure, in the selected zone. ZoneBoost can be enabled before or during a session. Only one zone can be boosted at a time. To boost a zone press the ZoneBoost button until the LED indicator above the zone you want to boost is lit up. To disable ZoneBoost press the ZoneBoost button until no zone LED indicators are lit up.
The zones on the attachment are numbered in ascending order from distal zone to proximal zone. So if you are using the leg attachments, Zone 1 would be your foot/ankle, Zone 2 would be your calf, Zone 3 your knee, Zone 4 lower quad and Zone 5 upper quad.
ADJUST THE SESSION TIME
Adjust the session time by pressing the time adjustment button on the left of the display screen. The session time can be set to 15, 30, 45 and 60 minutes. Time can be adjusted while the session is running. Tap the time adjustment buttons to cycle through the session time options to add or subtract time from the session.
START THE SESSION
To start the session, tap the Start/Stop button.
PATENTED NORMATEC PULSE MASSAGE PATTERN
Before the patented Normatec Pulse massage pattern begins, you will experience a pre-inflate cycle, during which the connected attachments are calibrated to your exact body shape.
Once the pre-inflate cycle is complete, the patented Normatec Pulse massage pattern will begin by compressing your feet, hands, or upper quad (depending on which attachment you are using). Similar to the kneading and stroking performed during a massage, each zone of the attachments will first compress in a pulsing manner and then release as the compression pattern works its way up your limb. When the top zone completes its massage, there will be a brief rest period and then the cycle will begin again. This will repeat until the session time runs out. When the session is resumed after a pause, the system will perform a pre-inflate cycle before continuing.
STOP OR PAUSE THE SESSION
To stop the session at any time, tap the Start/Stop button. This will pause the session. To restart your paused session, tap the Start/Stop button again. If you are done using the system, remove the attachments from the hose, remove the attachments from your limbs, turn off the control unit by pressing the power button, and disconnect the hose from the control unit.
To disconnect connectors from the junction box or the control unit, push the button on the top of each connector while pulling away.
FINISH THE SESSION
The session will continue massaging until time runs out and the display reads Finishing Cycle.
The system will continue until the current cycle is finished. When the session is completed, remove the attachments from the hose, remove the attachments from your limbs, turn off the control unit by pressing the power button, and disconnect the hose from the control unit.
To disconnect connectors from the junction box or the control unit, push the button on the top of each connector while pulling away.
TURN OFF THE CONTROL UNIT
To turn off the system, press the power button and confirm that the LED indicators and display are off.
CONNECTING TO THE HYPERICE APP
To connect your system to the Hyperice App via Bluetooth® make sure the control unit is turned on, Bluetooth® is turned on in your phone, and your control unit is within close proximity. Select a routine within the Hyperice App and if prompted tap “Scan for Devices.” Select your system when it pops up on the screen. HyperSmart™ will automatically start your session, and adjust pressure along the way.
CLEANING THE SYSTEM
To clean the control unit:
- Wipe down the system with a damp, clean cloth.
- Dry thoroughly with a clean cloth.
Cleaning the single-person use leg, arm, or hip attachments:
- Wipe down the leg, arm, or hip attachments inside and out with a damp, clean cloth.
- Dry thoroughly with a clean cloth.
- Do not machine wash or dry.
- Do not dry clean.
MAINTAINING THE SYSTEM
The control unit, hose, power supply, and attachments (leg, arm, or hip) require no routine maintenance or service except for the care in this section.
STORING THE SYSTEM
Store control unit, hose, power supply, and attachments (leg, arm, or hip) in a clean, dry location.
REPLACEMENT PARTS
Please call customer service at +1.949.565.4994 or visit our website at hyperice.com for information regarding available replacement parts and accessories.
TECHNICAL INFORMATION
Do not attempt to take apart the system. The system has no user-serviceable parts. There are no user-replaceable fuses.
BLUETOOTH WIRELESS TECHNOLOGY
The Bluetooth word mark and logos are owned by Bluetooth SIG, Inc., and any use of such marks by Hyperice is under license. In the unlikely event of loss of a stable Bluetooth connection, the system will attempt to re-establish its connection automatically. The Normatec 3 control unit is completely autonomous, and will continue operating normally, even during a loss of connectivity. If this control unit does cause interference, which can be determined by turning the control unit off and on, the user is encouraged to try to correct the interference by reorienting or relocating the control unit, increasing the separation between equipment and the control unit, or connecting the control unit to a different outlet on a circuit if it is plugged in.
The Normatec 3 control unit uses Bluetooth 5.0 wireless technology with the following radio specifications:
| FCC ID: 2AY3Y-NT3 IC: 23655-NT3 | FCC ID: 2AY3Y-NT3A IC:23655-NT3A | |
| Frequency | 2402 to 2480 MHz | |
| Modulations | GFSK | |
| Transmit Power | see test report | |
| Receiver Sensitivity | -96 dBm (BLE mode) | |
| Security | AES HW | |
FCC ID: 2AY3Y-NT3 IC:23655-NT3
FCC ID: 2AY3Y-NT3A IC:23655-NT3A
See device label for details.
This control unit complies with part 15 of the FCC Rules. Operation is subject to the following two conditions: (1) This control unit may not cause harmful interference, and (2) this control unit must accept any interference received, including interference that may cause undesired operation. This control unit complies with Industry Canada license-exempt RSS standard(s).
Operation is subject to the following two conditions: (1) this control unit may not cause interference, and (2) this control unit must accept any interference, including interference that may cause undesired operation of the control unit.
This equipment complies with FCC/ISED radiation exposure limits set forth for an uncontrolled environment and meets the FCC radio frequency (RF) Exposure Guidelines and RSS-102 of the ISED radio frequency (RF) Exposure rules. This equipment has very low levels of RF energy that are deemed to comply without testing of specific absorption rate (SAR).
Changes or modifications not expressly approved by the party responsible for compliance could void the user’s authority to operate the equipment.
This equipment has been tested and found to comply with the limits for a Class B digital device, pursuant to Part 15 of the FCC Rules. These limits are designed to provide reasonable protection against harmful interference in a residential installation. This equipment generates, uses and can radiate radio frequency energy and, if not installed and used in accordance with the instructions, may cause harmful interference to radio communications. However, there is no guarantee that interference will not occur in a particular installation.
If this equipment does cause harmful interference to radio or television reception, which can be determined by turning the equipment off and on, the user is encouraged to try to correct the interference by one or more of the following measures:
- Reorient or relocate the receiving antenna.
- Increase the separation between the equipment and receiver.
- Connect the equipment into an outlet on a circuit different from that to which the receiver is connected.
- Consult the dealer or an experienced radio/TV technician for help.
INTERNAL BATTERY INFORMATION
This Normatec 3 control unit is equipped with a rechargeable lithium ion battery. The internal battery is designed to allow use of the Normatec 3 System anywhere—even when power outlets aren’t available. The Normatec 3 control unit may need to be plugged in before first use. A fully charged battery will provide power for 2+ hours of continuous use. It takes approximately 6 hours to fully charge the battery when the control unit is plugged in and not in use. The rechargeable lithium ion battery is intended to be changed only by authorized service personnel with the use of a special service tool.
PRODUCT SPECIFICATIONS
- Normatec 3 Model: REJ6
- Normatec 3 Dimensions: 4” (width), 4” (depth), 8.5” (height); [10.2 cm (width), 10.2 cm (depth), 21.6 cm (height)]
- Normatec 3 Weight: 3.2 lbs [1.45 kg]
- Normatec 3 electrical requirement: 15V
DC 1.6 A - Maximum Air Pressure: 110 mm Hg
- Temperature (operating): +41° F to 104° F [+5° C to +40° C]
- Temperature (storage): -13° F to +158° F [-25° C to +70° C]
- Relative Humidity (operating): 15% to 93%, non-condensing
- Relative Humidity (storage): -25˚ C without relative humidity control; +70˚ C at relative humidity up to 93%, non-condensing
- Atmospheric pressure (storage and transportation): 190hPa to 1060hPa
- Atmospheric pressure (operating): 700hPa to 1060hPa
AC-DC ADAPTER
WARNING! Only use the AC-DC adapter model number 30120 provided with the system.
Using a different adapter may cause the system to not operate correctly.
- Input: 100-240V 0.8-0.4 A 50/60 Hz per Normatec 3 model number 60090-001-00
- Output: 15V
DC minimum 1.6 A per Normatec 3 model number 60090-001-00
ELECTROMAGNETIC COMPATIBILITY
The information contained in this section (such as separation distances) is in general specifically written with regard to the Normatec 3. The numbers provided will not guarantee faultless operation but should provide reasonable assurance of such. This information may not be applicable to other medical electrical equipment; older equipment may be particularly susceptible to interference.
GENERAL NOTES
Medical electrical equipment requires special precautions regarding electromagnetic compatibility (EMC) and needs to be installed and put into service according to the EMC information provided in this document and the remainder of the instructions for use of this control unit. Portable and mobile RF communications equipment can affect medical electrical equipment. Cables and accessories not specified within the instructions for use are not authorized. Using other cables and/or accessories may adversely impact safety, performance, and electromagnetic compatibility (increased emission and decreased immunity). Care should be taken if the equipment is used adjacent to or stacked with other equipment; if adjacent or stacked use is inevitable, the equipment should be observed to verify normal operation in the configuration in which it will be used.
ELECTROMAGNETIC EMISSIONS
This equipment is intended for use in the electromagnetic environment specified below. The user of this equipment should assure that it is used in such an environment.
| Emissions | Compliance According To | Electromagnetic Environment |
| RF emissions (CISPR 11) | Group 1 | The equipment uses RF energy only for its internal function. Therefore, its RF emissions are very low and are not likely to cause any interference in nearby electronic equipment. |
| CISPR emissions classification | Class B | The equipment is suitable for use in all establishments, including domestic establishments and those directly connected to the public low-voltage power supply network that supplies buildings used for domestic purposes. |
| Harmonic emissions (IEC 61000-3-2) | Class A | |
| Voltage fluctuations/ flicker (IEC 61000-3-3) | Complies |
ELECTROMAGNETIC IMMUNITY
This equipment is intended for use in the electromagnetic environment specified below. The user of this equipment should assure that it is used in such an environment.
| Immunity Against | IEC 60601-1-2 Test Level | Compliance Level (of this control unit) | Electromagnetic Environment |
| Electrostatic discharge, ESD (IEC 61000-4-2) | Contact Discharge: ± 8 kV Air Discharge: ± 15 kV | ± 8 kV ± 15 kV | Floors should be wood, concrete, or ceramic tile. If floors are covered with synthetic material, the relative humidity should be kept at levels to reduce electrostatic charge to suitable levels. |
| Electrical fast transients/ bursts (IEC 61000-4-4) | Power Supply Lines: ± 2 kV Input DC Power Ports ± 2 kV Signal Input/ Output Lines: ± 1 kV | ± 2 kV ± 2 kV ± 1 kV | Mains power quality should be that of a typical commercial or hospital environment. |
| RF Proximity (IEC 61000- 4-3) | 385 Pulse Modulation, 18 Hz 450 FM + 5Hz deviation: 1 kHz sine 710 745 780 Pulse Modulation: 217 Hz 810 870 930 Pulse Modulation: 18 Hz 1720 1845 1970 Pulse Modulation: 217 Hz 2450 Pulse Modulation: 217 Hz 5240 5500 5785 Pulse Modulation: 217 Hz | 27 V/m 28 V/m 9 V/m 28 V/m 28 V/m 28 V/m 9 V/m | Equipment with high RF emissions should be kept at a distance to reduce the likelihood of interference. |
| Surges on AC mains lines (IEC 61000-4-5) | Common Mode: ± 2 kV Differential Mode: ± 1 kV | ± 2 kV ± 1 kV | Mains power quality should be that of a typical commercial or hospital environment. |
| Power frequency magnetic field 50/60 Hz (IEC 61000-4-8) | 30 A/m | 30 A/m | Equipment that emits high levels of power line magnetic fields (in excess of 3A/m) should be kept at a distance to reduce the likelihood of interference. |
| Voltage dips and short interruptions on AC mains input lines (IEC 61000- 4-11) | Dip > 95%, 0.5 cycles Dip > 95%, 1 cycle Dip 30%, 25 cycles (50 Hz) 30 cycles (60 Hz) Drops >95%, 250 cycles (50 Hz) 300 cycles (60 Hz) | 0.5 cycles 1 cycle 25 cycles (50 Hz) 30 cycles (60 Hz) 250 cycles (50 Hz) 300 cycles (60 Hz) | Mains power should be that of a typical commercial or hospital environment. If you require continued operation during power mains interruptions, ensure that batteries are installed and charged. Ensure that battery life exceeds longest anticipated power outages or provide additional uninterruptible power source. |
This equipment is intended for use in the electromagnetic environment specified below.
The customer or the user of this equipment should assure that it is used in such an environment.
| Immunity Test | IEC 60601 Test Level | Compliance Level | Electromagnetic Environment – Guidance |
| Conducted RF RF coupled into lines (IEC 61000-4-6) Radiated RF (IEC 61000-4-3) | 150 kHz to 80 MHz outside ISM bandsa 150 kHz to 80 MHz in ISM bandsa | 3 Vrms | Portable and mobile RF communications equipment should be used no closer to any part of the equipment, including cables, than the recommended separation distance calculated from the equation applicable to the frequency of the transmitter as below. Recommended separation distance: d=1.2√P d=1.2√P (80MHz to 800MHz) d=2.3√P(800MHz to 2.7GHz) Where P is the maximum output power rating of the transmitter in watts (W) according to the transmitter manufacturer and d is the recommended separation distance in meters (m). Field strengths from fixed RF transmitters, as determined by an ealectromagnetic site survey , should be less than the compliance lbevel in each frequency range . Interference may occur in the vicinity of equipment marked with the following symbol: |
- The ISM (industrial, scientific, and medical) bands between 150 kHz and 80 MHz are 6,765 MHz to 6,795 MHz; 13,553 MHz to 13,567 MHz; 26,957 MHz to 27,283 MHz; and 40,66 MHz to 40,70 MHz.
- Field strengths from fixed transmitters, such as base stations for radio (cellular/cordless) telephones and land mobile radios, amateur radio, AM and FM radio broadcast, and TV broadcast cannot be predicted theoretically with accuracy. To assess the electromagnetic environment due to fixed RF transmitters, an electromagnetic site survey should be considered. If the measured field strength in the location in which the equipment is used exceeds the applicable RF compliance level above, the equipment should be observed to verify normal operation. If abnormal performance is observed, additional measures may be necessary, such as reorienting or relocating the equipment.
RECOMMENDED SEPARATION DISTANCES
Recommended separation distances between portable and mobile RF communications equipment and the Normatec 3 control unit.
| Rated maximum output power of transmitter W | Separation distance according to frequency of transmitters in meters | ||
| 150kHz – 80MHz d=1.2√P | 80MHz to 800MHz d=0.35√P | 800MHz to 2.7GHz d=0.7√P | |
| 0.01 | 0.12 | 0.12 | 0.23 |
| 0.1 | 0.38 | 0.38 | 0.73 |
| 1 | 1.2 | 1.2 | 2.3 |
| 10 | 3.8 | 3.8 | 7.3 |
| 100 | 12 | 12 | 23 |
For transmitters rated at a maximum output power not listed above, the recommended separation distance (d) in meters (m) can be estimated using the equation applicable to the frequency of the transmitter, where P is the maximum output power rating of the transmitter in watts (W) according to the transmitter manufacturer.
Note 1: At 80 MHz and 800 MHz, the separation distance for the higher frequency range applies.
Note 2: These guidelines may not apply in all situations. Electromagnetic propagation is affected by absorption and reflection from structures, objects, and people.
EQUIPMENT CLASSIFICATION
- Protection against electric shock: Class II/internally powered equipment
- Degree of protection against electric shock: Type BF applied part (control unit, leg, arm, and hip attachments)
- Ingress protection: IP21
- Equipment not suitable for use in the presence of a flammable anesthetic mixture with air or with oxygen or nitrous oxide
- Continuous operation
TROUBLESHOOTING
| Problem | Possible Causes | Solutions |
| The system does not start | Power is not turned on Power supply is not securely connected Faulty electrical wall outlet | Press the power button to turn the control unit on. Check that the battery is charged or that the charger is securely connected to the Normatec 3 control unit and the electrical outlet. Check that the wall outlet works. |
| The attachments (leg, arm, or hip) do not inflate | The session has not been started The hose is not securely connected The attachments or hose have been damaged | Tap the start button to start the session. Check that the hose is securely connected to the Normatec 3 control unit and that the attachments are securely connected to the junction box. Check that the attachments and/or hose do not have an air leak. |
| The system stopped pumping | The hose is not securely connected The attachments have been damaged | Check that the hose is securely connected to the Normatec 3 control unit and that the attachments are securely connected to the junction box. Check that the attachments do not have an air leak. |
| Air leak message: ERR | Air leak | Check for leaks in the hose or attachment. Check that the connectors are firmly connected. if using only one attachment, make sure blocking plug is fully seated in junction box. |
| Low Battery | Battery needs to be charged | Plug in the control unit to charge the battery. |
| Cannot establish or maintain a Bluetooth connection | Bluetooth is turned off | Turn on Bluetooth on both the Normatec 3 control unit and the phone attempting to pair with the Normatec 3 control unit. |
Call Hyperice customer service at +1.949.565.4994 if further assistance is needed.
WARRANTY INFORMATION
Normatec 3 System Limited One-Year Warranty The Normatec 3 control unit is warranted by Hyperice, Inc. a California corporation (“Hyperice”), against manufacturing defects in material and workmanship for a period of one year from the date of purchase from Hyperice. In the event of any such defect occurring during the warranty period, Hyperice will, at its option, (a) correct the defect by repair or by replacement of the applicable part or component that fails as a result of such defect, without charge for parts and labor; or (b) replace the control unit with one of the same or then current design.
The Normatec 3 attachments and other accessories include the leg attachments, hip attachment, arm attachments, power supply, and hosing. Normatec 3 attachments and other accessories are warranted by Hyperice against manufacturing defects in material and workmanship for a period of one year from the date of purchase from Hyperice. In the event of any such defect occurring during the warranty period, Hyperice will, at its option, (a) correct the defect by repair or by replacement of the applicable part or component that fails as a result of such defect, without charge for parts and labor; or (b) replace the applicable part with one of the same or then current design.
The foregoing Warranties do not cover normal wear and tear or cosmetic damage, and are void if the control unit and/or the attachments and other accessories (collectively, the “product”) are not used in accordance with the user manual, are otherwise misused or modified in any way, and/or are repaired or altered by anyone other than an authorized service representative of Hyperice. These Warranties expressly exclude transportation, shipping or insurance costs, or defects, damages, or failure resulting from misuse, abuse, improper or abnormal usage, or neglect.
EXCEPT AS PROVIDED ABOVE, HYPERICE MAKES NO EXPRESS WARRANTIES OR ANY IMPLIED WARRANTIES, INCLUDING THOSE OF MERCHANTABILITY AND FITNESS FOR A PARTICULAR PURPOSE OR USE, AND ARE LIMITED IN DURATION AS STATED ABOVE. EXCEPT AS EXPRESSLY STATED ABOVE, HYPERICE SHALL HAVE NO LIABILITY OR RESPONSIBILITY TO ITS CUSTOMER OR ANY OTHER PERSON OR ENTITY WITH RESPECT TO ANY LIABILITY, LOSS, OR DAMAGE CAUSED DIRECTLY OR INDIRECTLY BY USE OR PERFORMANCE OF THE PRODUCT OR ARISING OUT OF THE USE OR INABILITY TO USE THE PRODUCT OR ANY BREACH OF THESE WARRANTIES, INCLUDING BUT NOT LIMITED TO ANY DAMAGES RESULTING FROM INCONVENIENCE, LOSS OF TIME, PROPERTY, OR INCOME, OR ANY INDIRECT, SPECIAL, INCIDENTAL, OR CONSEQUENTIAL DAMAGES OF ANY KIND.
Some states do not allow the exclusion or limitation of incidental or consequential damages, so the above limitations or exclusions may not apply to you. These Warranties give you specific legal rights, and you may also have other rights, which vary from state to state. In the event of a product defect covered by the foregoing Warranties during the applicable warranty period, contact Hyperice at +1.949.565.4994 or [email protected].
All replaced parts and products become the property of Hyperice. New or reconditioned parts and products may be used in the performance of Warranty service. Repaired or replaced parts and products are warranted for the remainder of the original warranty period only. You will be charged for repair or replacement of parts and products made after the expiration of the applicable Warranty period.
RETURN POLICY
This policy is only applicable if you are an end user and you purchased the equipment directly from Hyperice. In the unlikely event that you are not satisfied with your purchase, you may return it within thirty (30) days of the purchase date. All returns are subject to the conditions listed below.
- Returns must have a Return Merchandise Authorization (RMA) number. Obtain an RMA number by contacting us at +1.949.565.4994 or [email protected]. Returned items without an RMA number will not be eligible for a credit to your account.
- Returns must be shipped within 30 days of the purchase date.
- Products and packaging must be returned in new and undamaged condition.
Any products showing signs of wear or being soiled in any way will be deemed “unacceptable,” and you will be so notified. Unacceptable returns may be reshipped to you following payment of an inspection/shipping fee. - If you refuse delivery of your order for any reason, you will be refunded the cost of your order less shipping fees.
- All partial or full refunds will be posted to the credit card used for purchase.
- Hyperice is not responsible for items lost or damaged during shipping.
NormaTec Industries, LP
480 Pleasant Street, Suite A200
Watertown, Massachusetts 02472 USA
Copyright 2021 © Hyperice, Inc. All rights reserved.

























