BOSCH Microwave 500 Series

Safety DefinitionsSafety Definitions
WARNING
This indicates that death or serious injuries may occur as a result of non-observance of this warning.
CAUTION This indicates that minor or moderate injuries may occur as a result of non-observance of this warning.
NOTICE: This indicates that damage to the appliance or property may occur as a result of non-compliance with this advisory.
Note: This alerts you to important information and/or tips.
IMPORTANT SAFETY INSTRUCTIONS
INSTALLER: LEAVE THESE INSTRUCTIONS WITH THE APPLIANCE AFTER INSTALLATION IS COMPLETE. IMPORTANT: SAVE THESE INSTRUCTIONS FOR THE LOCAL ELECTRICAL INSPECTOR’S USE.
WARNING: If the information in this manual is not followed exactly, fire or shock may result causing property damage or personal injury.
WARNING: Do not repair, replace or remove any part of the appliance unless specifically recommended in the manuals. Improper installation, service or maintenance can cause injury or property damage. Refer to this manual for guidance. All other servicing should be done by an authorized servicer.
Appliance Handling Safety
Unit is heavy and requires at least two people or proper equipment to move. Do not lift appliance by door handle. Hidden surfaces may have sharp edges. Use caution when reaching behind or under appliance.
Safety Codes and Standards
This appliance complies with the latest version of one or more of the following standards:
- CAN/CSA C22.2 No. 61 – Household Cooking Ranges
- UL 858 – Household Electric Ranges
- CAN/CSA C22.2 No. 150 – Microwave Ovens
- UL 923 – Microwave Cooking Appliances
- UL 507 – Electric Fans
- CAN/CSA C22.2 No. 113 – Fans and Ventilators
- CSA C22.2 No. 64 – Household Cooking and Liquid-
Heating Appliances - 1026 – Electric Household Cooking and Food
Serving Appliances
It is the responsibility of the owner and the installer to determine if additional requirements and/or standards apply to specific installations.
Electric Safety
WARNING
Before you plug in an electrical cord or turn on power supply, make sure all controls are in the OFF position. For appliances equipped with a cord and plug, do not cut or remove the ground prong. It must be plugged into a matching grounding type receptacle to avoid electrical shock. If there is any doubt as to whether the wall receptacle is properly grounded, the customer should have it checked by a qualified electrician.
If required by the National Electrical Code (or Canadian Electrical Code), this appliance must be installed on a separate branch circuit.
Installer – show the owner the location of the circuit breaker or fuse. Mark it for easy reference. Before installing, turn power OFF at the service panel. Lock service panel to prevent power from being turned ON accidentally. Be sure your appliance is properly installed and grounded by a qualified technician. Installation, electrical connections and grounding must comply with all applicable codes.
Microwave Safety
PRECAUTIONS TO BE OBSERVED BEFORE AND DURING SERVICING TO AVOID POSSIBLE EXPOSURE TO EXCESSIVE MICROWAVE ENERGY
- Do not operate or allow the oven to be operated with the door open.
- Make the following safety checks on all ovens to be serviced before activating the magnetron or other microwave source, and make repairs as necessary:
- Interlock operation
- Proper door closing
- Seal and sealing surfaces (arcing, wear, and other damage)
- Damage to or loosening of hinges and latches
- Evidence of dropping or abuse
- Before turning on microwave power for any service test or inspection within the microwave generating compartments, check the magnetron, wave guide or transmission line, and cavity for proper alignment, integrity, and connection.
- damaged or misadjusted components in the interlock, monitor, door seal, and microwave generation and transmission systems shall be repaired, replaced, or adjusted by procedures described in this manual before the oven is released to the owner.
- A microwave leakage check to verify compliance with the Federal Performance Standard should be performed on each oven prior to release to the owner.
GROUNDING INSTRUCTIONS
This appliance must be grounded. Grounding reduces the risk of electric shock by providing a safe pathway for electric current in the event of a short circuit. This appliance is equipped with a cord having a grounding wire with a grounding plug. The plug must be plugged into an outlet that is properly installed and grounded.
WARNING
Improper grounding can result in a risk of electric shock. Consult a qualified electrician if the grounding instructions are not completely understood, or if doubt exists as to whether the appliance is properly grounded. Do not use an extension cord. If the power supply cord is too short, have a qualified electrician install an outlet near the appliance.
Related Equipment Safety
Remove all tape and packaging before using the appliance. Destroy the packaging after unpacking the appliance. Never allow children to play with packaging material. Never modify or alter the construction of the appliance. For example, do not remove leveling legs, panels, wire covers or anti-tip brackets/screws.
WARNING
To reduce the risk of fire, use only metal ductwork.
CAUTION
For general ventilating use only. Do not use to exhaust hazardous or explosive materials and vapors.
WARNING
- Do not operate gas cooktop burners without pots in place. The open flame may overheat the microwave oven above.
Proposition 65 Warning:
This product may contain a chemical known to the State of California, which can cause cancer or reproductive harm. Therefore, the packaging of your product may bear the following label as required by California:
Checklist for Installation
Use this checklist to verify that you have completed each step of the installation process. This can help you avoid common mistakes. Refer to detailed instructions for each step in the sections following this checklist.
- Before installing the appliance, be sure to verify the cabinet dimensions are correct for your appliance and that the required electrical connections are present. Make sure the electrical cord provided on the appliance is able to reach to the point of connection.
Sections: Location requirements, Electrical installation - Move the appliance into place in front of the cabinet opening.
Section: Removing Packaging - Remove packaging materials, leaving the bottom packaging on the appliance to avoid damage to the floor.
Section: Removing Packaging - Remove the mounting plate from the rear of the appliance.
Section: Install Appliance – Removing the mounting plate - Find wall studs.
Section: Install Appliance – Finding the wall studs - Attach the mounting plate to the wall.
Section: Install Appliance – Attaching the mounting plate to the wall - Adapt the microwave blower.
Section: Install Appliance – Adapting the microwave blower - Prepare the cabinet for mounting.
Section: Install Appliance – Preparing cabinet - At least two persons are needed to lift the appliance; tilt and hook the appliance to the holding plate.
Section: Install Appliance – Mounting the microwave oven - Push the appliance all the way into place and fasten the holding screws through top cabinet holes.
Section: Install Appliance – Mounting the microwave oven - Use correct hood exhaust.
Section: Install Appliance – Hood exhaust - Test the microwave oven for proper functioning.
Section: Testing operation. Always read and follow the complete installation instructions contained in this manual.
Before you begin
Removing Packaging
- Remove filter, accessories and hardware. Do not remove the Styrofoam protecting the front of the oven.
- Fold back all four carton flaps fully against carton sides. Then carefully roll the oven and carton over onto the top side. The oven should be resting in the Styrofoam.
- Pull the carton up and off the oven.

- Cut the middle of the outer protective plastic bag to remove the mounting plate.
Tools and parts needed
- Philips head screwdriver
- Pencil
- Ruler or tape measure and straight edge
- Drill
- Drill bits: 3/16”, 1/2”, 5/8”
- Gloves
- Saw (saber, hole or keyhole)
- Stud finder or hammer
- Safety goggles
- Level
- Duct and masking tape
Optional tools
- Carpenter square
- Tin snips (to cut damper)
- Scissors (to cut cabinet template)
- Filler blocks or scrap wood pieces (for recessed bottom cabinet installations)
Parts included
You will find the installation hardware contained in packet with the unit. Check to make sure you have all these parts:
A Top mounting bolts: Self-aligning machine screws ]” – 28×3]”
B Toggle bolts – 3/16″x3″
C Wall mounting hardware: Toggle wings
D Wood screws ]”x2″
E Nylon grommet (for metal cabinets)
F Exhaust adaptor
G Mounting plate (attached to the back of the microwave oven)
Not shown:
- Top cabinet template
- Rear wall template
- Aluminum grease filters
- Charcoal filter (factory fitted in the microwave oven)
CAUTION: This microwave oven is to be mounted only above countertop level.
Location requirements
Installation dimensions


Appliance dimensions
Note: Take into account that the front and rear measurements of the appliance are not identical.
Power Requirements
The outlet must be properly grounded in accordance with all applicable codes. It can be installed anywhere inside the cabinet above the appliance, within reach of the power cord (approx. 24 in).
Electrical Installation
The model stated on the front cover is rated at 120V AC, 60 Hz and uses a NEMA 5-15 plug to connect to a dedicated 120 V microwave circuit.
| Model | Connection | Circuit Requirements |
| HMV5053C | NEMA 5-15 | 120 V, 15 Amps 60 Hz |
| HMV8044C | NEMA 5-15 | 120 V, 15 Amps 60 Hz |
Electrical Requirements:
- a three prong grounded outlet
- 120 V, 60 Hz, AC only
- 15 Amp electrical supply with a fuse or a circuit breaker
This product must be connected to a supply circuit of the proper voltage and frequency. Wire size must conform to the requirements of the National Electric Code or the prevailing local code for this rating. The power supply cord and plug should be brought to a separate 20-amp branch circuit single grounded outlet. The outlet box should be located in the area behind the appliance (see section Cabinet Dimensions). The outlet box and supply circuit should be installed by a qualified electrician and conform to the National Electrical Code or the prevailing local code.
The voltage used must be the same as specified on the data plate of this microwave oven. Using a higher voltage is dangerous and may result in a fire or oven damage. Using a lower voltage will cause slow cooking. The manufacturer is not responsible for any damages resulting from the use of the oven with any voltage other than specified.
Install Appliance
Removing the mounting plate
Note: To avoid possible damage to the work surface or to the bottom of the appliance, cover the work surface.
- Remove any remaining contents from the microwave oven cavity.
- Remove the screws from the mounting plate.

The mounting plate will be used as the rear wall template and for mounting. - Reinstall the screws into the holes where they were removed.
Note: To avoid damage to the microwave oven, do not grip or use the door or door handle while the microwave oven is being handled.
Finding the wall studs
Note: The microwave must be connected to at least one wall stud. If no wall studs exist within the cabinet opening, do not install the microwave oven.
- Locate the edges of the wall studs within the cabinet opening by using:
- a stud finder or
- a hammer (tapping lightly across the mounting surface to find a solid sound).
- Place a mark halfway between the edges and draw a line down the center of the studs (See possible wall studs configuration).
Possible wall stud configurations
These depictions show examples of preferred installation configurations with the mounting plate.
Note: Care must be taken when drilling holes. Electrical wires may be concealed behind the wall covering and contact with them could result in electrical shock.
No wall studs at corner holes
If wall stud is within 6¼” (159 mm) of the vertical centerline, only Room Venting (recirculation) or Roof Venting installations can be done.
Wall stud at one corner hole
Wall studs at both corner holes
Attaching the mounting plate to the wall
Preparing rear wall
CAUTION: Wear gloves to avoid cutting fingers on sharp edges.
Note: Make sure the cabinet bottom is level.
- Draw a vertical line on the wall at the center of the cabinet space.
- Cabinet with front overhang: Draw a line on the back wall equal to the depth of the front overhang.
- Tape the REAR WALL TEMPLATE onto the wall matching the centerline and touching the bottom of the cabinet or the level line.
- Draw a horizontal line on the wall at the bottom of the Rear Wall Template.
- Drill holes at locations A and B:
- 3/16” (5 mm) holes for wood screws (stud)
- 5/8” (16 mm) holes for toggle bolts (no stud)
Note: If neither A nor B is in a stud, find a stud somewhere in the area of the mounting plate and drill a 3/16” (5 mm) hole.
It is important to use at least one wood screw mounted firmly in a stud to support the weight of the microwave.
- Wall venting installation only: Cut out the shaded area “F” on the REAR WALL TEMPLATE using a saber or keyhole saw.
CAUTION: If exhaust adaptor is positioned outside consider recommended dimensions, otherwise greaseladen air will discharge into house structure. - Remove REAR WALL TEMPLATE.
Attaching the mounting plate
- Remove the toggle wings from the bolts.
- Insert the bolts into the mounting plate through the holes designated to go into drywall.

- Attach toggle wings from the back of the mounting plate onto each bolt. Leave enough space for toggle wings to go through the wall and to open.

- Place the mounting plate against the wall and push the bolts through the drywall.
- Finger tighten the bolts to make sure toggle wings have opened against drywall.


- Verify that the plate is properly centered and level.
- Securely tighten all screws, including the wood screw.
Adapting microwave blower
This microwave is shipped assembled for Room Venting Installation. The blower unit is already in place and must not to be adapted.
Adapting microwave blower for roof venting
- Remove and save the screws holding the blower motor and the blower plate. Lift up the blower plate and put it aside.
- Carefully pull out the blower unit and rotate 90º so that fan blade openings are facing out the top of the microwave.

- Place the blower unit back into the opening.
CAUTION: Do not pull or stretch the blower unit wiring. Make sure the wires are not pinched, and that they are properly secured. - Replace the blower plate and secure with the screws removed in step 1.

- Attach the exhaust adapter to the top of the blower plate by sliding it into the guides. Push in securely until it is in the locking tabs. Make sure the damper hinge swings freely.

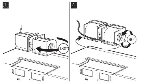
Adapting microwave blower for wall venting
- Remove and save the screws holding the blower motor and the blower plate. Lift up the blower plate and put it aside.
- Carefully pull out the blower unit and rotate 90° so that fan blade openings are facing out the top of the microwave.

- Rotate the blower unit counterclockwise 180°.
- Gently remove the wires from the grooves. Reroute the wires through the grooves on other side of the blower unit. Rotate blower unit 90º so that fan blade openings are facing out the back of the microwave.

CAUTION: Do not pull or stretch the blower unit wiring. Make sure the wires are not pinched, and that they are properly secured - Place the blower unit back into the opening.
- Replace the blower plate and secure with the screws removed in Step 1.

- Use tin snips to cut and remove knockouts from the rear plate of the microwave oven. Discard knockouts. Be careful not to distort the plate.
- Attach the exhaust adapter to the rear of the oven by sliding it into the guides. Push in securely until it is in the lower locking tabs. Make sure the damper hinge swings freely.

Preparing cabinet
- Remove power to outlet.
- Remove all contents from upper cabinet.
- Tape the TOP CABINET TEMPLATE onto the bottom surface. Make sure the template centerline aligns with the vertical line on the wall. Rear wall arrows must be against rear wall.
Note: For recessed cabinet bottom, trim the template edges so that it fits inside the recessed area. The template has trim lines to use as guides. - Drill 3\8″ (10 mm) holes at “A”, “B” and “C”.
Note: Wear safety goggles when drilling holes in the cabinet bottom. - Cut out the 2″ (51 mm) hole at “D”. This hole is for the power supply cord.
Note: If the cabinet is metal, use the nylon grommet around the opening to protect the cord. - Roof venting installation only: Cut out the shaded area “E” on the TOP CABINET TEMPLATE using a saber or keyhole saw.
- Remove templates from back wall and cabinet.
Mounting the microwave oven
Notes
- If the bottom of the upper cabinet is recessed or has front overhang, you will need to prepare 2″ x 2″ (51 mm x 51 mm – depth equivalent to cabinet recess or overhang) filler blocks to provide additional support for the bolts:
- mark the center of each filler block and drill a 3\8″ (10 mm) diameter hole
- align filler blocks over the three openings on top of the microwave oven and attach with masking tape
- Use at least two people to install the microwave oven. Do not grip or use handle during the installation.

- When mounting the microwave oven, thread power cord through hole in bottom of top cabinet. Keep the cord tight and do not pinch it, especially when mounting flush to bottom of cabinet. Do not pull the cord to lift the oven.
- Lift the microwave, tilt it forward, and hook slots at back bottom edge onto four lower tabs of the mounting plate.
- Rotate the front of the oven up against cabinet bottom.

- Insert a self-aligning screw (item A) through top center cabinet hole. Temporarily secure the oven by turning the screw at least two full turns after the threads have engaged.
- Insert the two remaining self-aligning screws through outer top cabinet holes. Turn two full turns on each screw.

- Tighten center screw completely.
- Tighten the outer two screws completely to the top of the microwave oven.
Note: While tightening screws, hold the microwave oven in place against the wall and the top cabinet. - Install grease filters by sliding them into the side slots, then pushing up and toward oven to lock (image shows bottom view of appliance).

Hood exhaust
When venting exhaust to the outside, hood exhaust ducts will be required. Read the following carefully.
Note: It is important that venting be installed using the most direct route and with as few elbows as possible.
- This ensures clear venting of exhaust and helps prevent blockages. Also, make sure dampers swing freely and nothing is blocking the ducts.
- The hood exhaust has been designed to mate with a standard 3¼” x 10″ (82 x 254 mm) rectangular duct. If a round duct is required, a rectangular-to-round transition adaptor must be used. Do not use less than a 6″ (152 mm) diameter duct.
- For satisfactory air movement, the total duct length of 3¼” x 10″ (82 x 254 mm) rectangular or 6″ (152 mm) diameter round should not exceed 120 equivalent feet (36.5 m).
- Elbows, transitions, wall and roof caps etc. cause additional resistance to airflow and are equivalent to a section of straight duct which is longer than their actual physical size. When calculating the total duct length, add the equivalent lengths of all transitions and adaptors plus the length of all straight duct sections. The chart below shows you how to calculate total equivalent ductwork length using the approximate feet of equivalent length of some typical ducts:


* If a rectangular-to-round transition adapter is used, first make sure the damper hinge of the microwave swings freely. If necessary, cut the damper to fit, using the tin snips, in order to allow free movement. Equivalent lengths of duct pieces are based on actual tests and reflect requirements for good venting performance with any vent hood.
Testing Operation
- Turn on power at the breaker.
- Test the oven mode: Test the CONVECTION oven mode (if available). See the Use and Care Manual for detailed operation instructions.
- Verify that the oven light comes on and the oven begins to preheat.
- Test the microwave:
Place a cup of water into the oven cavity. Follow the instructions in the Use and Care Manual on how to heat a beverage. - Verify that the oven light comes on and the water is heated.
- If any of the tests do not result as explained above, contact Service for assistance. Otherwise, the installation is complete at this time.
Bosch® Support
Before Calling Service
See the Use and Care Manual for troubleshooting information. Refer to the “Statement of Limited Product Warranty” in the Use and Care Manual. To reach a service representative, see the contact information at the front of the manual or in the following section. Please be prepared with the information printed on your product rating label prior to calling.
Data Plate
The data plate shows the model and serial number. Refer to the data plate on the appliance when requesting service. The data plate can be found on the inside of the appliance.
To avoid having to search for each piece of information when calling, you can enter the four items needed in the spaces provided below.
Model No.
FD-No.
Date of Purchase
Customer Service
Keep your invoice or escrow papers for warranty validation if service is needed.
Service
We realize that you have made a considerable investment in your kitchen. We are dedicated to supporting you and your appliance so that you have many years of creative cooking. Please don’t hesitate to contact our Customer Support Department if you have any questions or in the unlikely event that your Bosch® appliance needs service. Our service team is ready to assist you.
USA
800-944-2904
www.bosch-home.com/us/support
Canada
800-944-2904
www.bosch-home.ca/en/support
Parts and Accessories
Parts, filters, descalers, stainless steel cleaners and more can be purchased in the Bosch® eShop or by phone.
USA
www.bosch-home.com/us/store
Canada
Marcone 800-482-6022 or Reliable Parts 800-941-9217
1901 Main Street, Suite 600
• Irvine, CA 92614 • 800-944-2904
www.bosch-home.com
• © 2019 BSH Home Appliances.




































