BOSCH CFA634G.1B Microwave Oven

Safety
Observe the following safety instructions.
General information
- Read this instruction manual carefully.
- Keep the instruction manual and the product information safe for future reference or for the next owner.
- Do not connect the appliance if it has been damaged in transit.
Intended use
Only a licensed professional may connect appliances without plugs. Damage caused by incorrect connection is not covered under the warranty.
The appliance can only be used safely if it is correctly installed according to the safety instructions. The installer is responsible for ensuring that the appliance works perfectly at its installation location.
Only use this appliance:
- To prepare meals and drinks.
- Under supervision. Never leave the appliance unattended when cooking for short periods.
- For household use and similar applications, such as: In kitchens for employees in shops, offices and other commercial sectors; in agriculture; by customers in hotels and other residential facilities; in bed and breakfasts.
- Up to an altitude of max. 4000 m above sea level.
This appliance complies with the standards EN 55011 and CISPR 11. It is a group 2, class B product. Group 2 means that microwaves are produced for the purpose of heating food. Class B means that the appliance is suitable for private households.
Restriction on user group
This appliance may be used by children aged 8 or over and by people who have reduced physical, sensory or mental abilities or inadequate experience and/or knowledge, provided that they are supervised or have been instructed on how to use the appliance safely and have understood the resulting dangers.
Do not let children play with the appliance.
Children must not perform cleaning or user maintenance unless they are at least 15 years old and are being supervised.
Keep children under the age of 8 years away from the appliance and power cable.
Safe use
Always place accessories in the cooking compartment the right way round. → “Accessories”, Page 8
WARNING ‒ Risk of fire!
Combustible objects that are left in the cooking compartment may catch fire.
- Never store combustible objects in the cooking compartment.
- If smoke is emitted, the appliance must be switched off or the plug must be pulled out and the door must be held closed in order to stifle any flames.
Loose food remnants, fat and meat juices may catch fire. - Before using the appliance, remove the worst of the food residues and remnants from the cooking compartment, heating elements and accessories.
WARNING ‒ Risk of scalding!
The accessible parts of the appliance become hot during operation.
- Never touch these hot parts.
- Keep children at a safe distance.
Hot steam may escape when you open the appliance door. Steam may not be visible, depending on the temperature. - Open the appliance door carefully.
- Keep children at a safe distance.
If there is water in the cooking compartment when it is hot, this may create hot steam. - Never pour water into the cooking compartment when the cooking compartment is hot.
WARNING ‒ Risk of injury!
Scratched glass in the appliance door may develop into a crack.
- Do not use any harsh or abrasive cleaners or sharp metal scrapers to clean the glass on the appliance door, as they may scratch the surface.
The hinges on the appliance door move when the door is opened and closed, which could trap your fingers. - Keep your hands away from the hinges.
Components inside the appliance door may have sharp edges. - Wear protective gloves.
WARNING ‒ Risk of electric shock!
Incorrect repairs are dangerous.
- Repairs to the appliance should only be carried out by trained specialist staff.
- Only use genuine spare parts when repairing the appliance.
- If the power cord of this appliance is damaged, it must be replaced by the manufacturer, the manufacturer’s Customer Service or a similarly qualified person in order to prevent any risk.
If the insulation of the power cord is damaged, this is dangerous. - Never let the power cord come into contact with hot appliance parts or heat sources.
- Never let the power cord come into contact with sharp points or edges.
- Never kink, crush or modify the power cord.
An ingress of moisture can cause an electric shock. - Do not use steam- or high-pressure cleaners to clean the appliance.
If the appliance or the power cord is damaged, this is dangerous. - Never operate a damaged appliance.
- Never operate an appliance with a cracked or fractured surface.
- Never pull on the power cord to unplug the appliance. Always unplug the appliance at the mains.
- If the appliance or the power cord is damaged, immediately unplug the power cord or switch off the fuse in the fuse box.
- Call customer services. → Page 16
WARNING ‒ Danger: Magnetism!
Permanent magnets are used in the control panel or in the controls. These may affect electronic implants, e.g. heart pacemakers or insulin pumps.
- Wearers of electronic implants must stay at least 10 cm away from the control panel.
WARNING ‒ Risk of suffocation!
Children may put packaging material over their heads or wrap themselves up in it and suffocate.
- Keep packaging material away from children.
- Do not let children play with packaging material.
Children may breathe in or swallow small parts, causing them to suffocate. - Keep small parts away from children.
- Do not let children play with small parts.
Microwave
CAREFULLY READ THE IMPORTANT SAFETY INSTRUCTIONS AND KEEP THEM SAFE FOR FUTURE USE
WARNING ‒ Risk of fire!
Using the appliance for anything other than its intended purpose is dangerous and may cause damage. For example, heated slippers and pillows filled with grain or cereal may catch fire, even several hours later.
- Never dry food or clothing with the appliance.
- Never heat up slippers, pillows filled with grain or cereal, sponges, damp cleaning cloths or similar with the appliance.
- The appliance must only be used to prepare food and drink.
Food and its packaging and containers may catch fire. - Never heat food in heat-retaining packaging.
- Do not leave food unattended while it is heating in containers made of plastic, paper or other combustible materials.
- Never set the microwave power too high or the cooking time too long. Follow the instructions provided in this user manual.
- Never use the microwave to dry food.
- Never defrost or heat food with a low water content, such as bread, at too high a microwave power or for too long.
Cooking oil may catch fire. - Never use the microwave to heat cooking oil on its own.
WARNING ‒ Risk of explosion!
Liquids and other food may easily explode when in containers that have been tightly sealed.
- Never heat liquids or other food in containers that have been tightly sealed.
WARNING ‒ Risk of burns!
Foods with peel or skin may burst or explode during heating, or even afterwards.
- Never cook eggs in their shell or heat hardboiled eggs in their shell.
- Never cook shellfish or crustaceans.
- Always prick the yolk of eggs before microwaving.
- The skin of foods that have a peel or skin, such as apples, tomatoes, potatoes and sausages, may burst. Before heating, prick the peel or skin.
Heat is not distributed evenly through baby food. - Never heat baby food in closed containers.
- Always remove the lid or teat.
- Stir or shake well after heating.
- Check the temperature before giving the food or drink to a child.
Heated food gives off heat. The cookware may become hot. - Always use oven gloves to remove cookware or accessories from the cooking compartment.
Airtight packaging may burst when food is heated. - Always follow the instructions on the packaging.
- Always use oven gloves to remove the dishes from the cooking compartment.
The accessible parts of the appliance become hot during operation. - Never touch these hot parts.
- Keep children at a safe distance.
Using the appliance for anything other than its intended purpose is dangerous. This is because, for instance, overheated slippers, pillows filled with grain or cereal, sponges and damp cleaning cloths, etc., may cause burns to the skin.
- Never dry food or clothing with the appliance.
- Never heat up slippers, pillows filled with grain or cereal, sponges, damp cleaning cloths or similar with the appliance.
- The appliance must only be used to prepare food and drink.
WARNING ‒ Risk of scalding!
There is a possibility of delayed boiling when a liquid is heated. This means that the liquid reaches the boiling temperature without the usual steam bubbles rising to the surface. Exercise caution even when only gently shaking the container. The hot liquid may suddenly boil over and splatter.
- Always place a spoon in the container when heating liquids. This prevents delayed boiling.

WARNING ‒ Risk of injury!
Unsuitable cookware may crack. Porcelain or ceramic cookware can have small perforations in the handles and lid. These perforations conceal a cavity below. If moisture penetrates this cavity, it could cause the cookware to crack.
- Only use microwave-safe cookware
Cookware and containers made from metal or cookware with metal edging may lead to sparks being formed during simple microwave operation. The appliance is damaged. - Never use metal containers during microwave-only operation.
- Only use microwave-safe cookware.
WARNING ‒ Risk of electric shock!
The appliance uses a high voltage.
- Never remove the casing.
WARNING ‒ Risk of serious harm to health!
Inadequate cleaning may destroy the of the appliance, reduce its service life, and lead to dangerous situations, such as escaping microwave energy.
- Clean the appliance on a regular basis, and remove any food residue immediately.
- Always keep the cooking compartment, door and door stop clean.
→ “Cleaning and servicing”, Page 13
Never operate the appliance if the cooking compartment door is damaged. Microwave energy may escape. - Never use the appliance if the cooking compartment door or the plastic door frame is damaged.
- Any repair work must only be carried out by the after-sales service. Microwave energy will escape from appliances that do not have any casing.
- Never remove the casing.
- Contact our after-sales service if maintenance or repair work is needed.
Preventing material damage
General
ATTENTION!
The prolonged presence of moisture in the cooking compartment leads to corrosion.
- Always wipe away the condensation after cooking.
- Do not keep moist food in the cooking compartment for a long time with the door closed.
- Do not store food in the cooking compartment.
Sitting or placing objects on the appliance door may damage it.
- Do not place, hang or support objects on the appliance door. With certain models, accessories may scratch the door pane when closing the appliance door.
- Always push accessories fully into the cooking compartment.
Microwave
Follow these instructions when using the microwave.
ATTENTION!
Metal touching the wall of the cooking compartment will cause sparks, which may damage the appliance or the inner door pane.
- Metal (e.g. a spoon in a glass) must be kept at least 2 cm from the cooking compartment walls and the inside of the door.
Placing aluminium containers in the appliance may cause sparks, which will damage the appliance. - Do not use aluminium containers in the appliance.
Operating the appliance without food in the cooking compartment may lead to overloading. - Do not switch on the microwave unless there is food inside. The only exception to this rule is when performing a short cookware test.

If you prepare several bags of microwave popcorn in immediate succession at a microwave power level that is too high, the cooking compartment may be damaged.
- Leave the appliance to cool down for several minutes between each use.
- Never set a microwave power level that is too high.
- Use a maximum microwave output of 600 watts.
- Always place the popcorn bag on a glass plate.
Environmental protection and saving energy
Disposing of packaging
The packaging materials are environmentally compatible and can be recycled.
- Sort the individual components by type and dispose of them separately
Saving energy
If you follow these instructions, your appliance will use less power.
Hide the clock in standby mode.
- The appliance saves energy in standby mode.
Note:
The appliance requires:
- A maximum of 1 W when the appliance is in operation with the display switched on
- A maximum of 0.5 W when the appliance is in operation with the display switched off
Familiarising yourself with your appliance
Control panel
You can use the control panel to configure all functions of your appliance and to obtain information about the operating status.
On certain models, specific details such as colour and shape may differ from those pictured.
![]() | Buttons The buttons have a pressure point. Press the buttons to activate them. |
![]() | Touch fields Use the touch fields to set different functions directly. |
![]() | Control ring The control ring can be turned infinitely in either direction. Press down lightly on the control ring and use your finger to move it in the required direction. |
![]() | Display The display shows the current setting values, options and notifications. |
Buttons
You can use the buttons to directly select various functions
| Symbol | Button | Use |
| On/off | Switch the appliance on or off | |
| Start/stop | Start or pause operation |
Touch fields
Touch fields are touch-sensitive surfaces. To select a function, touch the relevant field.
| Symbol | Touch field | Use |
| 90 | Microwave output | Set 90 W |
| 180 | Microwave output | Set 180 W |
| 360 | Microwave output | Set 360 W |
| 600 | Microwave output | Set 600 W |
| 900 | Microwave output | Set 900 W |
| Time-setting options | Select time-setting options | |
| Programmes | Select a programme | |
| Weight | Select a weight for the programmes | |
| Information | Display notes or press and hold (approx. 3 seconds) to call up the basic settings |
Note: When
lights up, touch
to display information for a few seconds.
The touch field whose value you can change on the display, or that is displayed in the foreground, lights up red.
Control ring
You can use the control ring to change the adjustment values shown on the display.
For most selection lists, e.g. programmes, the first point begins again following the last point. For some selection lists, e.g. cooking time, rotate the control ring back again once the minimum or maximum value has been reached.
Display
You can see the current setting values or options in the display
| Display | Description |
| Highlighted information | The highlighted value can be changed directly without selecting the value beforehand. Once an operation starts, the duration is always highlighted. |
| Enlargement | As long as you use the control ring to change the highlighted value, only this value is displayed larger. |
Display ring
There is a display ring around the outside of the display.
If you are changing a value, the display ring shows you where you are in the selection list.
Depending on the settings area and the length of the selection list, the display ring may be either a continuous or a segmented line.
When the appliance is in operation, the display ring shows the progress and turns red at one-second intervals. After every full minute, the segments are filled again from the beginning. As the cooking time counts down, one segment disappears every second.
Cooking compartment
The functions in the cooking compartment make your appliance easier to use.
Interior lighting
When you open the appliance door, the interior lighting switches on. If the appliance door remains open for longer than approx. 5 minutes, the interior lighting switches off again.
With most types of heating and functions, the interior lighting remains on while the appliance is in operation. The interior lighting switches off again when the operation stops.
Cooling fan
The cooling fan switches on and off as required. The hot air escapes through the ventilation slots above the appliance door.
ATTENTION!
Covering the ventilation slots will cause the appliance to overheat.
- Do not cover the ventilation slots.
To cool the cooking compartment more quickly after operation, the cooling fan continues to run for a certain period afterwards. If the appliance is running in microwave operation, the appliance remains cool, but the cooling fan still switches on. The cooling fan may continue to run even when microwave operation has ended.
Condensation
Condensation can occur in the cooking compartment and on the appliance door when cooking. Condensation is normal and does not adversely affect appliance operation. Wipe away the condensation after cooking.
Accessories
Use original accessories. These have been made especially for your appliance.
| Accessories | Use |
| Glass tray |
|
Before using for the first time
Configure the settings for initial start-up. Clean the appliance and accessories.
Initial use
When the appliance is connected to the power supply for the first time or following a lengthy power failure, the settings for the initial start-up of your appliance appear.
Notes
- You can adjust the settings at any time in the basic settings.
→ “Basic settings”, Page 13 - Open and close the appliance door for the internal inspection before the initial start-up or after any power failure.
Setting the language
- Use the control ring to set the language.
- Press

.
The display shows the next setting.
Setting the time
- Use the control ring to set the time.
- Press
.
A message appears on the display confirming that the initial start-up is complete.
Note: In the
→ “Basic settings”, Page 13, specify whether or not the display shows the time when the appliance is switched off.
Cleaning the accessories
- Clean the accessory thoroughly with soapy water and a soft dish cloth.
Basic operation
Switching on the appliance
- Press to switch the appliance on.
All of the touch fields light up red. The display shows the Bosch logo, followed by the maximum microwave output.
The appliance is ready to use.
lights up red.
Switching off the appliance
- Press to switch the appliance off.
The appliance cancels the current functions.
The display shows the time.
Note: Switch off your appliance when it is not being used. If no settings are applied for an extended period, the appliance switches itself off automatically
- Use
to start the operation.
The display shows the settings.
The display ring appears and shows the end of the cooking time.
Note: If you open the appliance door during operation, the appliance interrupts the operation and maintains the set time left. When you want to restart the operation, close the appliance door and press .
Interrupting the operation
- Press
.
The appliance interrupts the operation. - Press
to delete all settings.
Note: When you open the appliance door, the appliance interrupts the operation. After an operation is interrupted or cancelled, the cooling fan may continue to run.
Setting the operating mode
When you switch on the appliance, the display shows the set default operating mode. You can start the suggested operating mode immediately or set a different operating mode.
- Press the field for the required operating mode.
- Use the control ring to change the highlighted selection.
If required, implement additional settings. To do this, touch the relevant field and use the control ring to change the value. - Press
.
The appliance starts the operation.
Microwave
You can use the microwave to cook, heat up or defrost food very quickly.
Microwave-safe cookware and accessories
To heat food evenly and avoid damaging your appliance, it is important to use the right cookware and accessories.
Note: Read the manufacturer’s instructions before using any cookware in the microwave. If in doubt, carry out a cookware test.
Microwave-safe
| Cookware and accessories | Reason |
Cookware made from heat-resistant, microwave- safe material:
| These materials allow microwaves to pass through. Microwaves do not damage heat-resistant cookware. |
| Metal cutlery | Note: You can use metal cutlery, e.g. place a spoon in a glass, to pre- vent delayed boiling. |
ATTENTION!
Metal touching the wall of the cooking compartment will cause sparks, which may damage the appliance or the inner door pane.
- Metal (e.g. a spoon in a glass) must be kept at least 2 cm from the cooking compartment walls and the inside of the door
Not microwave-safe
| Cookware and accessories | Reason |
| Metal cookware | Metal does not allow microwaves to pass through. The food hardly heats up. |
| Cookware with gold or silver decoration | Microwaves can damage gold and silver decoration. Tip: You can only use this kind of cookware if the manufacturer guarantees that it is microwaveafe. |
Testing cookware for microwave suitability
Test cookware to see whether it is suitable for microwave use. Testing cookware is the only time the appliance should be operated in microwave mode without any food inside.
WARNING ‒ Risk of scalding!
The accessible parts of the appliance become hot during operation.
- Never touch these hot parts.
- Keep children at a safe distance.
- Place the empty cookware in the cooking compartment.
- Set the appliance to the maximum microwave power setting for 30 seconds to 1 minute.
- Start the operation.
- Check the cookware several times:
– If the cookware is cold or warm to the touch, it is suitable for microwave use.
– If the cookware becomes hot or sparks are created, stop the cookware test. The cookware is not microwave-safe.
Microwave power settings
Here you can find an overview of the different microwave power settings and when to use them.
| Microwave output in watts | Maximum cooking time | Use |
| 90 W | 1:30 hours | Defrosting delicate foods. |
| 180 W | 1:30 hours | Defrosting food and continued cooking. |
| 360 W | 1:30 hours | Cooking meat and fish or heating delicate foods. |
| 600 W | 1:30 hours | Heating and cooking food. |
| 900 W | 30 minutes | Heating liquids. The maximum power setting is not designed for heating food. |
Default settings
The appliance suggests a cooking time for each microwave power setting. You can accept this value or change it in the relevant area.
When you switch the appliance on, the display always shows the highest microwave output as a suggestion.
- Note the safety instructions. → Page 4
- Observe the instructions on how to prevent material damage. → Page 6
- Observe the information on microwave-safe cookware and accessories. → Page 9
- Press
.
The appliance is ready to use. The display shows the maximum microwave output as a default value.
The microwave output can be changed at any time. - Press the field for the required microwave output.
The display shows the microwave output and a default cooking time.
lights up red. - Use the control ring to set the required cooking time.
- Press
.
The appliance starts the operation.
The cooking time counts down on the display.
Once the cooking time has elapsed, a signal tone sounds. - Press
to end the signal tone early. - Use
to switch the appliance off.
Notes
• If you press
, the display shows the timer function for a short time. In order to increase the cooking time, press
again.
• If you open the appliance door in the meantime, the cooling fan may continue to run.
Changing the cooking time
You can change the cooking time at any time.
- Use the control ring to change the cooking time.
The operation continues.
Changing the microwave output setting
You can change the microwave output setting during operation.
- Press on the field for the required microwave output.
The cooking time remains unchanged.
The operation continues.
Note: If the set cooking time exceeds the maximum cooking time for the 900 W microwave output setting, the appliance automatically reduces the cooking time. The operation stops. Press
to start the operation
Programmes
The programmes help you to use your appliance to prepare different dishes by selecting the optimum settings automatically.
Tips on configuring the settings for dishes
Follow these tips to achieve optimal cooking results.
- Only use food that is in perfect condition.
- Take the food out of its packaging and weigh it. If you cannot set the exact weight on the appliance, round the weight up or down.
- Only use microwave-safe, heat-resistant cookware, e.g. made of glass or ceramic.
- Place the food in the cold cooking compartment.
Defrost
- Freeze and store food flat and in portion-sized quantities at -18 °C.
- Place the frozen food on flat cookware, such as a glass or porcelain plate.
- Food may not be completely defrosted by the end of the programme. The food can nonetheless be further processed.
- Liquid is produced when defrosting meat or poultry. When turning, drain off any liquid. Do not use this for other purposes or allow it to come into contact with other foods.
- After turning, remove any minced meat that has already defrosted.
- Whole poultry should be placed on the cookware breast-side down and poultry portions skin-side down.
Vegetables
- Fresh vegetables: Cut into pieces of an equal size.
Add one tablespoon of water per 100 g. - Frozen vegetables: Only suitable for blanched, not pre-cooked vegetables. It is not suitable for frozen vegetables in cream sauce. Add 1 to 3 tablespoons of water. Do not add any water for spinach or red cabbage.
Potatoes
- Boiled potatoes: Cut into pieces of an equal size. Add two tablespoons of water and some salt per 100 g.
- Unpeeled boiled potatoes: Use potatoes of the same thickness. Wash them and prick the skin.
Place the wet potatoes in a dish. Do not add water. - Baked potatoes: Use potatoes of the same thickness. Wash, dry and prick the skin.
Rice
- Do not use brown rice or boil-in-the-bag rice.
- Add two to two-and-a-half times the amount of water to the rice.
Resting time
Some dishes require a resting time in the cooking compartment after the programme has ended.
| Dish | Resting time |
| Vegetables | Approx. 5 minutes |
| Potatoes | Approx. 5 minutes Drain the water first |
| Rice | Approx. 5-10 minutes |
Setting a programme
- Press .
The appliance is ready to use. - Press .
The display shows the first programme. - Use the control ring to set the required programme.
- Press .
The display shows a default value for the weight. - Use the control ring to set the required weight.
- Press .
The appliance starts the operation.
The cooking time counts down on the display. - If the display provides instructions for turning or stirring during the programme:
‒ Open the appliance door.
‒ Break up, stir or turn the food.
‒ Close the appliance door.
‒ Press
.
Note: If you do not turn or stir the food, the programme continues as usual to the end.
The programmes calculate the cooking time.
Programme table
You can prepare food very easily using the various programmes. You select a programme and enter the weight of your food. The programme then applies the most suitable settings.
Defrost
| Dish | Suitable food | Weight range in kg | Cookware/accessories |
| Defrost bread1 | Bread, whole, round or long; sliced bread; sponge cake, yeast cake, fruit flan, cakes without icing, cream or gelatine | 0.10-0.55 | Shallow cookware without lid Cooking compartment floor |
| Defrost meat1 | Joints, flat pieces of meat, minced meat, chicken | 0.10-0.55 | Shallow cookware without lid Cooking compartment floor |
| Defrost fish1 | Whole fish, fish fillet, fish steak | 0.10-0.55 | Shallow cookware without lid Cooking compartment floor |
| 1 Observe the signals given when it is time to turn the food. | |||
Cooking
| Dish | Suitable food | Weight range in kg | Cookware/accessories |
| Fresh vegetables1 | Cauliflower, broccoli, carrots, kohlrabi, leeks, peppers, courgettes | 0.10-0.55 | Cookware with lid Cooking compartment floor |
| Frozen vegetables1 | Cauliflower, broccoli, carrots, kohlrabi, red cabbage, spinach | 0.10-0.55 | Cookware with lid Cooking compartment floor |
| Boiled potatoes | Potatoes with or without skin, potatoes cut into pieces of an equal size | 0.10-0.55 | Cookware with lid Cooking compartment floor |
| Rice1 | Long-grain rice | 0.10-0.55 | Deep cookware with lid Cooking compartment floor |
| Baked potatoes1 | Potatoes with skin, approx. 6 cm thick | 0.10-0.55 | Wire rack Cooking compartment floor |
1 Observe the signals given when it is time to stir the food.
Timer
You can set the time on the timer. Once this time has elapsed, a signal tone sounds. You can set a maximum time on the timer of 24 hours.
The function works independently of the operation and other time-setting options. The timer signal is different from other signals.
Set the timer
- Press
.
The display shows the timer. - Use the control ring to set the timer duration.
- Press
.
The timer also starts automatically after a few seconds.
The timer counts down.
After a short time, the display switches back.
In addition, a timer symbol is shown on the display.
Once the timer duration has elapsed, a signal tone sounds. - Press to end the signal tone early.
Changing the timer
- Press .
The display shows the timer. - Use the control ring to change the timer duration.
Note: If an operating mode with a set duration is running, this duration is highlighted. You can use to select the timer. The timer duration is highlighted for a short time. You can change the timer duration.
Cancelling the timer
- Reset the timer duration.
Once this is implemented, the symbol no longer lights up.
Basic settings
You can configure the basic settings for your appliance to meet your needs.
Changing basic settings
Requirement: The appliance is switched off.
- Press and hold
for approx. 3 seconds.
The display shows information about the process. - Use
to confirm this information.
The first setting “Language” appears on the display. - Turn the control ring to change the setting as required.
- Press
.
The next setting appears on the display and you can use the control ring to change it. - Use
to work through all of the information and, if required, use the control ring to make changes. - To save changes, press and hold for approx. 3 seconds.
The display shows a notification confirming that the settings have been saved.
Note: Your changes to the basic settings will be retained even after a power failure.
Discarding changes to the basic settings
- Press
.
All changes are discarded and not saved.
Overview of the basic settings
This is where you can find an overview of the basic settings and factory settings. The basic settings depend on the features of your appliance.
Notes
- Changes to the language, button tone and display brightness settings take effect immediately. All other settings do not take effect until you save them.
- Your changes to the basic settings will be retained even after a power failure. Only the settings pertaining to the initial start-up of the appliance need to be implemented once again following a power failure. → “Initial use”, Page 8
| Basic settings | Selection |
| Language | Set “Language” |
| Time | Set “Time “ |
| Audible signal | Short cooking time Medium cooking time1 Long cooking time |
| Button tone | Switched off1 Switched on |
| Display bright- ness | The display brightness can be adjusted in 5 settings Setting 31 |
| Clock display | Switched on1 Switched off |
| Night-time dimming | Switched off1 Switched on (display dimmed between 10 p.m. and 6 a.m.) |
| Demo mode | Switched off 1 Switched on (this is only displayed in the first 3 minutes following a reset or the initial start-up) |
| Factory set- tings | Reset Do not reset 1 |
| 1 Factory setting (may vary according to model) | |
Note: Changes to the language, button tone and display brightness settings take effect immediately. All other settings do not take effect until you save them.
Changing the time
Requirement: The appliance is switched off.
- Press and hold
for approx. 3 seconds.
The display shows information about the process. - Use
to confirm this information.
The first setting “Language” appears on the display. - Press
.
The setting for the clock time appears. - Use the control ring to change the time.
- To save changes, press and hold
for approx. 3 seconds.
The display shows a notification confirming that the settings have been saved.
Cleaning and servicing
To keep your appliance working efficiently for a long time, it is important to clean and maintain it carefully.
Cleaning products
Only use suitable cleaning agents.
WARNING ‒ Risk of electric shock!
An ingress of moisture can cause an electric shock.
- Do not use steam- or high-pressure cleaners to clean the appliance.
ATTENTION!
Unsuitable cleaning agents damage the surfaces of the appliance.
- Do not use harsh or abrasive cleaning products.
- Do not use cleaning products with a high alcohol content.
- Do not use hard scouring pads or cleaning sponges.
- Do not use any special cleaners for cleaning the appliance while it is hot.
- Only use glass cleaners, glass scrapers or stainless steel care products if recommended in the cleaning instructions for the relevant part
New sponge cloths contain residues from production.
- Wash new sponge cloths thoroughly before use.
You can find out which cleaning products are suitable for each surface or part of the appliance in the individual cleaning instructions.
Cleaning the appliance
Clean the appliance as specified. This will ensure that the different parts and surfaces of the appliance are not damaged by incorrect cleaning or unsuitable cleaning products.
WARNING ‒ Risk of fire!
Loose food remnants, fat and meat juices may catch fire.
- Before using the appliance, remove the worst of the food residues and remnants from the cooking compartment, heating elements and accessories.
WARNING ‒ Risk of injury!
Scratched glass in the appliance door may develop into a crack.
- Do not use any harsh or abrasive cleaners or sharp metal scrapers to clean the glass on the appliance door, as they may scratch the surface.
- Read the information on cleaning products. → Page 13
- Observe the information on cleaning the appliance components or surfaces.
- Unless otherwise specified:
‒ Clean the components of the appliance with hot soapy water and a dish cloth.
‒ Dry with a soft cloth.
Cleaning the cooking compartment
ATTENTION!
Incorrect cleaning may damage the cooking compartment.
- Do not use oven spray, abrasive materials or other aggressive oven cleaners.
- Read the information on cleaning products. → Page 13
- Clean with hot soapy water or a vinegar solution.
- Use oven cleaner to remove very heavy soiling.
Only use oven cleaner when the cooking compartment is cold.
Tip: To eliminate unpleasant odours, heat up a cup of water with a few drops of lemon juice for 1 to 2 minutes at maximum microwave power setting. Always place a spoon in the container to prevent delayed boiling. - Wipe out the cooking compartment with a soft cloth.
- Leave the cooking compartment to dry with the door open.
Cleaning the front of the appliance
ATTENTION!
Incorrect cleaning may damage the front of the appliance.
- Do not use glass cleaner, metal scrapers or glass scrapers for cleaning.
- To prevent corrosion on stainless steel fronts, remove any limescale, grease, starch and albumin (e.g. egg white) stains immediately.
- On stainless steel surfaces, use special stainless steel cleaning products suitable for hot surfaces.
- Read the information on cleaning products. → Page 13
- Clean the front of the appliance using hot soapy water and a dish cloth.
Note: Slight differences in colour on the front of the appliance are caused by the use of different materials, such as glass, plastic and metal. - For stainless steel appliance fronts, apply a thin layer of the stainless steel cleaning product with a soft cloth.
You can obtain the stainless steel cleaning products from the after-sales service or the online shop. - Dry with a soft cloth.
Cleaning the control panel
ATTENTION!
Incorrect cleaning may damage the control panel.
- Never wipe the control panel with a wet cloth.
- Read the information on cleaning products. → Page 13
- Clean the control panel using a microfibre cloth or a soft, damp cloth.
- Dry with a soft cloth.
Cleaning the accessories
- Read the information on cleaning products. → Page 13
- Soften baked-on food remnants with a damp dish cloth and hot soapy water.
- Clean the accessory with hot soapy water and a soft dish cloth or a scrubbing brush.
- Dry with a soft cloth.
Cleaning the door panels
ATTENTION!
Incorrect cleaning may damage the door panes.
- Do not use a glass scraper.
- Read the information on cleaning products. → Page 13
- Clean the door panels with a soft dish cloth and glass cleaner.
Note: Shadows on the door panels, which look like streaks, are caused by reflections made by the interior lighting. - Dry with a soft cloth.
Cleaning the door seal
ATTENTION!
Incorrect cleaning may damage the door seal.
- Do not use metal scrapers or glass scrapers for cleaning.
- Do not use abrasive cleaning agents.
- Read the information on cleaning products. → Page 13
- Clean the door seal with hot soapy water and a soft dish cloth.
- Dry with a soft cloth
Cleaning aid
The cleaning aid is a quick alternative for occasionally cleaning the cooking compartment. The cleaning aid softens dirt by vaporising the soapy water. The dirt can then be removed more easily.
Setting the cleaning aid
- Add a few drops of washing-up liquid to a cup of water.
- Place a spoon in the cup to prevent delayed boiling.
- Place the cup in the centre of the cooking compartment.
- Set the microwave output to 600 W.
- Set the cooking time to 5 minutes.
- Start the microwave.
- Once the cooking time has elapsed, leave the doors closed for an additional three minutes.
- Wipe out the cooking compartment with a soft cloth.
- Leave the cooking compartment to dry with the door open.
Troubleshooting
You can rectify minor faults on your appliance yourself.
Read the troubleshooting information before contacting after-sales service. This will avoid unnecessary costs.
WARNING ‒ Risk of injury!
Improper repairs are dangerous.
- Repairs to the appliance should only be carried out by trained specialist staff.
- If the appliance is defective, call Customer Service.
WARNING ‒ Risk of electric shock!
Incorrect repairs are dangerous.
- Repairs to the appliance should only be carried out by trained specialist staff.
- Only use genuine spare parts when repairing the appliance.
- If the power cord of this appliance is damaged, it must be replaced by the manufacturer, the manufacturer’s Customer Service or a similarly qualified person in order to prevent any risk.
Malfunctions
| Fault | Cause and troubleshooting |
| The appliance is not working. | The mains plug of the power cord is not plugged in.
|
The circuit breaker in the fuse box has tripped.
| |
There has been a power cut.
| |
Malfunction
| |
| Appliance does not start. | Appliance door not fully closed.
|
| The appliance will not heat up; the symbol is lit on the display | Demo mode is activated.
|
| The control ring has fallen out of its support. | The control ring has come out.
|
| The control ring is difficult to turn. | There is dirt under the control ring. The control ring can be removed. Note: Do not remove the control ring too often, or the support may become unstable.
|
| The interior lighting is not working. | Interior lighting is defective
|
Information on display panel
| Fault | Cause and troubleshooting |
| The display shows the error message “Exxx” | An error has occurred.
|
Disposal
Find out here how to dispose of old appliances correctly.
Disposing of old appliance
Valuable raw materials can be reused by recycling.
- Unplug the appliance from the mains.
- Cut through the power cord.
- Dispose of the appliance in an environmentally friendly manner.
Information about current disposal methods are available from your specialist dealer or local authority.
This appliance is labelled in accordance with European Directive 2012/19/EU concerning used electrical and electronic appliances (waste electrical and electronic equipment – WEEE).
The guideline determines the framework for the return and recycling of used appliances as applicable throughout the EU.
Customer Service
If you have any queries on use, are unable to rectify faults on the appliance yourself or if your appliance needs to be repaired, contact Customer Service.
Detailed information on the warranty period and terms of warranty in your country is available from our aftersales service, your retailer or on our website.
If you contact Customer Service, you will require the product number (E-Nr.) and the production number (FD) of your appliance.
The contact details for Customer Service can be found in the enclosed Customer Service directory or on our website.
This product contains light sources from energy efficiency class E. These light sources are available as a spare part and should only be replaced by trained specialist staff.
Product number (E-Nr.) and production number (FD)
You can find the product number (E-Nr.) and the production number (FD) on the appliance’s rating plate. You will see the rating plate with these numbers if you open the appliance door.
Make a note of your appliance’s details and the Customer Service telephone number to find them again quickly.
How it works
Here, you can find the ideal settings for various dishes as well as the best accessories and cookware. We have tailored these recommendations to your appliance.
What is the best way to proceed?
In this section, you will find out the best way to proceed step-by-step in order to be able to make optimum use of the recommended settings. You will get information on many meals, with details and tips on how to best use and set your appliance.
Tip
Cooking tips
- The recommended settings always apply to the cooking compartment when it is cold and empty.
- The times specified in the overviews are intended as a guide only. They will depend on the quality and composition of the food.
- Before using the appliance, remove all unnecessary cookware from the cooking compartment.
- Select the desired food from the recommended settings.
- . Place the food in suitable cookware.
- Place the cookware in the middle on the cooking compartment floor.
The food will then absorb the microwaves from all sides. - Use the recommended settings when configuring the appliance settings.
Set the shorter cooking time first. If necessary, increase the cooking time. - Use an oven cloth or oven gloves when taking hot cookware out of the cooking compartment.
Defrosting, heating and cooking with the microwave
Recommended settings for defrosting, heating and cooking with the microwave.
The cooking time depends on the cookware, as well as on the temperature, composition and quantity of the food. This is why ranges are given in the tables. Begin with the lower value and, if necessary, use a higher setting the next time. It may be that you have different quantities from those specified in the tables. There is a rule of thumb for this: Double the amount = almost double the time, half the amount = half the time.
Defrosting with the microwave
Note:
Cooking tips
- Freeze the food flat.
- Use microwave-safe cookware without a lid.
- Place the cookware on the bottom of the cooking compartment.
- Turn or stir the food 2–3 times during this time. When turning, remove any liquid that escapes during defrosting.
- Liquid is produced when defrosting meat or poultry. When turning, drain off any liquid. Do not use this for other purposes or allow it to come into contact with other foods.
- After turning, remove any minced meat that has already defrosted.
- Separate any defrosted parts when turning.
- After defrosting, leave the food to rest for 10–60ºminutes
| Food | Weight | Microwave output | Cooking time |
| Whole pieces of meat, on the bone or boned | 800 g | 1. 180 W 2. 90 W | 1. 15 mins1 2. 15-25 mins |
| Whole pieces of meat, on the bone or boned | 1000 g | 1. 180 W 2. 90 W | 1. 20 mins1 2. 20-30 mins1 |
| Whole pieces of meat, on the bone or boned | 1500 g | 1. 180 W 2. 90 W | 1. 25 mins1 2. 25-30 mins1 |
| Meat in pieces or slices | 200 g | 1. 180 W 2. 90 W | 1. 5-8 mins2 2. 5-10 mins |
| Meat in pieces or slices | 500 g | 1. 180 W 2. 90 W | 1. 8-11 mins2 2. 10-15 mins |
| Meat in pieces or slices | 800 g | 1. 180 W 2. 90 W | 1. 10 mins2 2. 10-15 mins |
| Minced meat, mixed | 200 g | 90 W | 10-15 mins1 |
| Minced meat, mixed | 500 g | 1. 180 W 2. 90 W | 1. 5 mins1 2. 10-15 mins |
| Minced meat, mixed | 1000 g | 1. 180 W 2. 90 W | 1. 15 mins1 2. 10-15 mins |
| Poultry or poultry portions | 600 g | 1. 180 W 2. 90 W | 1. 8 mins1 2. 10-15 mins |
| Poultry or poultry portions | 1200 g | 1. 180 W 2. 90 W | 1. 15 mins1 2. 20-25 mins |
| Fish fillet, fish steak or fish slices | 400 g | 1. 180 W 2. 90 W | 1. 5 mins 2. 10-15 mins |
| Whole fish | 300 g | 1. 180 W 2. 90 W | 1. 3 mins1 2. 10-15 mins |
| Whole fish | 600 g | 1. 180 W 2. 90 W | 1. 8 mins1 2. 15-20 mins |
| Vegetables, e.g. peas | 300 g | 180 W | 10-15 mins3 |
| Fruit, e.g. raspberries | 300 g | 180 W | 6-9 mins3 |
| Fruit, e.g. raspberries | 500 g | 1. 180 W 2. 90 W | 1. 8 mins 2. 5-10 mins3 |
| Butter, defrosting4 | 125 g | 1. 180 W 2. 90 W | 1. 1 mins4 2. 1-2 mins |
| Butter, defrosting4 | 250 g | 1. 180 W 2. 90 W | 1. 1 mins 2. 2-4 mins |
| Loaf of bread | 500 g | 1. 180 W 2. 90 W | 1. 8 mins1 2. 5-10 mins |
| Loaf of bread | 1000 g | 1. 180 W 2. 90 W | 1. 12 mins1 2. 10-20 mins |
| Cakes, plain, e.g. sponge cake5, 6 | 500 g | 90 W | 10-15 mins |
| Cakes, plain, e.g. sponge cake5, 6 | 750 g | 1. 180 W 2. 90 W | 1. 5 mins 2. 10-15 mins |
| Cakes, moist, e.g. fruit flan, cheesecake5 | 500 g | 1. 180 W 2. 90 W | 1. 5 mins 2. 15-20 mins |
| Cakes, moist, e.g. fruit flan, cheesecake5 | 750 g | 1. 180 W 2. 90 W | 1. 7 mins 2. 15-20 mins |
- Turn the food several times.
- Separate any defrosted parts when turning.
- Carefully stir the food occasionally.
- Remove all packaging.
- Only defrost cakes without icing, whipped cream, gelatine or custard.
- Separate the pieces of cake.
Tips on defrosting, heating and cooking with the microwave next time
Follow these tips for good results when defrosting, heating and cooking with the microwave.
| Issue | Tip |
| Your food is too dry. |
|
| The time has elapsed but the food is not defrosted, hot or cooked. | Increase the cooking time. Large quantities and food which is piled high require longer times. |
| The time has elapsed but your food is not yet done on the inside, but is already overdone on the outside. |
|
| After defrosting, the poultry or meat is defrosted on the outside but not defrosted in the middle. |
|
Heating
Heating food in the microwave
Observe the recommended settings for using the microwave to heat food.
WARNING ‒ Risk of scalding!
There is a possibility of delayed boiling when a liquid is heated. This means that the liquid reaches the boiling temperature without the usual steam bubbles rising to the surface. Exercise caution even when only gently shaking the container. The hot liquid may suddenly boil over and splatter.
- Always place a spoon in the container when heating liquids. This prevents delayed boiling.

ATTENTION!
Metal touching the wall of the cooking compartment will cause sparks, which may damage the appliance or the inner door pane.
- Metal (e.g. a spoon in a glass) must be kept at least 2 cm from the cooking compartment walls and the inside of the door.
Note:
Cooking tips
- Use microwave-safe cookware with a lid. You can also use a plate or microwave film to cover the dish.
Take ready meals out of the packaging. - Place the cookware on the bottom of the cooking compartment.
- Turn or stir the food two or three times during the defrosting time.
- After defrosting, leave the food to rest for 2– 5ºminutes.
- The food transfers heat to the cookware. The cookware can become very hot. Use oven gloves.
| Food | Weight | Microwave output | Cooking time |
| Menu, plated meal, ready meal (2-3 components) | 600 W | 5-8 mins | |
| Beverages1 | 125 ml | 900 W | 0.5-1 min2, 3 |
| Beverages1 | 200 ml | 900 W | 1-2 mins2, 3 |
| Beverages1 | 500 ml | 900 W | 3-4 mins2, 3 |
| Baby food, e.g. baby bottles4 | 50 ml | 360 W | Approx. 0.5 min5, 6 |
| Baby food, e.g. baby bottles4 | 100 ml | 360 W | 0.5-1 min4, 6 |
| |||
| Food | Weight | Microwave output | Cooking time |
| Baby food, e.g. baby bottles4 | 200 ml | 360 W | 1-2 mins4, 6 |
| Soup, 1 cup | 175 g each | 600 W | 1-2 mins |
| Soup, 2 cups | 175 g each | 600 W | 2-3 mins |
| Meat in sauce7 | 500 g | 600 W | 7-10 mins |
| Stew | 400 g | 600 W | 5-7 mins |
| Stew | 800 g | 600 W | 7-8 mins |
| Vegetables, 1 portion | 150 g | 600 W | 2-3 mins |
| Vegetables, 2 portions | 300 g | 600 W | 3-5 mins |
| |||
Heating frozen food in the microwave
Observe the recommended settings for using the microwave to heat food.
Note:
Cooking tips
- Use microwave-safe cookware with a lid. You can also use a plate or microwave film to cover the dish. Take ready meals out of the packaging.
- Distribute the food flat in the cookware. Food which lies flat cooks more quickly than food which is piled high.
- Place the cookware on the bottom of the cooking compartment.
- The food transfers heat to the cookware. The cookware can become very hot. Use oven gloves.
- Turn or stir the food two or three times during the defrosting time.
- After defrosting, leave the food to rest for 2–5ºminutes.
- The food transfers heat to the cookware. The cookware can become very hot. Use oven gloves.
- The food will retain most of its natural flavor. Use salt and seasonings sparingly
| Food | Weight | Microwave output | Cooking time |
| Menu, plated meal, ready meal (2-3 components) | 300-400 g | 600 W | 8-13 mins |
| Soup | 400 g | 600 W | 8-12 mins |
| Stew | 500 g | 600 W | 10-15 mins |
| Slices or pieces of meat in sauce, e.g. goulash | 500 g | 600 W | 10-15 mins |
| Fish, e.g. fillet steaks | 400 g | 600 W | 10-15 mins |
| Bakes, e.g. lasagne, cannelloni | 450 g | 600 W | 10-15 mins |
| Side dishes, e.g. rice, pasta1 | 250 g | 600 W | 3-7 mins |
| Side dishes, e.g. rice, pasta1 | 500 g | 600 W | 8-12 mins |
| Vegetables, e.g. peas, broccoli, carrots1 | 300 g | 600 W | 7-11 mins |
| Vegetables, e.g. peas, broccoli, carrots1 | 600 g | 600 W | 14-17 mins |
| Creamed spinach2 | 450 g | 600 W | 10-15 mins |
| |||
Cooking
With your appliance you can cook food.
Cooking with the microwave
Note:
Cooking tips
- Place the cookware on the bottom of the cooking compartment.
- Distribute the food flat in the cookware. Food which lies flat cooks more quickly than food which is piled high.
- Use microwave-safe cookware with a lid. You can also use a plate or microwave film to cover the dish. Take ready meals out of the packaging.
- The food will retain most of its natural flavor. Use salt and seasonings sparingly.
- After defrosting, leave the food to rest for 2–5ºminutes.
- The food transfers heat to the cookware. The cookware can become very hot. Use oven gloves.
- Even if the packaging specifies a higher output setting than 600 watts to cook the food, still use a maximum of 600 watts. If necessary, extend the specified cooking time until you achieve the desired result.
| Food | Weight | Microwave output | Cooking time |
| Whole chicken, fresh, without giblets1 | 1200 g | 600 W | 25-30 mins |
| Fish fillet, fresh | 400 g | 600 W | 7-12 mins |
| Fresh vegetables2, 3 | 250 g | 600 W | 6-10 mins |
| Fresh vegetables2, 3 | 500 g | 600 W | 10-15 mins |
| Potatoes2, 3 | 250 g | 600 W | 8-10 mins |
| Potatoes2, 3 | 500 g | 600 W | 10-15 mins |
| Potatoes2, 3 | 750 g | 600 W | 15-22 mins |
| Rice4 | 125 g |
|
|
| Rice4 | 250 g |
| 1. 6-8 mins 2. 15-18 mins |
| Sweet foods, e.g. blancmange (instant)3 | 500 ml | 600 W | 6-8 mins |
| Fruit, compote3 | 500 ml | 600 W | 9-12 mins |
| Microwave popcorn5 | 1 bag, 100 g | 600 W | 2.5-3.5 mins |
| |||
Test dishes
These overviews have been produced for test institutes to facilitate appliance testing in accordance with EN 60350-1:2013 or IEC 60350-1:2011 and EN 60705:2012, IEC 60705:2010.
Cooking with the microwave
| Food | Microwave power setting in W | Cooking time in mins | Note: |
| Custard, 1000 g |
|
| Pyrex dish |
| Sponge, 475 g | 600 W | 7-9 mins | Pyrex dish, 22 cm diameter |
| Meat loaf, 900 g | 600 W | 25-30 mins | Pyrex dish, 28 cm diameter, long |
Defrosting with the microwave
Recommended settings for using the microwave to defrost food
| Food | Microwave power setting in W | Cooking time in mins | Note: |
| Meat, 500 g |
|
| Pyrex dish, 24 cm diameter |
Installation instructions
Observe this information when installing the appliance.

Safe installation
Follow these safety instructions when installing the appliance.
The appliance can only be used safely if it is correctly installed according to the safety instructions. The installer is responsible for ensuring that the appliance works perfectly at its installation location.
- Check the appliance for damage after unpacking it. Do not connect the appliance if it has been damaged in transit.
- Before starting up the appliance, remove any packaging material and adhesive film from the cooking compartment and the door.
- Proceed in accordance with the installation sheets for installing accessories.
- Fitted units must be temperature-resistant up to 90 °C, and adjacent unit fronts up to 65 °C.
- Do not install the appliance behind a decorative door or the door of a kitchen unit.
There is a risk of overheating. - Cut-out work on the units should be carried out before installing the appliance. Remove any shavings. Otherwise, the correct operation of electrical components may be adversely affected.
- Only a licensed professional may connect appliances without plugs. Damage caused by incorrect connection is not covered under the warranty.
WARNING ‒ Risk of injury!
Parts that are accessible during installation may have sharp edges and may lead to cutting injuries.
- Wear protective gloves
WARNING ‒ Risk of fire!
It is dangerous to use an extended power cord and non-approved adapters.
- Do not use extension cables or multiple socket strips.
Appliance dimensions
You will find the dimensions of the appliance here
Fitted units
This appliance is only intended to be fully fitted in a kitchen. It is not intended to be used as a tabletop appliance or within a cupboard.
The fitted cabinet must not have a back panel behind the appliance. Maintain a clearance of at least 35 mm between the wall and the cabinet base or the rear panel of the cabinet situated above.
The fitted cabinet must have a ventilation opening of 50 cm² on the front. To do this, trim the base panel or fit a ventilation grille.
Surround units without a ventilation cut-out must have a ventilation opening measuring 200 cm² towards the rear of the side panels.
Ventilation slots and intake openings must not be covered.
The mains socket for the appliance must either be located in the hatched area or outside of the area
where the appliance is installed.
Any unsecured units must be secured to the wall using a standard bracket
.
Electrical connection
In order to safely connect the appliance to the electrical system, follow these instructions.
WARNING ‒ Danger: Magnetism!
The appliance contains permanent magnets. These may affect electronic implants, e.g. heart pacemakers or insulin pumps.
▶ Persons with electronic implants must stay at least 10 cm away from the appliance.
- The appliance corresponds to protection class I and must only be operated with a protective earth connection.
- The fuse protection must correspond to the power rating specified on the appliance’s rating plate and to local regulations.
- The appliance must be disconnected from the power supply whenever installation work is being carried out.
- If the plug is no longer accessible following installation, an all-pole isolating switch with a contact distance of at least 3 mm must be present.
- The appliance must only be connected to a protective contact socket that has been correctly installed.
- Contact protection must be guaranteed by the installation.
Installation below a worktop
Observe the installation dimensions and the safety clearances when installing below a worktop.
To ventilate the appliance, the intermediate floor must have a ventilation cut-out.
The worktop must be secured to the fitted unit.
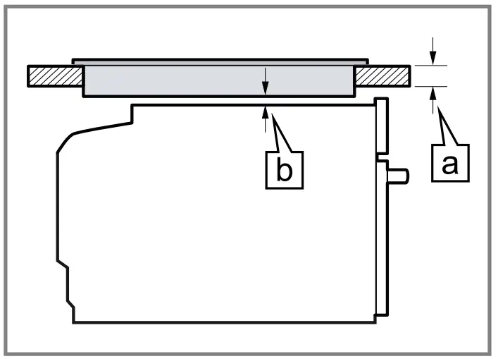
Installing below a hob
If the appliance is installed below a hob, the following minimum dimensions must be adhered to (including substructure, if applicable).
The minimum worktop thickness
is based on the required minimum clearance
.
| Hob type | in mm | ||
| Induction hob | 48 | 49 | 5 |
| Full-surface in- duction hob | 58 | 59 | 5 |
| Gas hob | 38 | 49 | 5 |
| Electric hob | 38 | 41 | 2 |
Observe the installation instructions for the hob.
Installation in a tall unit
Observe the installation dimensions and the safety clearances in a tall unit.
To ventilate the appliance, the intermediate floor must have a ventilation cut-out.
If the tall unit has another back panel in addition to the element back panels, this must be removed.
Do not fit the appliance too high up; it must be possible for accessories to be removed easily
Combination with a warming drawer
First fit the warming drawer. Follow the installation instructions for the warming drawer.
Slide the appliance, on the warming drawer, into the fitted cabinet. When sliding in the appliance, do not damage the warming drawer’s panel.
Corner installation
Observe the installation dimensions and the safety clearances when installing in a corner.
To ensure that the appliance door can be opened, you must take the minimum dimensions into consideration when installing in a corner. The dimension is dependent on the thickness of the unit front and the handle.
Installing the appliance
ATTENTION!
Using a cordless screwdriver may damage the panels.
- Do not use a cordless screwdriver to secure the panels.
- Push the appliance in fully.
Do not kink or trap the connection cable, or route it over sharp edges. - Centre the appliance.
- Screw the appliance tightly onto the unit.
- Remove any packaging material and adhesive film from the cooking compartment and the door.
Note: The gap between the worktop and the appliance must not be closed by additional battens.
Thermal insulation strips must not be fitted to the side panels of the surround unit.
Removing the appliance
- Disconnect the appliance from the power supply.
- Undo the fastening screws.
- Lift the appliance slightly and pull it out completely
Thank you for buying a Bosch Home Appliance!
Register your new device on MyBosch now and get free benefits: bosch-home.com/welcome
Register your new device on MyBosch now and profit directly from:
- Expert tips & tricks for your appliance
- Warranty extension options
- Discounts for accessories & spare-parts
- Digital manual and all appliance data at hand
- Easy access to Bosch Home Appliances Service
Free and easy registration – also on mobile phones:
www.bosch-home.com/welcome

Looking for help?
You’ll find it here.
Expert advice for your Bosch home appliances, help with problems or a repair from Bosch experts.
Find out everything about the many ways Bosch can support you:
www.bosch-home.com/service
Contact data of all countries are listed in the attached service directory.
BSH Hausgeräte GmbH
Carl-Wery-Straße 34
81739 München, GERMANY
www.bosch-home.com
A Bosch Company
Valid within Great Britain:
Imported to Great Britain by
BSH Home Appliances Ltd.
Grand Union House
Old Wolverton Road
Wolverton, Milton Keynes
MK12 5PT
United Kingdom























