GERMAN HTW-115U Portable UVC Bathroom Heater

Warnings & Safety Precautions
WARNING: Read all instructions carefully before using this product.
- This product is for domestic indoor use only. If this product is used for any commercial, industrial, rental or other purposes, product warranty will be VOIDED.
- This product is not intended for use by children or persons with reduced physical, sensory
or mental capabilities, or lack of experience and knowledge, unless they have been given supervision or instruction concerning use of this product by an adult responsible for their safety. - Mind your children and DO NOT let children play with this product.
- Cleaning and user maintenance shall not be made by children without supervision.
- Check the voltage indicated on the rating label before using this product.
- If the supply cord is damaged, it must be replaced by the manufacturer, its service agent or similarly qualified persons in order to avoid hazards.
- Unplug this product from the power source before cleaning and maintenance.
- Contact German Pool authorized service technician for repair or maintenance of this product.
Attention
• IP23 protection rating only applies to when this product is installed and fixed on the wall for vertical operation.
• This product is a heater. Do not use this product as a fan.
WARNING
- This product contains a UV emitter. DO NOT stare at the light source.
- DO NOT look directly into the UV light source from any angle as it may cause permanent damage to your eyes.
- DO NOT let UV ultraviolet ray shine on exposed skin.
- This product is not intended for use by persons (including children) with reduced physical, sensory or mental capabilities, or lack of experience and knowledge, unless they have been given supervision or instruction concerning use of the appliance by a person responsible for their safety. Children should be supervised to ensure they DO NOT play with this product.
- This product can be used by children aged from 8 years and above and persons with reduced physical, sensory or mental capabilities or lack of experience and knowledge if they have been given supervision or instruction concerning use of the appliance in a safe way and understand the hazards involved. Children shall not play with the appliance. Cleaning and user maintenance shall not be made by children without supervision.
- If the supply cord is damaged, it must be replaced by the manufacturer, its service agent or similarly qualified persons in order to avoid a hazard.
- Children of less than 3 years should be kept away unless continuously supervised.
- Children aged from 3 years and less than 8 years shall only switch on/off this product provided that it has been placed or installed in its intended normal operating position and they have been given supervision or instruction concerning use of this product in a safe way and understand the hazards involved. Children aged from 3 years and less than 8 years shall not plug in, regulate, clean or perform user maintenance on this product.
- WARNING! Some parts of this product can become very hot and cause burns. Particular attention has to be given where children and vulnerable people are present.
- WARNING! In order to avoid overheating, do not cover this product.
- DO NOT use this product in the immediate surroundings of a bath, a shower or a swimming pool.
- This product must not be located immediately below a socket outlet.
- WARNING! Do not use this product in small rooms when they are occupied by persons not capable of leaving the room on their own, unless constant supervision is provided.
- DO NOT use this product if it has been dropped.
- DO NOT use if this product shows visible signs of damage.
- Use this product on a straight and stable surface. (Note: After installation, the bottom of the product should be 1 – 1.8m off the ground, and distance to the sidewall should be more than 0.3 meter. If this product is used in the bathroom, it should be at least 1 meter away from the water source).
- WARNING! To reduce the risk of fire, keep textiles, curtains, or any other flammable material a minimum distance of 1 m from the air outlet.
- WARNING! The heater is to be installed so that switches and other controls cannot be touched by a person in the bath or shower. The towel rail is to be installed so that switches and other controls cannot be touched by a person in the bath or shower.
- WARNING! In order to avoid a hazard for very young children, this product should be installed so that the lowest heated rail is at least 1 meter above the floor.
- WARNING! This product contains a UV emitter. DO NOT stare at the light source.
- In case of malfunction, please contact German Pool Customer Service & Repair Centre. DO NOT disassemble product or change parts by yourself.
- DO NOT plug/unplug the power plug with wet hands to avoid electric shock.
- DO NOT insert wooden stick or metal object into the air inlet or outlet.
- DO NOT spray insecticides or inflammable aerosols in the vicinity of this product.
- DO NOT let air outlet blow directly on small children for an extended period of time.
- When unplugging this product, pull out by grabbing onto the plug. DO NOT pull on the cord.
- Before plugging into the power source, make sure the plug is clean and free of any foreign substance, and make sure to plug in completely and securely.
- If this product emits any odor or strange noise, stop using immediately and unplug from the power source.
- DO NOT fold or coil up the power cord, and DO NOT place any heavy object on the power cord.
- When no one is at home, or if this product will be unused for an extended period of time, user MUST turn off the heater and unplug the power cord.
- Before using this product, make sure it is plugged into an electric socket that is compatible to the specified capacity and in compliance with the current industry standards.
- ake sure that the power supply voltage used is consistent with the voltage specified on the rating label of this product.
- When moving to a new location, make sure the new supply voltage matches the voltage specified on the rating label of this product.
- DO NOT place any object on this product.
- DO NOT ingest battery, Chemical Burn Hazard.
- WARNING! This product contains a coin / button cell battery. If the coin/button cell battery is swallowed, it can cause severe internal burns in just 2 hours and can lead to death.
- Keep new and used batteries away from children.
- If the battery compartment does not close securely, stop using the product and keep it away from children.
- If you think batteries might have been swallowed or placed inside any part of the body, seek immediate medical attention.
- The batteries contain materials which are hazardous to the environment; they must be removed from this product before it is scrapped and that they are disposed of safely.
Product Structure
Front
Back
Installation Instructions
Installation Safety Requirements
WARNINGl: For IP23 Protection Rating to apply, this product must be mounted on the wall.
(Note: When installed, the bottom of the product should be 1-1.8m above the ground, and distance to the sidewall should be more than 0.3 meter. If it is used in the bathroom, it should be at least 1 meter away from the water source).
The following requirements should be observed when installing the product on the wall:
- Keep a distance of at least 500mm from the ceiling.
- Keep a distance of at least 300mm from the wall.
- Keep a distance of 1,000-1,800 mm from the floor.
WARNING
- DO NOT install this product inside ZONE 1 and 2 (see diagram on P.9).
- This product must be installed at a location where its power switch and other controls are out of reach of persons inside the bath or shower.

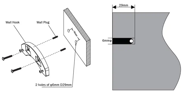
Mounting With Wall Kit
- Drill two 6mm holes (29mm in depth) on the wall. The distance between them should be 74mm.
- Insert the wall plugs into the holes.
- Screw the wall kit firmly into the wall plugs.

- Hang the product onto the wall kit: Fit the large mounting hole on the back of the product onto the wall kit, then slide the product to the right until the pegs sit into the small mounting hole (see diagram).

Accessories
Detachable Towel Rail
To attach the towel rail, pull the two ends of the towel rail slightly outwards and mount it into the holes on both sides of the product.
Detachable Hook
- Hook the wall kit onto the the back of the product.
- Fit the pegs of the detachable hook into the large mounting holes on the wall kit, and slide the hook to the right until the pegs sit into the small mounting holes.

Operation Instructions

On / Off![]()
- Connect to the power source, the buzzer will beep twice.
- Press On/Off
Button to turn on the product. By default, product will run on Warm Air Mode – Low, and
indicator light will light up constant.
Air Mode
- When the product is turned on, press Mode Button
to cycle among Warm Air Mode – High
> Cool Air Mode
> Warm Air Mode – Low
. The corresponding indicator light will light up constant. - The default running time for all air modes is 12 hours. If user wishes to turn off the product manually before 12 hours, press On/Off Button
.
Note:
- When switching from Warm Air Mode – Low
to Warm Air Mode – High
, PTC will be delayed by 10 seconds. - When user turns off the product while it is running on Warm Air Mode, the fan will continue to run for 10 seconds to dissipate residual heat.
UVC Mode
- When product is turned on (in any air mode), long-press Mode Button
for 3 seconds to activate
UVC Sterilization Mode. UVC indicator light will light up constant. - To deactivate UVC Mode, long-press
for 3 seconds again. UVC indicator light will turn off.
WARNING
- DO NOT look at the UVC ray from any angle, as it may cause permanent damage to the eye.
- DO NOT allow the UVC ray to shine on exposed skin.
Off-Timer
- When product is turned on (in any air mode), press Timer Button
to activate the Timer Function, indicator light
will light up constant, and LED display will show timer countdown. - Press Timer Button
again to select the time you want the product to turn off. Each press increases the turn-off time by 5 minutes. Timer can be set to between 5-90 minutes. - When countdown time is completed, the product will automatically turn off.
Note: Anytime during timer countdown, user can press On/Off Button
and the product will turn off immediately
Cleaning & Maintenance
WARNING: Before cleaning, turn off the product and unplug from the socket, in order to avoid the danger of electric shock.
- Clean the surface of the product with a damp cloth (can be moistened with diluted detergent if desired). DO NOT clean this product with gasoline, thinner, corrosive cleanser or solvent etc., and DO NOT rinse or immerse this product in water.
- Heavy dust and dirt adhering to the filter will affect the performance of the product. Please clean the filter at least once every other month.
Cleaning The Filter
- Remove the filter cover and mesh filter (see diagram below).
- Soak the mesh filter in cleaning agent for several minutes, then rinse and let to air dry completely.
- Reinstall the mesh onto the filter cover, and reinstall the filter cover properly back into place.
Storage
- If product will not be used for an extended period of time, please unplug from the socket and wrap product in a dust-proof bag to prevent dust from entering the product.
- Before wrapping with dust-proof bag, please make sure the product and filter are completely dry.
- Store the product in a cool, dry and ventilated place away from direct sunlight.
Technical Specification
| Model | HTW-115U |
| Voltage | 220-240 V~ |
| Frequency | 50 Hz |
| Power | 1500 W |
| Product Dimensions (without towel rail) | (H) 264 (W) 228 (D) 127 mm |
| Product Dimensions (with towel rail) | (H) 430 (W) 250 (D) 127 mm |
| Net Weight | 1.6 kg |
- Specification is subject to change without prior notice.
- If there is any inconsistency or ambiguity between the English version and the Chinese version, the Chinese version shall prevail.
- Refer to www.germanpool.com for the most updated version of the User Manual.
Warranty Terms & Conditions
Under normal operations, the product will gurantee a 1-year full warranty provided by German Pool (effective from the date of purchase).

This warranty is not valid until customer registration information is received by our Service Centre within 10 days of purchase via one of the following means:
- Visit our website and register online: www.germanpool.com/warranty
- Complete all the fields on the attached Warranty Card and mail it back to our Customer
Service Centre.
Please fill out the form below. This information and the original purchase invoice will be required for any repairs. Warranty will be invalidated if information provided is found to be inaccurate.

- Customer who fails to present original purchase invoice will not be eligible for free warranty service.
- Customer should always follow the operating instructions. This warranty does not apply to:
- labour costs for on-site installation, check-up, repair, replacement of parts and other transportation costs;
- damages caused by accidents of any kind (including material transfer and others);
- operating failures resulting from applying incorrect voltage, improper usage, and unauthorized installations or repairs.
- This warranty is invalid if:
- the purchase invoice is modified by an unauthorized party;
- the product is used for any commercial or industrial purposes;
- the product is repaired or modified by unauthorized personnel, or unauthorized parts are installed;
- the serial number is modified, damaged or removed from the product.
- German Pool will, at its discretion, repair or replace any defective part.
- This warranty will be void if there is any transfer of ownership from the original purchaser.
Please read these instructions and warranty information carefully before use and keep them handy for future reference.
Customer Service & Repair Centre
Hong Kong
Unit B, G/F, Sunshine Kowloon Bay Cargo Centre, 59 Tai Yip Street, Kowloon Kowloon, Hong Kong
Macau
A, 1 Andar, Mei Kui Kuong Cheong Fase 2, No.515 Avenida Do Conselheiro Borja, Macau Macau
Tel: +852 2333 6249
Fax: +852 2356 9798
Email: [email protected]
Macau
A, 1 Andar, Mei Kui Kuong Cheong Fase 2, No.515 Avenida Do Conselheiro Borja, Macau Macau
Tel: +853 2875 2699
Fax: +853 2875 2661
This warranty is valid only in Hong Kong and Macau
German Pool (Hong Kong) Limited
Hong Kong
Room 113. Newport Centre Phase II. 116 Ma Tau Kok Road. Tokwawan. Kowloon. Hong Kong.
Tel: +852 2773 2888
Fax:+852 2765 8215
China
8th, Xinxiang Road, Wusha Industrial Park, Daliang, Shunde, Foshan, Guangdong
Tel:+86 757 2219 6888
Fax:+86 757 2219 6809
Macau
A, 1 Andar, Mei Kui Kuong Cheong Fase 2, No.515 Avenida Do Conselheiro Borja, Macau
Tel:+853 2875 2699
Fax:+853 2875 2661






to cycle among Warm Air Mode – High
> Warm Air Mode – Low 
















