GERMAN POOL HTW-330 Portable UV C Bathroom Heater

Online Warranty Registration

Warnings & Safety Precautions
NOTE:
- IP23 protection rating only applies to when this product is installed and fixed on the wall for vertical operation.
- This product is a heater. Do not use this product as a fan.
Please read all instructions carefully before using this product.
WARNING! This appliance contains a UV emitter. DO NOT stare at the light source.
WARNING! DO NOT look directly into the UV light source as it may be damaging to your eyes.
WARNING! DO NOT let UV ultraviolet ray shine on exposed skin.
- This product is only suitable for indoor use.
- This product is not intended for use by persons (including children) with reduced physical, sensory or mental capabilities, or lack of experience and knowledge, unless they have been given supervision or instruction concerning use of the appliance by a person responsible for their safety.
- This product can be used by children aged from 8 years and above and persons with reduced physical, sensory or mental capabilities or lack of experience and knowledge if they have been given supervision or instruction concerning use of the appliance in a safe way and understand the hazards involved. Children shall not play with the appliance. Cleaning and user maintenance shall not be made by children without supervision.
- If the supply cord is damaged, it must be replaced by the manufacturer, its service agent or similarly qualified persons in order to avoid a hazard.
- Children of less than 3 years should be kept away unless continuously supervised.
- Children aged from 3 years and less than 8 years shall only switch on/off this product provided that it has been placed or installed in its intended normal operating position and they have been given supervision or instruction concerning use of this product in a safe way and understand the hazards involved. Children aged from 3 years and less than 8 years shall not plug in, regulate and clean the appliance or perform user maintenance.
- WARNING! Some parts of this product can become very hot and cause burns. Particular attention has to be given where children and vulnerable people are present.
- WARNING! In order to avoid overheating, do not cover this product.
- Do not use this product in the immediate surroundings of a bath, a shower or a swimming pool.
- This product must not be located immediately below a socket outlet.
- WARNING! This product is not equipped with a device to control the room temperature. Do not use this product in small rooms when they are occupied by persons not capable of leaving the room on their own, unless constant supervision is provided.
- Do not use this product if it has been dropped.
- Do not use if there are visible signs of damage to this product.
- Use this product on a straight and stable surface. (Note: height above the ground should be higher than 1 meter and distance to the sidewall should be more than 0.3 meter. If it is used in the bathroom, it must be vertically installed and must be at least 1 meter away from the water source)
- WARNING! To reduce the risk of fire, keep textiles, curtains, or any other flammable material a minimum distance of 1 m from the air outlet.
- In case of malfunction, please contact Customer Service & Repair Centre. All maintenance and repair must be done by professional qualified technicians only. DO NOT attempt to dissemble product by yourself.
- DO NOT plug/unplug the power plug with wet hands to avoid electric shock.
- DO NOT insert wooden stick or metal object into the air inlet or outlet.
- DO NOT spray insecticides or inflammable aerosols in the vicinity of this product.
- DO NOT let air outlet blow directly on young children for an extended period of time.
- When unplugging this product, pull out by grabbing onto the plug. DO NOT pull on the cord.
- Before plugging into the power source, make sure the plug is clean and free of any foreign substance, and make sure to plug in completely and securely.
- If this product emits any odor or strange noise, stop using immediately and unplug the power source.
- DO NOT fold or coil up the cable; and DO NOT place any heavy object on the cable.
- When no one is at home, or if this product will be unused for an extended period of time, user MUST turn off the heater and unplug the power cord.
- This product must be connected to an electric socket compatible to the specified capacity and in compliance with the current industry standards.
- Make sure that the power supply voltage used is consistent with the voltage specified on the rating label of this product.
- When moving to a new environment, make sure the new supply voltage matches voltage specified on the rating label of this product.
- DO NOT place any object on this product.
- Do not ingest battery, Chemical Burn Hazard.
- WARNING! This product contains a coin / button cell battery. If the coin /button cell battery is swallowed, it can cause severe internal burns in just 2 hours and can lead to death.
- Keep new and used batteries away from children.
- If the battery compartment does not close securely, stop using the product and keep it away from children.
- If you think batteries might have been swallowed or placed inside any part of the body, seek immediate medical attention.
- The batteries contain materials which are hazardous to the environment; they must be removed from this product before it is scrapped and that they are disposed of safely.
Product Structure
Main Body

Remote Control

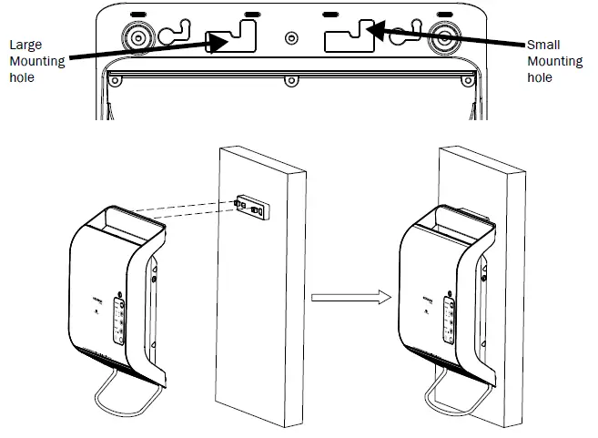
Installation Instructions
- The product can be mounted on wall. (Note: height above the ground should be higher than 1 meter and distance to the sidewall should be more than 0.3 meter. If it is used in the bathroom, it should be at least 1 meter away from the water source)

- Installing the screw plugs and screws:
- a) Drill two 6mm holes (29mm in depth) on the wall. The distance between them should be 74mm.
- b) Insert the screw plugs into the holes.
- c) Insert the screws through the wall hook, insert them into the screw plugs and secure the screws.

- Attach the product on the hook through the large mounting hole and securely mount it by moving right to the position of the small mounting hole.

Accessories
Towel rail
insert the ends of the towel rail into the slots located on two sides of the air vent, and then gently pull it while moving it left and right until it is securely fixed. If the metal rail is no longer needed, gently push it while moving it left and right to detach it.
Installation

Detachable Hook
Attach this product on the hook through the large mounting hole and securely it by moving right to the position of the small mounting hole

Operation Instructions
Attention: This product is equipped with an internal fan for heat dissipation. As long as the PTC ceramic heating element is working, the cooling fan will keep operating. The fan will continue to operate for 10 seconds after PTC stops working
- Connect to power source, turn on the switch located at the bottom of the product. A sound will be emitted and the product will enter standby mode.
- On standby mode, only
is functional. Press
to turn on the product, press it again to switch off the device. Upon powering the product, the default mode is set as:- PTC Heating Element: On low power (eco mode) with LOW indicator on and HIGH indicator off.
- COOL indicator is off.
- TIMER indicator is off, and the product is on continuous mode.
- When the product is on, press
to switch from low power to high power. Pressing
again will switch back to low power.- Low power – eco mode: LOW indicator lights up
- High power – powerful mode: HIGH indicator lights up
- When the product is on, press
and the COOL indicator lights up. The heating element is turned off while the fan keeps operating. Press it again and the COOL indicator goes out. The heating function will be run on previous working mode. - When the product is on, press
to set the timer.- Press
to cycle among “1h, 2h, 4h, 8h, OFF”. - The timer starts immediately after setting the work time. Once the timer ends, the product will be automatically switched off and enter standby mode.
- Press
- When the product is on, press
, UVC turns on. Press
again to turn off UVC.
Care & Maintenance
WARNING!
Before cleaning, be sure to turn off the power and unplug the power plug, or else it may cause electric shock.
Cleaning The Surface
- Clean the surface of this product with a damp cloth (or moistened with detergent). Do not rinse directly with water. Do not use gasoline, thinner, or corrosive detergent or solvent.
- If too much foreign matter adheres to the filter screen, it will affect the air blowing, so it should be cleaned at least every other month.
Cleaning The Filter
- Remove the filter and mesh cover in order.
- Immerse the filter in cleaning agent for a few minutes and then wash and dry it.
- Re-install the filter and mesh cover properly.
Maintenance
- If this product won’t be used for a long time, pull out the power plug, pack this product and prevent dust from entering.
- Before packing, make sure that the outer surface and the filter are dry.
- After packaging, it should be stored in a dry and ventilated place.
Changing Battery For Remote Control
- To open the battery cover at the bottom of the remote control, press the buckle on the battery cover inward and pull it out.
- Identify the polarity of the battery, and insert the battery into the battery slot.
- Reinsert the battery cover into the bottom of the remote control.

WARNING!
This product contains a coin / button cell battery. If the coin / button cell battery is swallowed, it can cause severe internal burns in just 2 hours and can lead to death. Keep new and used batteries away from children.
Technical Specifications
- Model HTW-330
- Voltage 220-240V ~
- Frequency 50 Hz
- Power 2,000W
- Noice ≤55 dB
- Dimensions (H) 388 mm (W) 250 mm (D) 123.5 mm
- Net Weight 2.1 kg
Specifications are subject to change without prior notice. If there is any inconsistency or ambiguity between the English version and the Chinese version, the Chinese version shall prevail. Refer to www.germanpool.com for the most up-to-date version of the Operating Instructions
Warranty Terms & Conditions
Under normal operations, the product will be guranteed for one year, with full warranty provided by German Pool (effective from the date of purchase). This warranty is not valid until customer registration information is received by our Service Centre within 10 days of purchase via one of the following means:

- Visit our website and register online:
www.germanpool.com/warranty - Complete all the fields on the attached Warranty Card and mail it back to our Customer Service Centre.
Please fill out the form below. This information and the original purchase invoice will be required for any repairs. Warranty will be invalid if information provided is found to be inaccurate.
- MODEL NO
- SERIAL NO
- PURCHASED FROM
- INVOICE NO
- PURCHASED DATE
- Customer who fails to present original purchase invoice will not be eligible for free warranty service.
- Customer should always follow the operating instructions. This warranty does not apply to:
- labour costs for on-site instalation, check-up, repair, replacement of parts and other transportation costs; damages caused by accidents of any kind (including material transfer and others); operating failures resulting from applying incorrect voltage, improper usage, and/or unauthorized installations or repairsS.
- This warranty is invalid if:
- the purchase invoice is modified by an unauthorized party;
- the product is used for any commercial or industrial purposes; – the product is repaired or modified by unauthorized
personnel, or unauthorized parts are installed; – the serial number is modified, damaged or removed from
the product.
- German Pool wil, at its discretion, repair or replace any defective part.
- This warranty will be void if there is any transfer of Ownership from the original purchaser.
Customer Service & Repair Centre
Unit B, G/F, Sunshine Kowloon Bay Cargo Centre, 59 Tai Yip Street, Kowloon
- Tel:+852 2333 6249
- Fax+852 2356 9798
- Email: [email protected]
© All rights reserved. Copying, reproducing or using the contents of this manual is not allowed without prior authorization from German Pool, violators will be prosecuted.


















