
BOXI EB80 Electro Pneumatic Manifold Base
Instruction Manual
EB 80 BOXI
BOXI EB80 Electro Pneumatic Manifold Base
The BOXI EB 80 is a 4-position electro-pneumatic manifold base for EB80 valves, available in 2 configurations, with 4 or 8 controls for solenoid pilots. Up to 4 valves with one solenoid pilot can be installed on the manifold base with 4 controls, and up to 4 valves with one or two solenoid pilots can be installed on the manifold base with 8 controls.
INSTALLATION AND WIRING CONNECTION
CONNECTING UP THE MULTI-POLE ELECTRICAL CONNECTION
The solenoid valves of the island are powered and controlled via a D-Sub 9-pin connector with up to 8 solenoid pilots.
Only PNP pin configuration is allowed. There is no need for an auxiliary power supply, and control electronics can be actuated by any of the solenoid pilot commands. The power supply voltage can range from 12 to 24 VDC. Each control system output must supply the amount of power required to actuate the solenoid pilot. The control system output current must be at least 500 mA.
CONNECTOR D-Sub 9 PIN PRE-WIRED
![]() | ![]() |
| Positioned contactor electric | Colori conductor correspondent Cavo Metal Work connector IP40 | Colori conductor correspondent (DIN 47100) connector IP65 | Fuzion | Base 4 position | Base 8 position |
| 1 | Verde/Nero | Bianco | Out 1 + VDC | Elettropilota 14 volvuli 1 | Elettropilota 14 valvular 1 |
| 2 | Bianco | Marron | Out 2 + VDC | Elettropilota 14 volvuli 2 | Elettropilota 12 valvular 1 |
| 3 | Blu/Nero | Verde | Out 3 + VDC | Elettropilota 14 valvular 3 | Elettropilota 14 valvular 2 |
| 4 | Blu | Gallo | Out 4 + VDC | Elettropilota 14 volvuli 4 | Elettropilota 12 valvular 2 |
| 5 | Gallo/Nero | Giglio | Out 5 + VDC | / | Elettropilota 14 valvular 3 |
| 6 | Gallo | Rosa | Out 6 + VDC | / | Elettropilota 12 valvular 3 |
| 7 | Rosso/Nero | Blu | Out 7 + VDC | / | Elettropilota 14 valvular 4 |
| 8 | Verde | Rosso | Out 8 + VDC | / | Elettropilota 12 valvular 4 |
| 9 | Bianco/Nero | Nero | COM OVDC | Commune | Commune |
WARNING!
Power off the system before plugging or unplugging the connector (risk of functional damage).
Use fully assembled valve units only.
Only use power packs complying with IEC 742/EN60742/VDE0551 with at least 4kV insulation resistance (PELV).
Earth the module using the connection identified with PE (see grounding connection).
Failure to earth the system properly may cause malfunctions and serious damage in the event of electrostatic discharge.
SUPPLY VOLTAGE
The system is designed to operate with wide power ratings, ranging from 12VDC -10% to 24VDC +30%, i.e. with a minimum voltage rating of 10.8VDC and a maximum of 31.2VDC.
WARNING!
Voltage greater than 32VDC will damage the system irreparably.
INPUT CURRENT
Solenoid valves are controlled via an electronic board equipped with a microprocessor.
In order to ensure safe operation of the valve and reduce energy consumption, a “speed-up” control is provided, i.e. 3W is supplied to solenoid pilot for 15 milliseconds and then power is gradually reduced to 0.25W.
The microprocessor regulates, via a PWM control, the current in the coil by compensating for any voltage variation.
PROTECTIONS AND DIAGNOSTICS
The island is protected against overload and polarity inversion.
In the presence of a short-circuit, the output command causes an irrevocable damage to the electronic board.
The overload or the command of a discontinued or failed control of a solenoid pilot is indicated by the flashing of the ERR red. The permanent alarms stay on as long as a command remains active.
If the supply voltage is out of range, the fault is indicated by the steady activation of the ERR red LED light.
The valves continue to be operated, but correct operation is not guaranteed.
| Pilots | Error | Meaning |
| OFF | OFF | The output is not controlled. |
| ON (green) | OFF | The output is active and works properly. |
| ON (green) | RED (Fleshing TON 0.1 sec T OFF I sec) | Solenoid pilot interrupted or missing (false valve or valve with solenoid pilot installed on a base for two solenoid pilots). |
| OFF | RED (Flashing I ON 0.4 sec T OFF 2 sec) | Solenoid pilot or base output short-circuited. |
| ON (green) | ON (red) | Supply voltage less than 10.8VDC or greater to 31 .2VDC IMPORTANT! Voltage greater than 32VDC will damage the system irreparably. |
GROUNDING CONNECTION

TYPE OF DATA IN THE BASES

= only one electrical control for each position. Can only be used with valves with one solenoid pilot, types V, J, G and R. If you use a N dummy or Y bypass valve, it is occupied an electric position.
= 2 electrical controls for each position. It can be used for all types of valves. If you use a V, G, J or R type valves (with only one solenoid pilot), N dummy or Y bypass valve, both electrical positions get occupied.
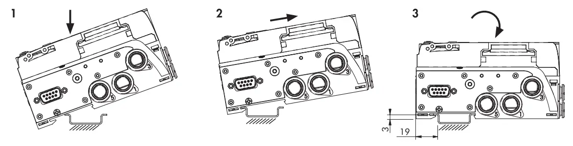
FIXING OPTIONS
Fixing on a DIN bar: fixing on a DIN bar in the sequence indicated.

Fixing by means of brackets: the 3 brackets are already included in each EB 80 BOXI pack. Push them firmly into the appropriate seats on the base up to the “click”.
EB 80 BOXI IO-Link DIAGRAM


http://qr.w69b.com/g/mHk1IgPra
www.metalwork.eu
M0060421 IT_EN – IM04 – 03/2022

















