Multimic MLD-40 Mini AC Leakage Current Clamp Indicator

Thank you very much for selecting our model MLD-40 Mini AC Leakage Current Clamp Indicator. Before use the instrument, read this instruction manual completely and familiarize yourself thoroughly with all functions. Keep this instruction manual carefully to take out whenever you need.
MULTI MEASURING INSTRUMENTS CO.,LTD. Akihabara Murai Bldg. 7F, 1-26 Kanda Sakuma-cho, Chiyoda-ku, Tokyo, Japan, 101-0025 TEL : +81-3-3251-7013 FAX : +81-3-3253-4278 Home Page : http://www.mutimic.com/ E-mail: [email protected]
SAFETY SUMMARY
- To use this instrument safely, read this “SAFETY SUMMARY” carefully and apply the instrument correctly.
- The CAUTIONs and WARNINGs which appear on the following pages are stated to prevent the operator & other people from the dangers and their properties from the damages beforehand.
WARNING: This symbol indicates the contents “Possibilities of the death or the serious wound can be supposed” caused by misoperation.
OPERATION ENVIRONMENT
CAUTION
- Do not use or storage this instrument under the condition of direct rays of the sun high temperature & humidity and or condensation, as it may cause the deformation and or the isolation defect of the instrument.
- Do not use this instrument in an environment influenced by acids, alkalis, organic solutions. corrosive gas, etc.
- Do not use or storage this instrument where the mechanical vibration can be directly transmitted, as it may cause defect of the instrument.
- Do not use this instrument nearby the appliances which generate strong magnetic field and or electric field, as it may cause mis-movement of the instrument.
- This instrument does not have the water / dust-proof structure. Do not use this instrument in an environment with a lot of dust and drops of water, as it may cause defect of the instrument.
OPERATION CONDITION & CONNECTION
POSSIBLE ELECTRICAL SHOCK:
- This instrument is for the use of low voltage circuit. Do not make measurements of power lines carrying more than AC 600V.Before use, check and confirm the voltage of circuit to be measured.
- Apply only the coated cables and do not clamp bare cables.
- Do not handle the instrument in the rain, a humid place, with a drop of water and or with wet hands.
- Do not use the instrument if the CT or CT cases are damaged and if something is wrong with the CT cables.
- Do not disassemble this instrument.
GENERAL
It can be attached to each circuit such as a distribution board to detect leakage of 15mA or more and to display and hold the LED.
SPECIFICATIONS
- Inside Diameter of CT:φ40mm
- Setting value : AC 15mA
- Accuracy:±5%for AC 15mA in 23℃±5℃ 80%RH or less (50/60Hz)
- Limitation of Voltage Circuit: less than AC 600V (insulated conductor)
- At the time of detection:The LED will blink when the detection leakage current exceeds the setting value. By pressing the reset switch, the blinking of the operation lamp can be reset.
- Sampling rate: 1 times/20ms
- Operating Temperature : 0~40℃, less than 80%RH ( non-condensing)
- Storage Temperature : -10~60℃, less than 70%RH ( non-condensing)
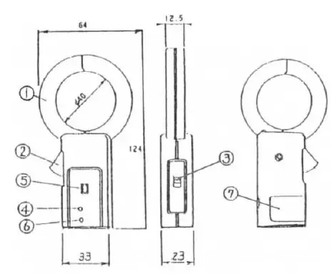
- Dimension & Weight 64(W)x124(H)x23(D)mm, 125g
- Power supply: 1.5V(LR-44 or SR-44) battery×2. The red LED lights up when the operating voltage is below
- Standard Accessories: Soft case, Batteries, Instruction manual
NAME OF PART & EXPLANATION
- ZCT(Jaw)
- Jaw opening lever
- Power switch
- Operation lamp
- Reset switch
- Battery voltage low indicator LED lamp (Red)
- Battery cover
CAUTION
- Current measurement generated heat when an overcurrent is applied to the ZCT and can break this instrument. Do not apply more than 20A to this instrument.
- This instrument is a precision instrument. If place mechanical stress on the tip ZCT, it will break down.
OPERATION PROCEDURE
Battery installation (Replacement of batteries)
Turn the power switch to “OFF”, prior to installing batteries. To install the batteries, remove the battery cover located on the unit back. Insert the two LR-44 or SR-44 into the battery case making sure that proper polarity is observed. Always replace both batteries at the same time. If the difference between the voltages of the batteries is big, the measurement error may be caused.
When replacing with a new battery, replaces both batteries at the same time.
POSSIBLE ELECTRICAL SHOCK OR ACCIDENT
- If removes the battery case, be sure to put it back. Never make measurements with the battery case removed as it is dangerous.
How to use
- Turn on the power switch.
- Open the clamp part, insert the all electrical circuit wires you want to measure at once, and close the clamp part completely.
- If the operation lamp blinks during clamping, press the reset switch and turn off the operation lamp.
- If a current exceeding 15mA flows, the operation lamp blinks and is held.
- Be sure to turn off the power switch after the measurement is completed.
CAUTION
If the battery voltage low indicator LED lamp lights up during use, the battery is exhausted and the operating voltage is below the operating voltage. Immediately replace the battery with a new one.




















