Multimic FCM-400 Flexible AC/DC Clamp Meter Instruction Manual
Thank you very much for selecting our model FCM-400 Flexible-clamp AC/DC Current Meter.
Before using your new instrument, read this instruction manual carefully and familiarize yourself thoroughly with all functions. Keep this instruction manual closely to take out whenever you need.
SAFETY SUMMARY
- To use this instrument safely, read this “SAFETY SUMMARY” carefully and apply the instrument correctly.
The CAUTIONs and WARNINGs which are shown on the following pages are stated to prevent the operator & other people from the dangers and their properties from the damages beforehand.
WARNING: This symbol indicates the contents “Possibilities of the death or the serious wound can be supposed” caused from mis-operations.
CAUTION: This symbol indicates the contents “Possibilities of the injury or only the material damage can be supposed” caused from mis- operations.
WARNING
POSSIBLE ELECTRICAL SHOCK
- This instrument is for the use of low voltage circuit. Do not make measurements of power lines of carrying more than AC 500V. Before use, check and confirm the voltage of circuit to be measured.
- Apply only the coated cables and do not clamp the bare cables.
POSSIBLE ELECTRICAL SHOCK OR ACCIDENT
- Do not handle the instrument in the rain, at humid place, with a drop of water and or with wet hands.
- Do not use the instrument if the flexible CT is damaged. If the battery cover is off, do not operate this instrument.
- Replace the batteries when connecting the clamp to no circuit etc…
POSSIBLE INSTRUMENT DAMAGE
- Do not disassemble this instrument.
- Do not twist, bend and or pull the flexible CT unnecessarily. It may cause quality deterioration and or breakage.
GENERAL
This instrument uses hall element which can be bended or stretched freely to some extent. The clamp meter has excellent usability that can clamp without being affected by shape of cables, busbars or earthing.
CAUTION BEFORE USE
After opening the box, check the appearance of instrument and see whether standard accessories are contained. If you found any damage or shortage, contact your sales agent or directly to us.
Accessories
- AA Size Battery(LR6): 6 pcs.
- Instruction Manual: 1 pcs.
- Box Case: 1 pcs.
SPECIFICATIONS
CURRENT DETECTION SENSOR (FLEXIBLE CT)
- Method: Hall Element Split-core Type
- Inside Diameter: About Φ450mm (total length 1450mm)
- Withstanding voltage: AC2200V/1 minute
- Length of Lead Wire: Approx. 2m between CT and Display Unit
MEASURING PART
- Measuring function: AC and DC Current
- Measuring method: Clamp-type CT
- Measuring range: AC/DC 3A/30A/300A (DC & 50Hz/60Hz)
- Change of range: 3 range manual by rotary switch
- Method of Changing AC Current: RMS detection
- A/D conversion: Dual integration mode
- Sampling rate: 2 times/sec.
- Display: LCD, 3200 count with annunciator
- Over range indication: “OL” mark on LCD
- Data hold indication: “DH” mark on LCD
- Indication of Low voltage battery: mark appears when the voltage is low for operating.
- Data hold function: Push the button and 「DH」 appears on display to hold the data.
- DC Current 0 (Zero) set: For DC current、push 0 SET button so that offset value will set to be 0, then take measurement.
- Auto power off: Approx. 10 minutes after power on and can power on again by setting range switch to off once. In case of using recorder cable, this function is cancelled.
GENERAL SPECIFICATIONS
- Circuit voltage: less than AC 500V
- Operating temperature: 0~40℃, < 80%RH (non-condensing)
- Storage temperature: -10~60℃, < 70%RH (non-condensing)
- Withstanding voltage: AC 2200V/1 minute
- Power Supply: Battery (LR6/ AA) x6pcs
- Consumption current: Approx. 50mA (approx. 18hrs. for continuous use)
- Dimension/Weight: Display part : 159(W)×105(H)×53(D)mm, approx. 380g w/o batteries
- CT part: inside diameter 400mm, approx. 600g
- Accessories: Box Case, Batteries, Instruction Manual
ACCURACY (at 23℃±5℃, less than 80%RH) *DC &50Hz/ 60Hz)
| AC/DC CurrentRange | MeasuringRange | Resolution | Accuracy |
| 3A | 0.1A-3A | 0.001A | –±10%rdg±10dgt |
| 3M | 3A-30A | 0.01A | |
| 300A | 30A-300A | 0.1A |
*For this accuracy, place the conductor at the center of the flexible-clamp. Keep the clamp close to the pure-circle. Do not put physical pressure on the flexible clamp.
*This accuracy does not include influence of geo-magnetic effects, of surrounding-noise, of static electricity-noise or of surrounding magnetic fields. It does not consider its off-set level.
NAME OF PART & EXPLANATION

- Current Sensor: For current detection, flexible type. This instrument uses hall element which can be bended or stretched freely to some extent. NEVER bend to twisted direction.
- Range Switch: For power on/off and range selection. Power will be off automatically 10 minutes after power on. In this case, set the range switch off and change to a desired range to turn the power-on.
- AC/DC Switch: AC Current and DC Current is switched each time push the switch. Set power on to AC Current measurement and push once again to DC current measurement.
- 「D-HOLD」 Switch: By pressing this switch, “DH” mark appears on LCD and the displayed value will be held. By pressing switch once again, this function will be released.
- ”0”SET Switch: For DC current measurement, push the button so that offset value will set to be “0”, then take measurement.
- LCD Display: Showing measured value, unit and battery consumption.
- Attachment: Joint part where CT is divided, and connector cable is
attached which connects instruments body and CT. - Battery cover (Back side): By removing this cover, batteries can be replaced.
OPERATION
REPLACEMENT OF BATTERIES
- Remove the screw fixing battery cover at the rear case with (-) screwdriver or coin (turn to left) and open off battery cover.
- Replace the batteries in the correct direction of (+)(-) polarity according to the indication graved in battery compartment.
- In case of not using instrument for a long period, remove all the batteries to avoid exhaustion and leakage of batteries.

WARNING
- It may cause leakage of batteries and or defect of electric circuit, if the batteries are placed at wrong polarity position.
- Do not dissolve the batteries and or throw them into the fire.
- Leaving the batteries at wrong polarity position may cause over consumption or inflammation, and the batteries will be no longer use as a result.
WARNING
POSSIBLE ELECTRICAL SHOCK OR ACCIDENT
- Do not replace the batteries under the conditions of measuring current.
- Do not operate the instrument with battery cover off.
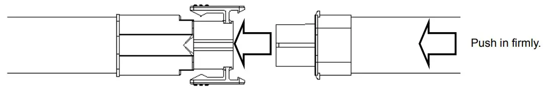
HOW TO OPEN AND CLOSE FLEXIBLE CLAMP
To open
Press both claws of Attachment⑦ simultaneously and pull out the lever lightly while releasing the claws.
To close
Join male side to female side and push them in together firmly until “snapping sound” heard “.
The flexible CT is a precision equipment. Though it can be bended or stretched freely to some extent, NEVER bend or stretch to twisted direction unnecessarily. It may be damaged.
MEASUREMENT
To use the instrument safely, strictly observe WARNING and CAUTION stated on this manual.
WARNING
POSSIBLE ELECTRICAL SHOCK
- For the safety, use this instrument in the circuit less than AC 500V. Before use, confirm circuit voltage to be measured.
POSSIBLE ELECTRICAL SHOCK OR ACCIDENT
- Do not handle the instrument in the rain, at humid place, with a drop of water and or with wet hands.
- Do not use this instrument if flexible CT and or case of display part are damaged.
- Do not operate this instrument if battery cover is off.
CAUTION
- The flexible CT is a precision equipment. It can be bended or stretched freely to some extent, NEVER bend or stretch to twisted direction unnecessarily.
- It is not unusual to take time to get “0” on display when setting the range switch off to on, changing AC /DC measurement by AC/DC switch, or push 0set switch.
- The hall element used in flexible CT is sensitive to change in temperature for its character; therefore, build-in sensor correct temperature. In case the temperature difference between instrument and CT quite large, measurement result will be affected. Keep the temperature difference between instrument and CT small when using.
MEASUREMENT OF LINE CURRENT
For AC Current Measurement (~AC)
- Set the range switch② from off to 3A (Display will appear).
- Open the attachment part⑦ of flexible CT and let the conductor to be measured into flexible CT, then close the attachment.
- Select the appropriate range by range switch② and Read the displayed value. (In case of over range, “OL” mark will be displayed).
Use Data Hold function④ at the place where display can hardly read.
For DC Current Measurement( DC)
- Set the range switch② from off to 3A(Display will appear).
- Push AC/DC switch once to DC current measurement( dislay).
- When “0” appears on display, push “0” set switch ⑤ so that offset value will set to be “0”. “0” set can be made time and time again.
- Open the attachment part⑦ of flexible CT and let the conductor to be measured into flexible CT, then close the attachment. For DC Current measurement , set the current direction to the direction indicated on label.
- Select the appropriate range by range switch② and Read the displayed value. (In case of over range, “OL” mark will be displayed).
Use Data Hold function④ at the place where display can hardly read.
MEASUREMENT OF LEAKAGE CURRENT
- Measurement of Grounding Line The operation is same manner as for line current.
- Measurement, except for Grounding Line Clamp flexible CT to the conductor, 2 wires in case of single phase and 3 wires in case of three phase en bloc.
REPAIR SERVICE
When requesting for repair service, please bring the instrument directly to the dealer where you bought. When mailing the instrument, always pack it in its original or equivalent packing materials to avoid any damage during the transportation and also put together with documents showing your name, address, phone number and defect point.
WARRANTY
This instrument is sent out from our factory after the sufficient internal inspections but if you find any defect due to the fault in our workmanship or the original parts, please contact the dealer where you bought the instrument. The warranty period is 12 months from the date of purchase and the instrument shall be repaired at free of charge, provided that we judge the cause of defect is obviously resulted from our responsibility.
GURANTEE REGULATIONS
- This instrument is warranted for the operation under normal use for 12 months from the date of purchase.
- This warranty does not cover the following defects:
a. Defect caused from the improper use and operation.
b. Defect caused from the use, operation and storage beyond the original specifications, designs and conditions.
c. Defect caused from the renovations or repairs done by someone else than us or our representatives.
d. Defect not caused from our responsibilities.
Support
MULTI MEASURING INSTRUMENTS CO.,LTD.
Akihabara Murai Bldg. 7F, 1-26 Kanda Sakuma-cho,
Chiyoda-ku, Tokyo, Japan, 101-0025
TEL: +81-3-3251-7016
FAX: +81-3-3253-4278
Web-page: http://www.multimic.com/e
E-mail: [email protected]




















