
User’s Guide
SWING-UP BIKE HOLDER

PARTS LIST
A. Main Unit

B. Rear Wheel Holder Unit

C. Screws and Wall Anchors
- ø5 x 30L screw x 4 pcs
- ø7 x 35L wall anchor x 4 pcs
* Tool Required: Phillips screw driver

NOTE
The bottom wheel must have a ground clearance of 2.54 cm (1”) when a bike is in the Swing-Up Bike Holder.
LIMITATION
Swing-Up Bike Holder is compatible with wheel/tire combinations having an overall height of 8cm (3.15”) and tire width up to 2.6”.
![]() | ![]() |
INSTALLATION
MONTAGE
Mark locations for drilling.
INSTALLING MAIN UNIT
MONTAGE DER VORDERRADHAL TERUNG
OPTION A :
Into solid wall (Nonwood) Solide Wand (kein Holz)

OPTION B :
Into solid wooden wall or structure

INSTALLING REAR WHEEL HOLDER

Hang the bike on the main unit and mark the rear wheel position for rear-wheel holder installation.
MOUNTING POSITION

OPTION A :
Into solid wall (Nonwood)

OPTION B :
Into the solid wooden wall or structure

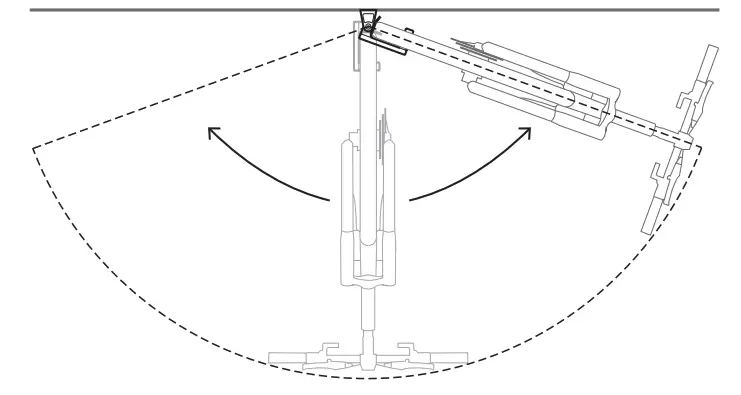
SWING LEFT OR RIGHT TO OPTIMIZE STORAGE SPACE

LEFT

RIGHT

WARNING
- DO NOT INSTALL Swing-Up Bike Holder on unsupported wall surfaces, plasterboard, or paneling. Make sure Swing-Up Bike Holder is mounted to a solid stud, beam, or wall. Be careful to avoid electrical, gas, or water pipes and conduits.
- The bottom wheel must have a ground clearance of 2.54cm (1”) when a bike is in the Swing-Up Bike Holder.
- Inspect the Swing-Up Bike Holder installation carefully before hanging a bike.
Failure to check the mounting securely can result in possible bodily harm and bicycle damage. - When storing a bike, ensure both wheels are properly inserted into their respective holders. Grasp your bike and carefully swing it to the side to avoid damaging the wall or bike. In order to prevent damage to the bike or wall, check for interference by carefully moving the bike from side to side to determine where contact with the wall is made. This should be checked with the crank rotated in different positions. Decide if you need to install appropriate wall protection to prevent damage. Topeak is not responsible for any damage that may occur when using the Swing-Up Bike Holder.
- Swing-Up Bike Holder is compatible with wheel/tire combinations having an overall height of 8cm (3.1”) or less and tire width up to 2.6”.
- Maximum weight capacity: 16kg (35lb)
WARRANTY
2-year warranty against manufacturer defects only.
Warranty Claim Requirements
To obtain warranty service, you must be the original owner and provide proof of purchase. Items returned without a sales receipt will assume that the warranty begins on the date of manufacture. All warranties will be void if the product is damaged due to user crash, abuse, system alteration, modification, or used in any way not intended as described in this manual.
* The specifications and design are subject to change without notice.
Please contact your Topeak dealer with any questions. For USA customer service, call: 1-800-250-3068
M-TW015 ML 2022/02




















