Multimic HCL-5000+ Digital Clamp Tester

Thank you very much for selecting our digital clamp tester model HCL-5000D for AC line current in a Hi voltage circuit.
This model is complex instrument and employ a very reliable mechanical/electronic design. Before you use your new instrument, read this instruction manual completely and familiarize yourself thoroughly with all functions and keep this instruction manual carefully to take out whenever you need.
SAFETY SUMMARY
- To use this instrument safely, read this “SAFETY SUMMARY” carefully and apply the instrument correctly.
- The CAUTIONs and WARNINGs which appear on the following pages are stated to prevent the operator & other people from the dangers and their properties from the damages beforehand.
WARNING:
This symbol indicates the contents “Possibilities of the death or the serious wound can be supposed” caused from misoperation.
CAUTION:
This symbol indicates the contents “Possibilities of the injury oronly the material damage can be supposed” caused from mis- operations.
WARNING
POSSIBLE ELECTRICAL SHOCK
- When using this instrument in the circuit more than AC 1000V, operate very carefully (always wear the rubber gloves).
- Apply only the coated cables and do not clamp the bare cables.
- Do not handle the instrument in the rain, at humid place, with a drop of water and or with wet hands.
- Do not use the instrument if the CT case, instrument body and or rubber handle cover are damaged. Replace the rubber handle cover to new one, if it is damaged.
- Do not disassemble this instrument
- High voltage circuit is very dangerous and people without expertise should not operate the instrument.
SPECIFICATIONS
| Measuring Method | :Dual integration mode |
| Measuring Function | :AC Current by clamping CT |
| Display | :3.5 digit LCD, max. 1999 count |
| Measuring Range | : 0-20A/500A (50/60Hz), two range manual |
| Accuracy | :23oC±5 oC , 80%RH or less |
| Range Resolution Accuracy 20A 0.01A ±2%rdg±5dgt 200A 0.1A ±2%rdg±5dgt 600A 1A 0~400A ±2%rdg±5dgt 401A~500A ±2.5%rdg±5dgt | |
| Jaw Opening Capability: | :φ33mm |
| Overload Indication: | :Blanking of all digits except MSD 1 |
| Data Hold | :“DH” mark on the display for holding measured data |
| Low Battery Indication | :“B” mark on LCD readout |
| Sampling Auto Power Off | :2 times/second :approx. 5 minutes after power on |
| Operation Circuit Voltage | :AC 80V – 7000V |
| Insulation Resistance | :10M ohm or more (between handle and CT core) |
| Withstanding Voltage | :AC 14KV, 1 minute (between handle and CT core) |
| Power Supply | :UM-3 (1.5V) x 2 pcs. |
| Operating Temperature Storage Temperature | :0~40℃ less than 80%RH without condensation :-10℃~60℃ less than 80%RH without condensation |
| Dimension Weight | : 76(W)×311(H)×42(D)mm :Approx. 285 g (including batteries) |
| Accessories | Carrying case…………. 1 Instruction Manual….. 1 Batteries………………… 2 |
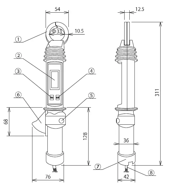
DIMENSION & PANEL

- Clamp CT: CT sensor detecting the current by clamping method.
- Open/Close Guide for CT: Clamping/releasing CT to or from the conductor by pushing /drawing this part.
- Power Switch: Switch for power on and off.
- Range Switch: Switch for range selection of 2000mA/20A
- Display: LCD readout the measurement value, “B” battery sign and“DH” data hold the mark.
- Data Hold Switch: Push this switch to hold the data and the “DH” mark will appear on the display. Push once again to release.
- Battery Cover:: Remove this cover to install or replace batteries
- Grip: Grip part for handheld.
OPERATION
PREPARATION BEFORE MEASUREMENT
Battery Installment:
- Confirm the power switch OFF.
- The battery cover is fixed by screw and turn it to the left for removing cover.
- Install the batteries according to the indication of battery case (do not mistake to place “+” and “-” polarity).
- After the replacement, put the battery cover to the original position firmly.
- 「B」sign will appear on the display when batteries are exhausted and get less than operation voltage. Replace to new batteries immediately.
- Do not use the batteries mixed new one and once used and or different kind ones.
WARNING
POSSIBLE ELECTRICAL SHOCK OR ACCIDENT
- Do not replace the batteries under the conditions of measuring current or voltage
- Do not operate the instrument with the battery cover off.
CAUTION
When not using the instrument for a long period, remove the batteries and keep separately. The batteries may leak and may cause damage to the instrument.
OPERATION METHOD
- Power switch on and select the appropriate range to be measured by range select switch.
- Push up CT guide to the conductor to be measured for clamping CT.
- Push Data Hold switch to hold measured value.
- After measurement, pull out CT from the conductor and read the measured value.
- Set power switch off after finished operation.
When “B” mark appears on LCD during measurement, replace the batteries immediately, as the batteries are consumed and get lower than operation voltage.
CAUTION
POSSIBLE DAMAGE OF INSTRUMENT
- Do not apply the current more than 20A to the instrument, as it may cause damage and heating by giving excess big current to CT.
- This model is high precision measuring instrument. It may cause defect, if CT part receives heavy load.
REPAIR SERVICE
When requesting for repair service, please bring the instrument directly to the dealer where you bought.
When mailing the instrument, always pack it in its original or equivalent packing materials to avoid any damage during the transportation and also put together with documents showing your name, address, phone number and defect point.
WARRANTY
This instrument is sent out from our factory after sufficient internal inspections but if you find any defect due to the fault in our workmanship or the original parts, Please contact the dealer where you bought the instrument.
The warranty period is 12 months from the date of purchase and the instrument shall be repaired at free of charge, provided that we judge the cause of defect is obviously resulted from our responsibility.
GUARANTEED REGULATIONS
- This instrument is warranted for the operation under normal use for 12 months from the date of purchase.
- . This warranty does not cover the following defects:
- Defect caused from the improper use and operation.
- Defect caused from the use, operation and storage beyond the original specifications, designs and conditions.
- Defects caused from the renovations or repairs done by someone else than us or our representatives.
- Defect not caused from our responsibilities.


















