LIGHTING THE WAY FOR SIXTY YEARS
ASSEMBLY INSTRUCTION
MODEL #POP-A5073-MK
POP-A5073-MK Poppy Three Light Ceiling Mount

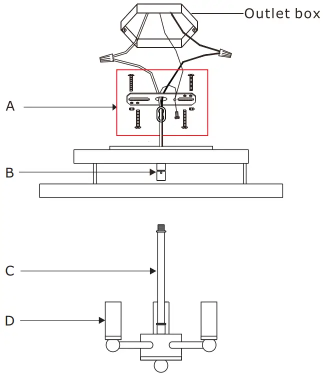
DETAILED ILLUSTRATION

![]()
All electrical components must be installed by a licensed electrician in accordance with the National Electric Code and the appropriate local electrical codes.
![]()
You will need 3 -Candelabra Base Bulb 40 Watts Recommended 60 Watts Max.
USE LED BULBS FOR EXTENDED USE THIS FIXURE IS DAMP RATED
How to Install
- Place the candle sleeve onto the socket, and insert recommended bulb (not included).
- Feed wires through swivel/canopy.
- Attach the canopy/swivel onto the stem.
- Dress the bead strands as illustrated.
Bead Sets

A.6 Sets.
(5)14mm + (3)20mm + (2)26mm
B.6 Sets.
(6)14mm + (5)20mm + (2)26mm
+ (1)(20-40)mm
+ (1)(20-40)mm
C.6 Sets.
(7)14mm + (4)20mm + (1)26mm + (1)(20-40)mm
D.5 Sets.
(5)14mm + (3)20mm + (1)26mm + (1)(20-40)mm
E.6 Sets.
(3)14mm + (2)20mm + (1)26mm + (1)(20-40)mm
F.6 Sets.
(3)14mm + (1)20mm + (1)(20-40)mm
G.6 Sets.
(4)14mm + (3)20mm + (1)26mm + (1)(20-40)mm
H.5 Sets.
(3)14mm + (2)20mm + (1)(20-40)mm
I.5 Sets.
(2)14mm + (3)20mm + (1)26mm + (1)(20-40)mm
J.5 Sets.
(2)14mm + (2)20mm + (1)26mm + (1)(20-40)mm
WARNING: This product can expose you to Lead, which is known to the State of California to cause cancer and/or birth defects or reproductive harm. For more information go to www.P65Warnings.ca.gov.
PART NUMBER

A. (1) – Mounting Hardware
B. (1) – Swivel
C. (1) – Center Stem
D. (3) – Candle Sleeve(W0.87″, H1.97″) #XRE5073MKCDL1.97IN


















