User’s Guide
Dual UHF Handheld Dynamic
Wireless Microphone
MODEL: WM906

Before operating this product, please read these instructions.
Introduction
Thank you for purchasing our Dual 900 MHz Professional UHF (Ultra High Frequency) Wireless Microphones. This is a PLL (Phase Locked Loop) synthesized wireless microphone set utilizing a 16 Bit Digital Pilot ID that quickly pairs frequencies and prevents drifting between multiple transmitters (microphones) and receivers. You can have multiple dual-microphone sets in one location without them walking on each other or interference. Great wireless microphones for orchestra, band, or stage theatrical performances.
Please read this guide carefully to get maximum performance and functionality.
Items in this package
![]() | WM906 Microphones |
![]() | Receiver |
![]() | User’s Guide x 1 |
![]() | USB Charging Cables |
![]() | Antiskid sleeves |
FCC Statements
This device complies with part 15 of the FCC Rules. Operation is subject to the following two conditions:
- This device may not cause harmful interference.
- This device must accept any interference received, including interference that may cause undesired operation.
Notice: Changes or modifications not expressly approved by the party responsible for compliance could void the user’s authority to operate the equipment.
Quick Start Guide:
A. Microphone – Charging and Use
Each microphone has a built-in Rechargeable Lithium-ion Battery on the bottom.
Make sure the battery is fully charged for about 1 hour with the provided USB charging cables. A fully charged receiver allows for up to 6 hours of normal use.
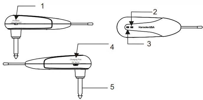
B. Receiver – Charging and Use
- This Receiver has a built-in Rechargeable Lithium-ion Battery. Make sure the battery is fully charged for about 1 hour with the provided USB charging cable. A fully charged receiver allows for up to 6 hours of normal use.

Insert the 6.3 mm (1/4 inch) male end into your microphone jack on your karaoke machine, amplifier, or electrical component.
- Slide the On/Off Switch at the side of the Receiver to on. The power indicators will light up.
When singing, adjust your equipment’s microphone volume level to a comfortable level. If you experience feedback from your equipment, lower microphone volume or move the microphone away from the speaker(s).
Index
A. Transmitter ( Wireless Microphone)

| 1. Transmitter (Microphone) 2. Power Indicator 3. Power On/Off 4. Volume Up | 5. Volume Down 6. Echo Up 7. Echo Down 8. Channel Selector 9. Pairing |
1. Microphone grill protects inner microphone cartridge from potential damage. Take care when handling the microphone to prevent physical damage. DO NOT allow the microphone to drop on the floor. Any sudden shock can damage delicate components.
2. Power indicator: When power is on, the indicator is up (blue or green).
3. POWER ON/OFF: Press and hold to switch the microphone ON and OFF
4/5.VOL+/VOL: Increase or Decrease microphone volume.
6/7. ECHO+/ECHO-: Increase or Decrease an ECHO effect on the singer’s voice.
8. CHANNEL: If you encounter receiving interference from the receiver (from other than an operating TV station or other devices on the same frequency) you may need to change a channel. (There are 10 channels preset in the microphone, they go circle when you press the channel button).
9. PAIRING: If there is no connection between the microphone and receiver.
Receiving light (on the receiver) does not light up, you’ll need to repair them.
1) Turn off the receiver;
2) Turn on the microphone;
3) Press and hold the PAIRING button until the light flashes;
4) Turn on the receiver;
5) Automatically paired.
B. Receiver
This Receiver has a built-in Rechargeable Lithium-ion Battery. Make sure the battery is fully charged for about 1 hour with the provided USB charging cable. A fully charged receiver allows for up to 6 hours of usage.
- Power On/Off – slide the On/Off Switch at the side of the Receiver.
- Power indicator: When power is on, the indicator is up (red), when it is paired, the light turns off. When the battery goes low, the red light blinks. When in charging, the light goes red. When the battery is fully charged, the light turns off.
- Receiving light: When paired, the light is up(green or blue preset by factory).
- The micro USB port is used to charge the internal battery.
- The signal output stud is a standard 6.3mm plug that will match almost any karaoke or amplifier equipment.

UHF Frequency Channels
This microphone has a total of 20 selectable frequency channels(10 for each microphone). This allows the user to select a different frequency if by chance there is an external frequency issue causing problems.
Care and Safety for Your Microphone
- Do not allow microphones or receivers to get wet.
- Do not allow microphones to drop on the floor, bump against hard objects, or get exposed to vibrations.
- Keep away from heat sources like direct sunlight, radiators, appliances, amplifiers, etc.
- Avoid dirt, dust, and contaminants.
Remove batteries from microphone bodies when not being used to prevent - damage from potential battery leakage.
- Do not throw batteries into a fire, garbage bin, or domestic rubbish. Dispose of properly per your local ordinances.
Product Specifications:
A. Transmitter ( Wireless Microphone)
Frequency Range: 902MHz ~ 928Mhz
FCC-ID No. : 2APNKWM900
Modulation System: DQPSK
Frequency Response : 60Hz ~ 16KHz
Transmitted Power: 10 dBm
Battery Type: Lithium-Ion Rechargeable: 1200 mAh
B. Receiver
Frequency Range: 902MHz ~ 928Mhz
Receiving Sensitivity : – 105 dBm
Battery Type: Lithium-Ion Rechargeable: 650 mAh
Working Current : Current : <100mA
Trouble Shooting
| SYMPTOM | PROBLEM | SOLUTION |
| No sound | The microphone or receiver is OFF | Turn ON both of them |
| Volume setting too low on Amplifier | Adjust the volume up on the amplifier or Karaoke machine | |
| Microphone and receiver not paired | Re-pair them (refer to index No. 9) | |
| Batter is low | Charge both microphone and receiver. | |
| Sound interference | interference comes from another wireless microphone, TV, Microwave oven radio … etc. | Change to another frequency |

KARAOKE USA
12253 62ND ST N
STE B
LARGO FL 33773
TECH SUPPORT: WWW.KARAOKEUSA.COM/CS
DOWNLOAD SONGS: WWW.SINGTHEHITS.COM
SALES DEPARTMENT: [email protected]
Printed in China

























